
WEEE Number; 80133970
INSTALLATION INSTRUCTION
CCT BULKHEAD

TECHNICAL DATA
MODEL | WATTS | LUMENS | BEAM ANGLE | LONG LIFE | BODY TYPE | CRI | INPUT POWER | DIMENSION | MICROWAVE SENSOR | EMERGENCY |
| VT-14 | 14W | 1400 LM | 120 ° | 30,000 HOURS | PC | >80 | AC: 200-240V, 50/60Hz | 315x75mm | NO | NO |
| VT-14SS | 14W | 1400 LM | 120 ° | 30,000 HOURS | PC | >80 | AC: 200-240V, 50/60Hz | 315x75mm | YES | NO |
| VT-24 | 20W | 1850 LM | 120 ° | 30,000 HOURS | PC | >80 | AC: 200-240V, 50/60Hz | 380x78mm | NO | NO |
| VT-24SS | 20W | 1850 LM | 120 ° | 30,000 HOURS | PC | >80 | AC: 200-240V, 50/60Hz | 380x78mm | YES | NO |
INTRODUCTION & WARRANTY
Thank you for selecting and buying the V-TAC product. V-TAC will serve you the best. Please read these instructions carefully before starting the installation and keep this manual handy for future reference. If you have any other queries, please contact our dealer or local vendor from whom you have purchased the product. They are trained and ready to serve you at your best. The warranty is valid for 5 years from the date of purchase. The warranty does not apply to damage caused by incorrect installation or abnormal wear and ear. The company gives no warranty against damage to any surface due to incorrect removal and installation of the product. The products are suitable for 10-12 Hours of Daily operation. Usage of product for 24 hours a day would void the warranty. This product is warranted for manufacturing defects only.
WARNING!
- Please make sure to turn off the power before starting the installation.
- Installation must be performed by a qualified person.
- The light source of this luminaire is not replaceable, when the light source reaches its end of life the whole luminaire should be replaced.
- If the external flexible cable or cord of this luminaire is damaged, it shall be exclusively replaced by the manufacturer or his service agent or a similar qualified person in order to avoid a hazard.
This marking indicates that this product should not be disposed of with other household wastes.
Caution, risk of electric shock.
![]()

MULTI-LANGUAGE MANUAL QR CODE
Please scan the QR code to access the manual in multiple languages.
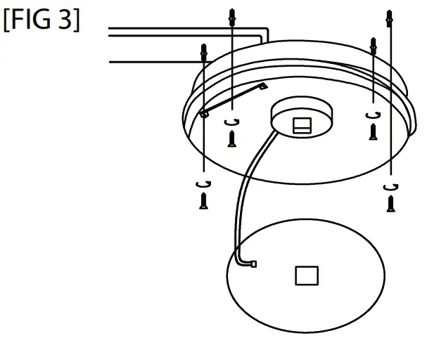
INSTALLATION INSTRUCITONS
STEP 1
Switch OFF the power before starting the installation.

STEP 2
Remove the cover by twisting the diffuser anti-clockwise and set aside. Carefully remove the LED tray and unplug it from the LED driver, and set it aside.

STEP 3
Hold the product in place, mark & drill the holes into the wall and nail the alligator into the hole. Make the AC Power connection through the waterproof rubber cap.
Connect the wires as shown in the wiring diagram.

Step 4
Install the LED tray on the fitting. Re-install the cover by twisting the diffuser clockwise. Ensure the fitting is properly installed.

STEP 5
Switch ON the power to test the light.

WIRING DIAGRAM

COLOR CHANGING INSTRUCTION

IN CASE OF ANY QUERY/ISSUE WITH THE PRODUCT, PLEASE REACH OUT TO US AT: [email protected] FOR MORE PRODUCTS RANGE, INQUIRIES PLEASE CONTACT OUR DISTRIBUTOR OR NEAREST DEALERS. V-TAC HOUSE, KILPATRICKROAD, SLOUGH, BERKSHIRE, SL1 6BW, UK.
SENSOR SETTINGS

Detection Area – It can be adjusted by combining DIP switches for specific application [FIG 6].
Hold Time – The time period during which the light will be ON after the last detection [FIG 7].
Daylight Threshold – Daylight sensor priors motion sensor. Set Threshold for Specific needs. If disabled, only the motion sensor will work [FIG 8].
Stand-by Period – This is the time period during which the light keeps dimming down after the last detection [FIG 9].
Stand-by dimming level – The dimming level during which the light is ON during the stand-by Period [FIG 10].
APPLICATION (Function Demo – Dimmable Control/Corridor function)
| When motion is detected, but the daylight is sufficient, the light will remain OFF.
| When motion is detected, and the daylight is insufficient, the light will be ON.
|
| After the last detection, the light will be dimmed down to a stand-by dimming level (10%, 30%).
| After a stand-by period, the light will switch OFF.
|




















