INSTALLATION INSTRUCTION
LED DESIGNER WALL LIGHT

WEEE Number: 80133970
![]()
TECHNICAL DATA:
| Model | VT-7331 |
| Watts | 20W |
| Lumens | 1700LM |
| CRI | >80 |
| PF | >0.9 |
| Beam Angle | 120° |
| Operation Temperature | -20°C to +45°C |
| Input Power | AC:220-240V |
| Dimension | 330x380x230mm |
INTRODUCTION & WARRANTY
Thank you for selecting and buying the V-TAC product. V-TAC will serve you the best. Please read these instructions carefully before starting the installation and keep this manual handy for future reference. If you have any other queries, please contact our dealer or local vendor from whom you have purchased the product. They are trained and ready to serve you at your best. The warranty is valid for 3 years from the date of purchase. The warranty does not apply to damage caused by incorrect installation or abnormal wear and tear. The company gives no warranty against damage to any surface due to incorrect removal and installa-tion of the product. The products are suitable for 10-12 Hours of Daily operation. Usage of product for 24 hours a day would void the warranty. This product is warranted for manufacturing defects only.
WARNING
- Please make sure to turn off the power before starting the installation.
- The light source of this luminaire is not replaceable, when the light source reaches its end of life the whole luminaire should be replaced.
- If the external flexible cable or cord of this luminaire is damaged, it shall be exclusively replaced by the manufacturer or his service agent or a similar qualified person in order to avoid a hazard.
- Installation must be performed by a certified person.
- For Indoor use only
- Change the shade once it was broken.
- Cut off the power and don’t change the bulbs until the heat cold down.
- Use the bulbs with spesified parameters for better performance and longer life.
This marking indicates that this product should not be disposed of with other household wastes.
Caution, risk of electric shock.
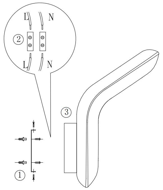
INSTALLATION DIAGRAM:

INSTALLATION INSTRUCTION
- Switch off the power before starting the installation.
- Fix the plastic part to the wall.
- Fix the wall plate to the plastic part
- Connect the wire according to the illustrations
- Fix the lamp to the wall plate
IN CASE OF ANY QUERY/ISSUE WITH THE PRODUCT, PLEASE REACH OUT TO US AT: [email protected] FOR MORE PRODUCTS RANGE, INQUIRY PLEASE CONTACT OUR DISTRIBUTOR OR NEAREST DEALERS. V-TAC EUROPE LTD. BULGARIA, PLOVDIV 4000, BUL.L.KARAVELOW 9B
No. | Parameter | Technical Guideline |
| 1 | Operation frequency | 2436.20MHZ |
| 2 | Frequency band | 2436.20 +/- 0.03 MHZ |
| 3 | Transmit power | 10 mW |
| 4 | Working voltage | 1.8~3.6 VDC (Normal: 2X1.5VDC, AAA alkaline battery) |
| 5 | Modulation mode | MSK |
| 6 | Transmit speed | 250Khz |
| 7 | Number of channels | 1 |
| 8 | Mode of operation | Simplex |
| 9 | Operation temperature | +5C-+45C |
| 10 | Cover color | WHITE |
| 11 | Operational lifetime | >25,000 Times |
| 12 | Noise level (dB) | <25db at 30cm distance |
| 13 | IP Rating | IP20 |
| 14 | Class Type | Class 3 |
| 15 | Dimension | 14x38x130mm |
KEYS SPECIFICATION USER MANUAL:

1 – LED indicator. LED will flicker when you press any key.
2 – ON/Pair. You can light the LED lamp by short-press this key. Pair the remote controller and the LED driver by long pressing this key within power on the driver 10s.
3 – OFF/Unpair. You can close the LED lamp by short-press this key. Unpair teh remote controller and the LED driver by long-press this key within power on the driver 10s
3/6 – Brightness adjustment keys. You can increase the light brightness step by step by short-press key 3 and less the brightness step by step by short-press key 6. Long-press the keys the brightness will change continuously.
4/7 – Color temperature adjustment keys. You can increase the cold white color and less the warm white color step by step by short pressing the key 4.
Increase the warm white color and less the cold white color step by step by short press key 7. Long-press teh keys the cold or warm white color will change continuously.
NOTE:
- Long-press 2-3s, short-press less than 1s
- The LED lamps must be connecting positive poles together. The red output wires connect the positive pole, the black output wires connect the negative pole of the two channels of the LED lamp.
- Pair or unpair the remote control and the LED driver. Long-press key 2 within 10s after turning on the LED lamp until the LED in the driver’s PCB no flicker, the pair means OK. Long-press key 5 within 10s after turning on the LED lamp until the LED in the driver’s PCB no flicker, the pair means cancel.
- A LED driver (lamp) allows two remote controllers to control at most, a remote controller can control lots of LED drivers (no limit of teh numbers)


















