PWMA930IBT
Wireless BT Portable PASpeaker System
Built-in Rechargeable Battery, Wireless Microphone, 30-Pin iPod Dock, 600 Watt
User Manual
We recommend that you read this manual carefully so that you can fully take advantage of the advanced and convenient functions of the Portable PA Speaker and Microphone System. We also recommend that you keep this manual in a safe and handy place for future reference.
CAUTION
WARNING! DON’T OPEN THE MACHINE TO AVOID ELECTRIC SHOCK, PLEASE ASK FOR HELP FROM PROFESSIONAL TECHNICIANS.

SAFETY INSTRUCTION
- Read this manual carefully before using it. Retain for future reference.
- All warnings on the speaker and in the operating instructions should be adhered to.
- Do not use this apparatus near water.
- Do not block any of the ventilation openings. Install in accordance with the manufacturer’s instructions. Do not install near any heat sources such as radiators, heat registers, stoves, or other apparatus (including amplifiers) that produce heat. Do not install the speaker in an airtight location.
- Protect the power cord from being walked on or pinched particularly at plugs, convenience receptacles, and the point where they exit from the apparatus.
- Switch OFF and unplug then use a soft cloth to clean the exterior of the unit if it becomes dirty. If necessary, use a damp cloth that has been wrung out well to wipe it.
- Unplug this apparatus during lightning storms or when unused for long periods of time.
- Keep foreign objects and liquid from entering the unit to avoid a short circuit, fire, and electrical accidents.
- Place the speaker in a dry location.
- Refer all servicing to qualified service personnel. Servicing is required when the apparatus has been damaged in any way, such as power-supply cord or plug is damaged, liquid has been spilled or objects have fallen into the apparatus, the apparatus has been exposed to rain or moisture, does not operate normally, or has been dropped.
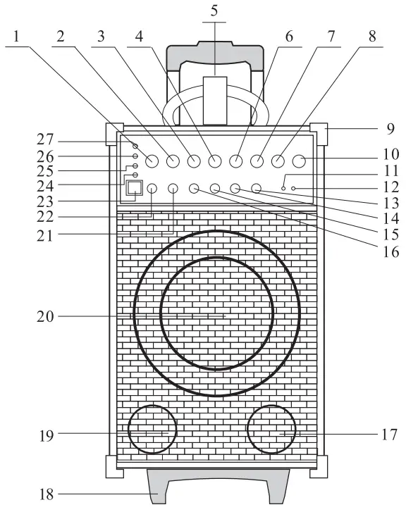
SYSTEM FUNCTION FIGURE

| 1. Wireless Mic/MIC 1 Volume Control | 10. Metal Corner | 19. Vent Hole |
| 2. MIC 2 Volume Control | 11. Wireless BT ON/OFF switch | 20. Woofer Speaker |
| 3. Guitar Volume Control | 12. Wireless BT indicator light | 21. MIC 2 Input Jack |
| 4. Audio Volume Control | 13. Audio Output Jack | 22. MIC 1 input Jack |
| 5. lpod Dock | 14. iPod/MP3 Input Jack | 23. Power Switch |
| 6. iPod/MP3 Volume Control | 15. Audio Input Jack | 24. Power Indicator |
| 7. Echo Control | 16. Guitar Input Jack | 25. Low Voltage Indicator |
| 8. Treble Control | 17. Vent Hole | 26. Charge Indicator |
| 9. Bass Control | 18. Fixed Stand For The Unit | 27. Wireless Mic RF Indicator |

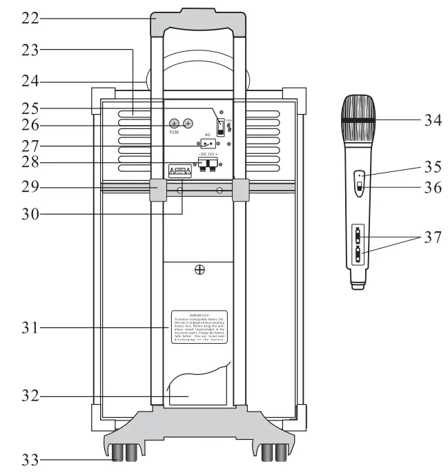
| 22. Trailer Handle | 30. Rechargeable Battery Cover |
| 23. Heating Pane | 31. Warning label |
| 24. Handle | 32. 7AH/12V Rechargeable Battery |
| 25. Voltage Selector Switch | 33. Trailer Truckle |
| 26. AC Fuse/Battery Fuse | 34. Mic Head |
| 27. 2 PIN Power Socket | 35. Handheld Mic RF Indicator |
| 28. External DC Input Jack | 36. Handheld Mic Power Switch |
| 29. Trailer Fixed Stand | 37. Handheld Mic Battery Housing |
INSTRUCTIONS
- Confirm the power
AC Power: Before the operation, please confirm the voltage is the same as the specified marked on the label. If not, the unit will be damaged.
Built-in Rechargeable Battery: Plug in the AC power when the rechargeable battery voltage is enough but use the battery directly. When the Low Voltage indicator turns yellow, it indicates the low battery, please charge it in time. When the Low Voltage indicator turns OFF, it indicates the voltage is standard now. If the unit will not be used for a long time, please charge the rechargeable battery every 2 months, 8-10 hours for each time. - Operation Instructions
• Plug the power cable into the socket and connect it with this amplifier system.
• Switch ON the amplifier. the Power Indicator comes red.
• During charging, the RECHARGE indicator turns red, when the indicator is flashing, which means the battery is almost full and turns OFF when fully charged.
• During charging, you can play music at the same time, the RECHARGE indicator will fash with the current consumption indicating the speed of charge. Charge time is in direct proportion to the volume of the music. When the battery is full, the RECHARGE
the indicator will stop flashing and turn off.
• Put two AA 1.5V batteries into the handheld microphones (bodypack transmitter), push the Power Switch to the middle, the Power Indicator will fash once, RF Indicator turns green.
• Push the handheld microphone Power Switch (bodypack transmitter) to ON position, your sound can be heard from the amplifier when speaking.
Adjust the Volume Control/Echo Control/Treble Control/Bass Control to the proper position to avoid feedback.
• If the microphone Power Indicator (bodypack transmitter) turns on at all times, it indicates a low battery, please replace the battery.
• Connect relative guitar cable with Guitar Input Jack on this system to play music. - Wired Microphone
• Two-way wired microphone input jacks are supplied for two people to use simultaneously.
• Plug Wired microphones into the jacks separately. Adjust Echo Control to get better sound.
• Adjust the volume of each microphone to make sure the sound is satisfactory.
When you turn on the unit, be sure ECHO control is set to low or there will cause sound distortion - Wireless BT Playback
You can connect your Wireless BT phone or another device to the PA speaker.
1. Turn ON the unit.
2. Press the ON/OFF switch on the front panel to turn ON Wireless BT, indicator light is lit.
4. Use your Wireless BT phone or another device to search for the Wireless BT name “PYLE SPEAKER”.
5. Select the “PYLE SPEAKER” Wireless BT name and wait for the device to pair automatically.
6. You do not need code and get connected with the unit.
7. Once paired you can play music from your Wireless BT device.
8. You can use the VOLUME/BASS/TREBLE to adjust the sound level for Wireless BT, also you can adjust the Wireless BT music sound through your own phone or another device.
NOTES: Check the volume controller both on the unit and on your phone or another device if there is no sound through the PA speaker during Wireless BT.
What’s in the Box:
- PA Speaker
- Wireless Dynamic Microphone
- 1/4” to Aux (3.5mm) Audio Cable + Adapter
- Battery Terminal Alligator Clamp Cables
- RCA Connection Cable
- Power Cable
System Features:
- Rugged & Compact Public Address Sound System
- Wireless BT Music Streaming Ability
- Built-in Rechargeable Battery & 30-Pin iPod Dock Connector
- Ability to Connect & Stream Audio From External Devices
- Sound System: 8” Full Range Stereo Speaker
- Connect up to (3) Mics Simultaneously for a Karaoke Party
- Wireless Microphone Included
- (2) 1/4” Microphone Inputs + (3) 1/4” Audio/Instrument Inputs
- (1) 1/4” Audio Output
- Ported Enclosure for Increased Bass Response
- Independent Channel Volume Controls
- Audio Conguration: Echo, Bass, and Treble Controls
- Telescoping Handle & Caster Wheels
- 35mm Speaker Stand Mount
- LED Indicator Lights
- External 12V Power DC Input Connector
- Perfect for Karaoke, Public Events, Crowd Control, etc.
Wireless BT Connectivity:
- Built-in Wireless BT Music Streaming
- Works with All of Your Favorite Devices (iPhone, Android, Smartphone, iPad, Tablet, Computer, etc.)
- Wireless BT Network Name: Pyle Speaker
- Wireless BT Version: 3.0
- Wireless BT Range: 100 Ft.
Technical Specs:
- Max Power Output: 600 Watt
- RMS Power Output: 300 Watt
- VHF Band Signal System Transmission
- System Battery Life: Approx. 3 Hours
- Wireless Mic Operation Range: 100 ft.
- SPL: 94dB (1W/M)
- All Inputs/outputs 1/4″ TS/unbalanced
- T.H.D.: <1%
- Battery Powered Wireless Mic: Requires (2) x ‘AA’ Batteries
- Power: 110/220V Switchable
- Dimensions (L x W x H): 14.7” x 10.6” x 11.2” -inches
PyleUSA.com
VISIT US ONLINE:
Have a question?
Need service or repair?
Want to leave a comment?
PyIeUSA.com/ContactUs
Questions? Issues?
We are here to help!
Phone: (1) 718-535-1800
Email: [email protected]
www.PyleUSA.com




















