PYLE Wireless BT Portable PA Speaker System User Manual
PWMA1080IBT
We recommend that you read this manual carefully so that you can fully take advantage of the advanced and convenient functions of the Portable PA Speaker and Microphone System. We also recommend that you keep this manual in a safe and handy place for future reference.
CAUTION
WARNING! DON’T OPEN THE MACHINE TO AVOID ELECTRIC SHOCK, PLEASE ASK HELP FROM PROFESSIONAL TECHNICIANS.
Caution: Risk Of Electric Shock! Do Not Open!
SAFETY INSTRUCTION
- Read this manual carefully before using. Retain for future reference.
- All warnings on the speaker and in the operating instructions should be adhered to.
- Do not use this apparatus near water.
- Do not block any of the ventilation openings. Install in accordance with the manufacturers instructions. Do not install near any heat sources such as radiators, heat registers, stoves, or other apparatus (including amplifiers) that produce heat. Do not install the speaker in an airtight location.
- Protect the power cord from being walked on or pinched particularly at plugs, convenience receptacles, and the point where they exit from the apparatus.
- Switch OFF and unplug then use a soft cloth to clean the exterior of the unit if it becomes dirty. If necessary, use a damp cloth that has been wrung out well to wipe it.
- Unplug this apparatus during lightning storms or when unused for long periods of time.
- Keep foreign objects and liquid from entering the unit to avoid a short circuit, fire and electrical accidents.
- Place the speaker in a dry location.
- Refer all servicing to qualified service personnel. Servicing is required when the apparatus has been damaged in any way, such as power-supply cord or plug is damaged, liquid has been spilled or objects have fallen into the apparatus, the apparatus has been exposed to rain or moisture , does not operate normally, or has been dropped.
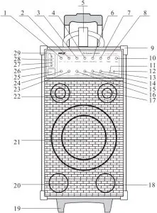
SYSTEM FUNCTION FIGURE

- Wireless Mic/MIC 1 Volume Control
- MIC 2 Volume Control
- Guitar Volume Control
- Audio Volume Control
- lpod Dock
- Ipod/MP3 Volume Control
- Echo Control
- Treble Control
- Bass Control
- Metal Corner
- Wireless BT ON/OFF switch
- Wireless BT indicator light
- Audio Output Jack
- Ipod/MP3 Input Jack
- Audio Input Iack
- Guitar Input Jack
- Mid Speaker
- Vent Hole
- Unit Fixed Stand
- Vent Hole
- Woofer Speaker
- Tweeter
- MIC 2 Input Jack
- MIC 1 Input Jack
- Power Switch
- Power Indicator
- Low Voltage Indicator
- Charge Indicator
- Wireless Mic RF Indicator
- 30. Trailer Handle
- Heating Pane
- Handle
- Audio Out
- Voltage Selector Switch
- AC Fuse/Battery Fuse
- Power line(-115V /230V)
- External DC Input Jack
- 2 PIN Power Socket
- 39. Rechargeable Battery Cover
- Warning label
- 7AH/12V Rechargeable Battery
- Trailer Truckle
- MicHead
- Handheld Mic RF Indicator
- Handheld Mic Power Switch
- Handheld Mic Battery Housing

INSTRUCTIONS
Confirm the power
AC Power: Before operation, please confirm the voltage is same as the specified marked on the label. If not, the unit will be damaged.
Built-in Rechargeable Battery: Plug-in the AC power when the rechargeable battery voltage is enough but use the battery directly. When the Low Voltage indicator turns yellow, it indicates the low battery, please charge it in time. When the Low Voltage indicator turns OFF, it indicates the voltage is standard now. If the unit will not be used for a long time, please charge the rechargeable battery every 2 months, 8-10 hours for each time.
Operation Instructions
- Plug the power cable into the socket and connect it with this amplifier system.
- Switch ON the amplifier. the Power Indicator comes red.
- During charging, RECHARGE indicator turns red, when the indicator is flashing, that means battery is almost full and turns OFF when fully charged.
- During charging, you can play music at the same time, the RECHARGE indicator will flash with the current comsuption indicating the speed of charge. Charge time is in direct proportion to the volume of music. When the battery is full, RECHARGE indicator will stop flashing and turns off.
- Put two AA 1.5V battery into handheld microphone (bodypack transmitter), push the Power Switch to the middle, the Power Indicator will flash once, RF Indicator turns green.
- Push the handheld microphone Power Switch (bodypack transmitter) to ON position, your sound can be heard from amplifier when speaking.
Adjust the Volume Control/Echo Control/Treble Control/Bass Control to proper position to avoid feedback. - If the microphone Power Indicator (bodypack transmitter) turns on at all times, it indicates the low battery, please replace the battery.
- Connect relative guitar cable with Guitar Input Jack on this system to play music.
Wired Microphone
- Two way wired microphone input jacks are supplied for two people to use simultaneously.
- Plug Wired microphones into the jacks separately. Adjust Echo Control to get better sound.
- Adjust the volume of each microphone to make sure the sound is satisfactory. When you turn on the unit, be sure ECHO control is set to low or there will cause sound distortion
Wireless BT Playback
You can connect your Wireless BT phone or other device to the PA speaker.
- Turn ON the unit.
- Press the ON/OFF switch on front panel to turn ON Wireless BT, indicator light is lit.
- Use your Wireless BT phone or other device to search for the Wireless BT name “PYLE SPEAKER”.
- Select the “PYLE SPEAKER”Wireless BT name and wait for the device to pair automatically.
- You do not need code and get connected with unit.
- Once paired you can play music from your Wireless BT device.
- You can use the VOLUME/BASS/TREBLE to adjust the sound level for Wireless BT, also you can adjust the Wireless BT music sound through your own phone or other device.
NOTES: Check the volume controller both on the unit and on your phone or other device if there is no sound through the PA speaker during Wireless BT.
What’s in the Box:
- Portable PA Speaker
- 1/4” to Aux (3.5mm) Audio Cable + Adapter
- Battery Terminal Alligator Clamp Cables
- RCA Connection Cable
- Power Cable
System Features:
- Rugged & Compact Public Address Sound System
- Built-in Rechargeable Battery & 30-Pin iPod Dock Connector
- (2) 1/4” Microphone Inputs + (3) 1/4” Guitar/Instrument Inputs
- Ability to Connect & Stream Audio From External Devices
- Sound System: 10” Subwoofer, 4” Mid-Range + 4” Tweeter
- Connect up to (3) Mics Simultaneously for a Karaoke Party
- Ported Enclosure for Increased Bass Response
- Independent Channel Volume Controls
- Audio Configuration: Echo, Bass and Treble Controls
- Telescoping Handle & Caster Wheels
- 35mm Speaker Stand Mount
- LED Indicator Lights
- External 12V Power DC Input Connector
- Perfect for Karaoke, Public Events, Crowd Control, etc
Wireless BT Connectivity:
- Built-in Wireless BT Music Streaming
- Works with All of Your Favorite Devices
(iPhone, Android, Smartphone, iPad, Tablet, Computer, etc.) - Wireless BT Network Name: Pyle Speaker
- Wireless BT Version: 3.0
- Wireless BT Range: 100 Ft.
Technical Specs:
- Max Power Output: 800 Watt
- RMS Power Output: 400 Watt
- VHF Band Signal System Transmission
- System Battery Life: Approx. 8 Hours
- Average Charging Time: 8 – 10 Hours
- SPL: 94dB (1W/M)
- T.H.D.: <1%
- Power Supply: 120/220 Voltage Switchable
- Dimensions (L x W x H): 12.2” x 10.2” x 22.3” -inches
Support

Visit Us Online:
Have a question?
Need Service or repair?
Want to leave a comment?
Questions? Issues?
We are here to help!
Phone: (1) 718-535-1800
Email: [email protected]



















