
User Manual
Subminiature Omnidirectional Condenser Microphones
MT830a / MT830R / MT830cW / MT830cH


Thank you for purchasing this product. Before using the product, read through the user manual to ensure that you will use the product correctly. Please keep this manual for future reference.
Features
- Clip-on lavalier mic provides high intelligibility for lecturers, stage/TV performers and singers
- Designed to be worn as a lavalier or hidden in loose clothing or in the hair
- Wide-range capability ensures clean, accurate reproduction
- Small size provides excellent yet unobtrusive sound pickup
- Rugged design and construction for reliable performance
- MT830a and MT830R wired version’s power module (AT8531 / AT8538) include a high-pass filter that provides a steep low-frequency attenuation to improve sound pickup without affecting voice quality
- The power module (AT8531) of MT830a can be operated on battery or phantom power
- Wireless version equipped with CW-style locking or cH-style screw-down 4-pin termination for Audio-Technica wireless systems
Notes on use
MT830a wired version includes a power module AT8531 that requires 11V to 52V DC phantom power or a 1.5V AA battery for operation. A battery need not be in place for phantom power operation. An integral 80Hz high-pass filter provides easy switching from flat frequency response to a low-end roll-off. The output of the power module is a 3-pin XLRM-type connector.
MT830R wired version includes a power module AT8538 that requires 11V to 52V DC phantom power only. Also has an integral 80Hz high-pass filter for a low-end roll-off. The roll-off position reduces the pickup of low-frequency ambient noise (such as traffic, air-handling systems, etc.), room reverberation and mechanically coupled vibrations.
MT828cW and MT828cH wireless versions do not contain a power module and include clothing clip and windscreens only. 1.4 m cable terminated with locking 4-pin connector. The connector is also compatible with Audio-Technica CW and cH type body-pack transmitters.
Avoid leaving the microphone in the open sun or in areas where temperatures exceed 43°C for extended periods. Extremely high humidity should also be avoided.
Safety precaution
Although this product was designed to be used safely, failing to use it correctly may result in an accident. To ensure safety, observe all warnings and cautions while using the product.
Cautions for the product
- Do not subject the product to a strong impact to avoid malfunction.
- Do not disassemble, modify or attempt to repair the product.
- Do not handle the product with wet hands to avoid electric shock or injury.
- Do not store the product under direct sunlight, near heating devices or in a hot, humid or dusty place.
Connection procedure
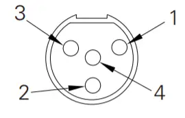
Connect the output terminals of the AT8531 and AT8538 power modules to the device that has a microphone input (balanced input) compatible with a phantom power supply. The output connector is an XLRM-type with polarity as shown in the figure below.

Specifications
| Element | Fixed-charge back plate, permanently polarized condenser |
| Polar pattern | Omnidirectional |
| Frequency response | 30 – 20,000 Hz |
| Low-Frequency response | 80 Hz, 12dB/octave (MT830a) / 80 Hz, 18dB/octave (MT830R) |
| Open circuit sensitivity | -34 dB (19.9 mV) re 1V at 1 Pa |
| Impedance | 200 ohms (MT830a / MT830R) |
| Phantom power requirements | 11-52 V DC, 2 mA typical (MT830a / MT830R) |
| Battery Type | 1.5V AA (MT830a) |
| Battery Current / Life | 2.0 mA / 1200 hours (MT830a) |
| Switch | Flat, roll-off (MT830a / MT830R) |
| Current consumption | 0.2 mA typical at 5V (wireless only) |
| Weight | Power module (AT8538): 81 g / (AT8531): 81.2 g Microphone, boom and earpiece: 1.3 g |
| Dimensions | Microphone: 15.8 mm long, 8.3 mm wide, 5.0 mm thick Power module (AT8538): 92.9 mm long, 18.9 mm diameter / (AT8531): 83.0 mm x 63.0 mm x 22.0 mm (H x W x D) |
| Output connector | Integral 3-pin XLRM-type (MT830a / MT830R) |
| Cable | 7.6 m (wired) / 1.4 m (wireless) long (permanently attached), 2.5 mm diameter, 2-conductor shielded cable (termination dependent) |
| Included accessories | Wire clothing clip; Windscreens; protective pouch; (wired only) – AT8531 power module (MT830a) /AT8538 power module (MT830R) |
• 1 Pascal = 10 dynes/cm²= 10 microbars = 94 dB SPL
* Typical, A-weighted, using Audio Precision System One.
For product improvement, the product is subject to modification without notice.
| Polar pattern | Frequency response |
![]() | ![]() |
Cable Terminations
MT830cW – Terminated with locking 4-pin connector for use with A-T UniPak ® body-pack transmitters

Pin 1 | Pin 2 | Pin 3 | Pin 4 | |
Function | Ground / Shield | Instrument | Mic Audio | Blas + In |
Wire Colour | Copper Wire | Jumper to Pin 1 | White | Red |
MT830cH – Terminated with locking 4-pin connector for use with A-T CH body-pack transmitters

Pin 1 | Pin 2 | Pin 3 | Pin 4 | |
Function | Ground / Shield | Instrument | Mic Audio | Blas + In |
Wire Colour | Copper Wire | Jumper to Pin 1 | White | Red |
MT830cT4 – Terminated using TA4F-type connector
| Pin 1 | Pin 2 | Pin 3 | Pin 4 | |
Function | Ground / Shield | Blas + In | Mic Audio | Source Load |
Wire Colour | Copper Wire | Red | White | Jumper to Pin 1 |
MT830cL4 – Terminated using Lemo®connector

| Pin 1 | Pin 2 | Pin 3 | Shell / Case | |
Function | N/C | N/C | Blas + In, Mic Audio | Ground / Shield |
Wire Colour | Open | Open | White | Copper Wire |
MT830cLM3 – Terminated using locking 3.5 mm connector

| Sleeve | Ring | Tip | |
| Function | Ground / Shield | Mic Audio | Blas + In |
| Wire Colour | Copper Wire | White | Red |
Audio-Technica Corporation
2-46-1 Nishi-Naruse, Machida, Tokyo 194-8666, Japan
©2017 Audio-Technica Corporation
Global Support Contact: www.at-globalsupport.com
20-AUG–2020 Form No.ATGC-L0379-20





















