audio-technica MT828a Subminiature Cardioid Condenser Clip-On Microphones User Manual
Thank you for purchasing this product. Before using the product, read through the user manual to ensure that you will use the product correctly.
Please keep this manual for future reference.
Features
- Maximum intelligibility and clean, accurate reproduction for lecturers, stage and television talent, and worship leaders
- Low-profile design is ideal for applications requiring minimum visibility
- Includes a wire clothing clip and a metal-frame pop filter
- MT828a wired version’s power module (AT8531) includes a high-pass filter that provides a steep low-frequency attenuation to improve sound pickup without affecting voice quality
- The power module of MT828a can be operated on battery or phantom power
- Wireless version equipped with cW-style locking or cH-style screw-down 4-pin termination for Audio-Technica wireless systems
Notes on use
MT828a wired version includes a power module AT8531 that requires 11V to 52V DC phantom power, or a 1.5V AA battery for operation. A battery need not be in place for phantom power operation. The output of the power module is a 3-pin XLRM-type connector.
An integral 80Hz high-pass filter provides easy switching from a flat frequency response to a low-end roll-off. The roll-off position reduces the pickup of low-frequency ambient noise (such as traffic, air-handling systems, etc.), room reverberation and mechanically coupled vibrations.
MT828cW and MT828cH wireless versions do not contain power module and includes clothing clip and metal-frame pop filter only. 1.6 m cable terminated with locking 4-pin connector. The connector is also compatible with Audio-Technica cW and cH type body-pack transmitters.
Avoid leaving the microphone in the open sun or in areas where temperatures exceed 43°C for extended periods. Extremely high humidity should also be avoided.
Safety precaution
Although this product was designed to be used safely, failing to use it correctly may result in an accident. To ensure safety, observe all warnings and cautions while using the product.
Cautions for the product
- Do not subject the product to strong impact to avoid malfunction.
- Do not disassemble, modify or attempt to repair the product.
- Do not handle the product with wet hands to avoid electric shock or injury.
- Do not store the product under direct sunlight, near heating devices or in a hot, humid or dusty place.
Connection procedure
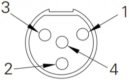
Connect the output terminals of AT8531 power module to a device that has a microphone input (balanced input) compatible with a phantom power supply. The output connector is an XLRM-type with polarity as shown in the figure below.
Output terminals
This product requires 48 V DC phantom power.
Specifications
| Element | Fixed-charge back plate, permanently polarized condenser |
| Polar pattern | Cardioid |
| Frequency response | 100 – 12,000 Hz |
| Low Frequency response | 80 Hz, 12 dB/octave (wired only) |
| Open circuit sensitivity | -64 dB (0.63 mV) re 1V at 1 Pa |
| Impedance | 1,600 ohms (capsule) |
| Operating Voltage | 1 – 10V DC (capsule) |
| Phantom power requirements | 11-52 V DC, 2 mA typical (wired only) |
| Battery Type | 1.5V AA (wired only) |
| Battery Current / Life | 2.0 mA / 1200 hours (wired only) |
| Current consumption | 0.2 mA typical at 5V (wireless only) |
| Voltage range | 2.5-10V (wireless only) |
| Switch | Flat, roll-off (wired only) |
| Weight |
|
| Dimensions |
|
| Output connector | Integral 3-pin XLRM-type (Power module) |
| Cable | 1.6 m long (permanently attached to microphone), 2.0 mm diameter, 2-conductor shielded cable (termination dependent) |
| Included accessories |
|
- 1 Pascal = 10 dynes/cm2 = 10 microbars = 94 dB SPL
- Typical, A-weighted, using Audio Precision System One
For product improvement, the product is sublect to modification without notice.
Polar pattern

SCALE IS 5 DECIBELS PER DIVISION

LEGEND
Frequency response

Frequency in Hertz

LEGEND
Cable Terminations
MT828cW – Terminated with locking 4-pin connector for use with A-T UniPak® body-pack transmitters

Pin 1 | Pin 2 | Pin 3 | Pin 4 | |
Function | Ground / Shield | Instrument | Mic Audio | Blas + In |
| Wire Colour | Copper Wire | Jumper to Pin 1 | White | 3.3kΩ to Pin 3 |
MT828cH – Terminated with locking 4-pin connector for use with A-T CH body-pack transmitters

Pin 1 | Pin 2 | Pin 3 | Pin 4 | |
Function | Ground / Shield | Instrument | Mic Audio | Blas + In |
| Wire Colour | Copper Wire | Jumper to Pin 1 | White | 3.3kΩ to Pin 3 |
MT828cT4 – Terminated using TA4F-type connector

| Pin 1 | Pin 2 | Pin 3 | Pin 4 | |
| Function | Ground / Shield | Blas + In | Mic Audio | Source Load |
| Wire Colour | Copper Wire | 3.3kΩ to Pin 3 | White | Jumper to Pin 1 |
MT828cL4 – Terminated using Lemo® connector

Pin 1 | Pin 2 | Pin 3 | Shell / Case | |
Function | N/C | N/C | Blas + In, Mic AudioWhite | Ground / Shield |
| Wire Colour | Open | Open | White | Copper Wire |
MT828cLM3 – Terminated using locking 3.5 mm connector

| Sleeve | Ring | Tip | |
| Function | Ground / Shield | Mic Audio | Blas + In |
| Wire Colour | Copper Wire | White | 2.2kΩ to Ring |
Support
Audio-Technica Corporation
2-46-1 Nishi-naruse, Machida, Tokyo 194-8666, Japan
©2017 Audio-Technica Corporation
Global Support Contact: www.at-globalsupport.com
![]()



















