
MicroSet® Cardioid Condenser Headworn Microphones
BP894x / BP894xTH
User Manual

Thank you for purchasing this product. Before using the product, read through the user manual to ensure that you will use the product correctly.
Please keep this manual for future reference.
Features
- Features a rotating capsule housing with talk-side indicator for perfect polar pattern placement from either ear
- Subminiature cardioid condenser capsule offers extremely intelligible, natural vocal reproduction
- Inconspicuous, lightweight headset with capsule diameter of just 2.6 mm is ideal for applications requiring minimum visibility
- Ergonomic under-ear design – the flexible, lightweight, contoured loop hooks behind the ear for an ultra-secure, comfortable fit even for those wearing glasses
- Detachable, field-replaceable cable with robust connector at the earset and a variety of available output terminations
- Handles high sound pressure levels with ease
- Wired version’s power module (AT8545) includes a high-pass filter that provides a steep low-frequency attenuation to improve sound pickup without affecting voice quality
- Wirekess version equipped with cW-style locking or cH-style screw-down 4-pin termination for Audio-Technica wireless systems
- Comes with the AT8464x Dual-Ear Adapter Kit that converts the single-ear MicroSet to a unit that’s worn on both ears for maximum stability and comfort
- Beige colour (-TH) model and constructed of hypoallergenic materials
Notes on use
The BP894x requires 11V to 52V phantom power for operation, and includes a 1.4 m permanently attached miniature cable. Its free end connects to the provided AT8545 power module via a locking 4-pin connector. The connector is also compatible with Audio-Technica cW and cH type body-pack transmitters. The output of the power module is a 3-pin XLRM-type connector.
Avoid leaving the microphone in the open sun or in areas where temperatures exceed 43°C for extended periods. Extremely high humidity should also be avoided.
Safety precaution
Although this product was designed to be used safely, failing to use it correctly may result in an accident. To ensure safety, observe all warnings and cautions while using the product.
Cautions for the product
- Do not subject the product to strong impact to avoid malfunction.
- Do not disassemble, modify or attempt to repair the product.
- Do not handle the product with wet hands to avoid electric shock or injury.
- Do not store the product under direct sunlight, near heating devices or in a hot, humid or dusty place.
Connection procedure
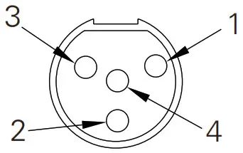
Connect the output terminals of AT8545 power module to a device that has a microphone input (balanced input) compatible with a phantom power supply. The output connector is an XLRM-type with polarity as shown in the figure below.
This product requires 48 V
DC phantom power.
Specifications
| Element | Fixed-charge back plate, permanently polarized condenser |
| Polar pattern | Cardioid |
| Frequency response | 20-20,000 Hz |
| Low Frequency response | 80 Hz, 18 dB/octave (wired only) |
| Open circuit sensitivity | -47 dB (4.3 mV) re 1V at 1 Pa |
| Impedance | 250 ohms (wired only) |
| Maximum input sound level | 135 dB SPL (1 kHz at 3% THD) |
| Dynamic range (typical) | 98 dB (1 kHz at Max SPL) (wired only) |
| Signal-to-noise ratio* | 57 dB (1 kHz at 1 Pa) |
| Phantom power requirements | 11-52 V DC, 2 mA typical (wired only) |
| Current consumption | 0.25 mA typical at 5V (wireless only) |
| Voltage range | 3.5-10V (wireless only) |
| Switch | Flat, roll-off (wired only) |
| Weight | Power module (wired only): 85 g Microphone, boom and earpiece: 2.0 g |
| Dimensions | Microphone: 9.67 mm long, 2.6 mm diameter Boom: 98.4 mm long, 1.07 mm diameter Power module: 100.0 mm long, 18.9 mm diameter |
| Output connector | Integral 3-pin XLRM-type |
| Cable | 1.4 m long (permanently attached to microphone), 1.6 mm diameter, 2- or 3-conductor shielded cable (termination dependent) |
| Included accessories | AT8440 cable clip; AT8464x dual-ear mount; Windscreens; moisture guard; carrying case (wired only) – AT8545 power module; belt clip |
• 1 Pascal = 10 dynes/cm
= 10 microbars = 94 dB SPL
* Typical, A-weighted, using Audio Precision System One.
For product improvement, the product is sublect to modification without notice.
Polar pattern

Frequency response

Cable Terminations
BP894xcW, BP894xcW-TH – Terminated with locking 4-pin connector for use with A-T UniPak ® body-pack transmitters
| Pin 1 | Pin 2 | Pin 3 | Pin 4 | |
| Function | Ground / Shield | Instrument | Mic Audio | Bias + In |
| Wire Colour | Green | Jumper to Pin 1 | Copper Colour | Red |
BP894xcH, BP894xcH-TH – Terminated with locking 4-pin connector for use with A-T CH body-pack transmitters

| Pin 1 | Pin 2 | Pin 3 | Pin 4 | |
| Function | Ground / Shield | Instrument | Mic Audio | Blas + In |
| Wire Colour | Green | Jumper to Pin 1 | Copper Colour | Red |
BP894xcT4, BP894xcT4-TH – Terminated using TA4F-type connector
| Pin 1 | Pin 2 | Pin 3 | Pin 4 | |
| Function | Ground / Shield | Blas + In | Mic Audio | Source Load |
| Wire Colour | Green | Red | Copper Colour | Jumper to Pin 3 |
BP894xcLM3, BP894xcLM3-TH – Terminated using locking 3.5 mm connector

| Sleeve | Ring | Tip | |
| Function | Ground / Shield | Mic Audio | Blas + In |
| Wire Colour | Green | Copper Colour | Red |
Audio-Technica Corporation
2-46-1 Nishi-naruse, Machida, Tokyo 194-8666, Japan
©2017 Audio-Technica Corporation
Global Support Contact: www.at-globalsupport.com



















