InDesiT D2I HD526 Built-In Fully Integrated Dishwasher

Product Information
Thank you for buying an Indesit product. To receive complete assistance, please register your appliance on www.indesit.com/register. For more detailed information, scan the QR code on your appliance.
Control Panel
- On-Off/Reset button with indicator light
- Program selection button
- Salt refill indicator light
- Rinse Aid refill indicator light
- Program number and delay time indicator
- Tablet (Tab) indicator light
- Display
- Push&GO button
First Time Use
- Remove the lower rack and unscrew the reservoir cap (anticlockwise).
- Fill the salt reservoir with water for the first time.
- Position the funnel and fill the salt reservoir up to its edge (approximately 1 kg).
- Remove the funnel and wipe any salt residue away from the opening.
- Screw the cap on tightly to prevent detergent from entering the container during the wash program.
Filling the Rinse Aid Dispenser
Rinse aid makes dish drying easier. Fill the rinse aid dispenser when the Rinse Aid Refill indicator light is lit. Do not pour the rinse aid directly into the appliance tub.
Filling the Detergent Dispenser
To open the detergent dispenser, use the opening device. Introduce the detergent into the dry dispenser only. If using all-in-one detergents, use the Tablet button for best washing and drying results. Do not use detergents not designed for dishwashers as it may cause malfunction or damage to the appliance.
Programs Table
| Program | Programs Description | Drying Phase | Available Options* | Duration of Wash Program (h:min) | Water Consumption (litres/cycle) | Energy Consumption (kWh/cycle) |
|---|---|---|---|---|---|---|
| 1 | Intensive wash – For heavily soiled dishes and pans | 3:35 | 9.5 | 0.95 | ||
| 2 | Pots and Pans – Suitable for pans and saucepans | 2:40 | 18.0 | 1.60 | ||
| 3 | Normal wash – Ensures optimal cleaning and drying performance with low noise emission | 2:15 | 16.0 | 1.40 | ||
| 4 | – | – | – | – | ||
| 5 | – | – | – | – | ||
| 6 | Hygiene wash – Antibacterial wash for dishwasher maintenance | 3:35 | 16.6 | 1.30 | ||
| 7 | Prewash – Use to refresh crockery planned to be washed later. No detergent to be used with this program. | 2:00 | 12.0 | 1.50 | ||
| 8 | Dishwasher maintenance – To be carried out only when the dishwasher is empty using specific detergents designed for dishwasher maintenance. | 0:12 | 4.7 | 0.28 |
Available options may vary depending on the specific model.
THANK YOU FOR BUYING AN INDESIT PRODUCT.
In order to receive a more complete assistance, please register your appliance on: www.indesit.com/register.
Before using the appliance carefully read Safety Instructions guide.
CONTROL PANEL
- On-Off/Reset button with indicator light
- Program selection button
- Salt refill indicator light
- Rinse Aid refill indicator light
- Program number and delay time indicator
- Tablet (Tab) indicator light
- Display
- Push& GO button
- Delay button
- START/Pause button with indicator light/ Tablet (Tab)
FIRST TIME USE
FILLING THE SALT RESERVOIR
The use of salt prevents the formation of LIMESCALE on the dishes and on the machine’s functional components.
- It is mandatory that THE SALT RESERVOIR NEVER BE EMPTY.
- It is important to set the water hardness.
- The salt reservoir is located in the lower part of the dishwasher (see PRODUCT DESCRIPTION) and must be filled when the SALT REFILL indicator light
in the control panel is lit.- Remove the lower rack and unscrew the reservoir cap (anticlockwise).
- Only the first time you do this: fill the salt reservoir with water.
- Position the funnel (see figure) and fill the salt reservoir right up to its edge (approximately 1 kg); it is not unusual for a little water to leak out.
- Remove the funnel and wipe any salt residue away from the opening. Make sure the cap is screwed on tightly, so that no detergent can get into the container during the wash program (this could damage the water so ftener beyond repair). Whenever you need to add salt, it is mandatory to complete the procedure before the beginning of the washing cycle to avoid corrosion.
FILLING THE RINSE AID DISPENSER
Rinse aid makes dish DRYING easier. The rinse aid dispenser A should be filled when the RINSE AID REFILL indicator light in the control panel is lit. NEVER pour the rinse aid directly into the A appliance tub.
PLEASE SCAN THE QR CODE ON YOUR APPLIANCE IN ORDER TO HAVE MORE DETAILED INFORMATION

FILLING THE DETERGENT DISPENSER
To open the detergent dispenser use the opening device C. Introduce the detergent into the dry dispenser D only. Place the amount of detergent for pre-washing directly inside the tub. The detergent dispenser automatically opens up at the right time according to the program. If all-in-one detergents are used, we recommend using the TABLET button, because it adjusts the program so that the best washing and drying results are always achieved. Usage of detergent not designed for dishwashers may cause malfunc-tion or damage to the appliance.
WATER SOFTENING SYSTEM
Water softener automatically reduces water hardness, consequently pre-venting scale buildup on heater, contributing also to better cleaning efficiency. This system regenerates itself with salt, therefore it is required to refill salt container when empty. Frequency of regeneration depends on water hardness level setting – regen-eration takes place once per 6 Eco cycles with water hardness level set to 3. Regeneration process starts in final rinse and finishes in drying phase, be-fore cycle ends.
- Single regeneration consumes: ~3.5L of water;
- Takes up to 5 additional minutes for the cycle;
- Consumes below 0.005kWh of energy.
PROGRAMS TABLE
| PROGR | AMS TABLE | |||||
| Program | Programs description | Dryingphase | Availableoptions *) | Duration of wash program (h:min)**) | Water consumption (litres/cycle) | Energy consumption (kWh/cycle) |
| 1. | Eco 50°- Eco program is suitable to clean normally soiled tableware, that for this use, it is the most efficient program in terms of its com- bined energy and water consumption, and that it is used to assess compliance with the EU Ecodesign legislation. | ![]() | 3:35 | 9.5 | 0.95 | |
2.![]() | Intensive 65° – Program recommended for heavily soiled crockery, especially suitable for pans and saucepans (not to be used for delicate items). | ![]() | 2:40 | 18.0 | 1.60 | |
3.![]() | Mixed 55° – Mixed soil. For normally soiled dishes with dried food residues. | ![]() | 2:15 | 16.0 | 1.40 | |
4.![]() | Fast& Clean 28’ 50° – Program to be used for half load of lightly-soiled dishes with no dried food residues. Does not have drying phase. | – | ![]() | 0:28 | 9.0 | 0.50 |
5.![]() | Night 50°– Suitable for night-time operation of the appliance. Ensures optimal cleaning and drying performance with the lowest noise emission. | ![]() | 3:35 | 16.6 | 1.30 | |
6.![]() | Extra Hygiene 65°– Normally or heavily soiled crockery, with additional antibacterial wash. Can be used to perform maintenance of the dishwa- sher. | ![]() | 2:00 | 12.0 | 1.50 | |
7.![]() | Prewash – Use to refresh crockery planned to be washed later. No detergent to be used with this program. | – | ![]() | 0:12 | 4.7 | 0.01 |
8.![]() | Self Clean 65°- Program to be used to perform maintenance of the dishwasher, to be carried out only when the dishwasher is EMPTY using specific detergents designed for dishwasher maintenance. | – | ![]() | 0:50 | 10.0 | 0.80 |
9.![]() | Push&GO 50° – Everyday wash and dry cycle that ensures great cleaning performance in a short time without the need to pre-treat dishes. | ![]() | 1:30 | 11.5 | 1.30 |
ECO program data is measured under laboratory conditions according to European Standard EN 60436:2020.
Note for Test Laboratories:
For information on comparative EN testing conditions, please send an email to the following address: [email protected] Pre-treatment of the dishes is not needed before any of the programs.
Not all options can be used simultaneously. Values given for programs other than the program Eco are indicative only. The actual time may vary depending on many factors such as temperature and pressure of the incoming water, room temperature, amount of detergent, quantity and type of load, load balancing, additional selected options and sensor calibration. The sensor calibration can increase program duration up to 20 min.
Please scan the QR code on your product in order to have more detailed information.
OPTIONS AND FUNCTIONS
OPTIONS can be selected directly by pressing the corresponding button (see CONTROL PANEL). If an option is not compatible with the selected program (see PROGRAMS TABLE), the corresponding LED flashes rapidly 3 times and beeps will sound. The option will not be enabled.
DELAY -The start of the program may be delayed for a period of time between 1 and 12 hours. PUSH&GO Push &GO button is an easily distinguishable button that allows you direct access to the Push& GO program, a wash and dry cycle that ensures great cleaning performance in a short time. You don’t have to worry which program to choose, Push &GO cycle will do the work for you. The DELAY function cannot be set once a wash cycle has been started. TABLET (Tab)- If you use powder or liquid detergent, this option should be off.
TABLET (Tab)- If you use powder or liquid detergent, this option should be off.
LOADING THE RACKS

- (loading example for the upper rack)
Load delicate and light dishes: glasses, cups, saucers, low salad bowls. - (loading example for the lower rack)
For pots, lids, plates, salad bowls, cutlery etc.. Large plates and lids should ide-ally be placed at the sides to avoid interferences with the spray arm.
FOLDABLE FLAPS WITH ADJUSTABLE POSITION
CUTLERY BASKET
The basket is equipped with top grilles for improved cutlery arrangement. The cutlery basket should be positioned only at the front of the lower rack.
Knives and other utensils with sharp edges must be placed in the cutlery basket with the points facing downwards or they must be positioned horizontally in the tip-up compartments on the upper rack.
CLEANING AND MAINTENANCE
CLEANING THE FILTER ASSEMBLY
In case you find foreign objects (such as broken glass, porcelain, bones, fruit seeds etc.) please remove them carefully. NEVER REMOVE the wash-cycle pump protection (black detail) (Fig 4).
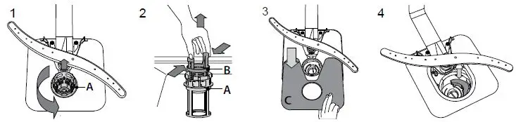
CLEANING THE SPRAY ARMS

- To remove the upper spray arm, turn the plastic locking ring in a clockwise direction.
- The lower spray arm maybe removed by pulling it upwards.
TROUBLESHOOTING
In case your dishwasher doesn’t work properly, check if the problem can be solved by going through the following list. For other errors or issues please contact authorized After-sales Service which contact details can be found in the warranty booklet. Spare parts will be available for a period of either up to 7 or up to 10 years, according to the specific Regulation requirements.

Policies, standard documentation, ordering of spare parts and additional product information can be found by:
- Using QR code on your product.
- Visiting our website docs.indesit.eu and parts-selfservice.whirlpool.com
- Alternatively, contact our After-sales Service (See phone number in the warranty booklet). When contacting our Aftersales
- Service, please state the codes provided on your product‘s identification plate.
- The model information can be retrieved using the QR-Code reported in the energy label. The label also includes the model identifier that can be used to consult the portal of the registry at https://eprel.ec.europa.eu.


























