PrimeCables Cab-PC14923 Gas Spring Adjustable Desk


CAUTION: DO NOT EXCEED RATED LISTED WEIGHT. SERIOUS INJURY OR PROPERTY DAMAGE MAY OCCUR!
Component Checklist

Parts

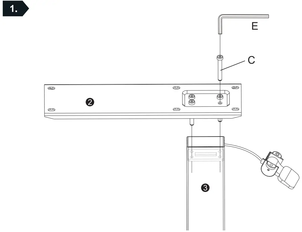
Installation Instructions




PrimeCables Cab-PC14923 Gas Spring Adjustable Desk


CAUTION: DO NOT EXCEED RATED LISTED WEIGHT. SERIOUS INJURY OR PROPERTY DAMAGE MAY OCCUR!






Download manual
Here you can download full pdf version of manual, it may contain additional safety instructions, warranty information, FCC rules, etc.