

ARIA®1 3/8″ R-TEC AUTOMATION® H-RAIL TRAVERSE CENTER DRAW SYSTEM INSTALLATION INSTRUCTIONS
Please read all instructions before starting
INTRODUCTION:
The AriA®1 3/8″ R-TEC Automation® H-Rail Traverse Systems are used to electronically control the drapery using a Slim Drapery Motor and Remote Control. By using a Remote Control or the R-TEC Automation® App via a smartphone or tablet, the operator can open and close the drapery smoothly and precisely.
The maximum width for this system is 12′ continuous (in select finishes) and 24′ spliced. The maximum drapery weight is 77 lbs.
BRACKET ASSEMBLY:
The AriA® 1 3/8″ R-TEC Automation® H-Rail Traverse Systems can be mounted on the wall or ceiling.
Wall options include single brackets with either a 3 1/2″ or 6″ projection, or a double bracket with 3″ and 7 1/2″ projections.
Ceiling options include a single or double bracket with 2 3/8″ drop or a low-profile ceiling bracket with a 5/32″ drop.
PARTS LIST:
![]() | ![]() |
Basic Components:
| 1. R-TEC Automation® H-Rail Track 2. Slim Drapery Motor 3. Drive Pulley 4. Return Pulley 5. Pendant 6. Brackets 7. Carriers | 8. Master Carrier Body & Arms 9. Drive Belt 10. Drive Belt Clip 11. AC Power Transformer power option 12. Li-ion Battery power option 13. Plain End Caps included; Antiquities Finials sold separately |
CENTER DRAW BRACKET PLACEMENT:
It’s recommended to use 1 bracket beside each pulley and an adjacent bracket no more than 24″ away. On the remaining part of
the H-Rail Track, bracket-to-bracket distances should be no more than 48″. Also, 1 bracket should be placed on each side of a
splice is used.
CENTER DRAW TRACK ASSEMBLY:
NOTE: System length does not include decorative additions such as finials. Additional measurement below is required for these options.
Step 1. Calculate R-TEC Automation® H-Rail Track Length.
Track Length no finials = System Length – 7 1/2″
Example: 72″ System Length – 7 1/2″ = 64 1/2″ Track Length
Overall Length with finials = System Length – 1 1/2″ + (Finial Length x 2)
Example: 72″ System Length – 1 1/2″ + (4 1/8″ x 2) = 78 3/4″ Overall Length with Finials
Step 2. Use a Track Splice if required for length.
The R-TEC Automation® H-Rail Track is available in a continuous length up to 12′ (select finishes), and can be spliced up to a maximum length of 24′.
Step 3. Spray both sides of the H-Rail Track with silicone.
Step 4. Install all attachment hardware.
NOTE: The wall mount and cover are not installed at this time.
Step 5. Assemble the Drive Belt Clip to the Drive Belt and leave the cap off.
Step 6. Assemble the Master Carrier Body to the Drive Belt Clip.
Step 7. Pull the Master Carrier Body through the H-Rail Track.
Step 8. Remove the Master Carrier Body and Drive Belt Clip.
Step 9. Install the Drive Belt through the Drive Pulley, then install the Drive Belt to the Drive Belt Clip.
Step 10. Attach half of the Master Carrier Body to the Drive Belt & Drive Belt Clip
Step 11. Pull the Master Carrier Body through the R-TEC Track and assemble the Drive Pulley onto the H-Rail Track.
Step 12. Align the Master Carrier Body half to the end of the Track. Cut Drive Belt to a length: 5″ from the end of the Track.
Step 13. Remove the Drive Pulley from the H-Rail Track.
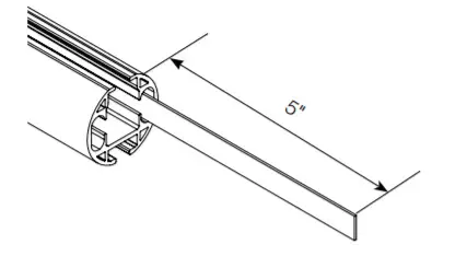
Step 14. Measure 5″ from the end of the Track. Make sure you hold this dimension as you proceed to the next step.
Step 15. Mark the Drive Belt tooth at the edge of the Track.
Step 16. Install Drive Belt Clips on both sides of the marked Drive Belt tooth.
Step 17. Calculate the number of Carriers per length of Track.
PINCH PLEAT
# of PP Carriers per panel = (System Length / 2) / Spacing
Example: (72″ / 2) / 2″ = 18 Carriers per panel
NOTE: Always round up to an even number
RIPPLEFOLD
# of Ripplefold Carriers = ((System Length / 2) / Spacing) + 2
| Fullness | Spacing |
| 60% | 2 5/8″ |
| 80% | 2 3/8″ |
| 100% | 2 1/8″ |
| 120% | 1 7/8″ |
Example: (72″ / 2) / 2 1/8″ = 16.94 Carriers 20 Carriers per Side (18 Carriers for Panel + 2 for Hardware)
Step 18. Install the Master Carrier Body and required number of Carriers into the H-Rail Track.
RIPPLEFOLD:
Remove 1 Ripplefold Carrier from the end that’s closest to the Drive Pulley. Leave the cord as shown with the attachment tab
exposed.
Install the attachment tab into the Master Carrier Body.
Install the Master Carrier Body and required number of Carriers into the H-Rail Track.
Install the Drive Pulley into the H-Rail Track and install the Pendant into the attachment tab.
Step 19. Install the Pendant into the End Stop.

Step 20. Install the End Stop.
NOTE: Carriers can be added or removed with the Drive Pulley installed by removing the End Stop.
Step 21. Run Drive Belt through the Drive Pulley.
Step 22. Install the Drive Belt Clip.
Step 23. Attach half of the Master Carrier Body to the Drive Belt Clip.
Step 24. Bring both Master Carrier Body halves together and insert the Master Carrier center metal clip.
NOTE: The Master Carrier should move freely back and forth.
Step 25. Remove the Master Carrier center metal clip.
Step 26. Remove 1 Ripplefold Carrier from the end that’s closest to the Return Pulley. Leave the cord as shown with the attachment tab exposed.
Step 27: Install the attachment tab into the Master Carrier Body.
Step 28. Install the Master Carrier and Carriers into the Track.

Step 29. Bring both Master Carrier Body halves together and insert the Master Carrier center metal clip.
Step 30. Install the Carriers, Return Pulley, End Stop, and Pendant into the Return Pulley.
PINCH PLEAT:
RIPPLEFOLD:
Step 31. Install the Pendants and End Caps or Finials onto the Drive and Return Pulleys.
PINCH PLEAT:
RIPPLEFOLD:
Step 32. Install the Master Carrier Arms onto the Master Carrier Bodies.
How to get started using your AriA® 1 3/8″ R-TEC Automation® H-Rail Traverse System:
- Please read all the instructions provided with your Slim Drapery Motor.
- Your motor will be shipped in “sleep mode” and must be woken up before using.
- You will need remote control or a smartphone to set up and control your Slim Drapery Motor.
- Only use power options for your motor that are available through Rowley Company.
DOWNLOAD INSTRUCTIONS:
https://qrs.ly/h5c6jr0
www.AriAMetalHardware.com
updated 04/30/2021


















