Kanlux TIBERI PRO NT Surface Mounted Downlight Instruction Manual
INTENDED USE / APPLICATION
Product designed for the use in households and for other similar general applications.
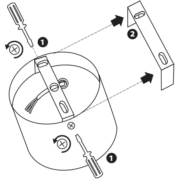
MOUNTING
Technical changes reserved. Read the manual before mounting. Mounting should be performed by an appropriately qualified person. Any activities to be done with disconnected power supply. Exercise particular caution. Mounting diagram: see pictures. Check for proper mechanical fastening and connection to electrical power prior to first use. The product can be connected to a supply network which meets energy quality standards as prescribed by law. Product has a protective contact/terminal. Failure to connect the protective lead may lead to electric shock.
FUNCTIONAL CHARACTERISTICSP
roduct for indoor use.
USAGE GUIDELINES / MAINTENANCE
Any maintenance work must be performed when the power supply is cut off and the product has cooled down. Clean only with soft and dry cloths.
Do not use chemical detergents. Do not cover the product. Ensure free air access. Product may heat up to a higher temperature. ATTENTION! Do not look directly at LED light beam. Product can only be supplied by rated voltage or voltage within the range provided. Product must not be used in unfavourable environment, e.g. dust, moisture,water, vibrations, etc. It’s forbidden to use the product with damaged protective cover.
EXPLANATIONS OF SYMBOLS USED
P1: Rated voltage, frequency.
P2: Rated power.
P3: Rated luminous flux.
P4: The specified luminous flux refers to the light source (LED module) used.
P5: This product is equipped with a light source with energy efficiency class
P6: Rated durability.
P7: Colour Rendering Index.
P8: Colour temperature.
P9: Class I A product in which protection against electric shock is provided not only by means of basic insulation but also through additional safety measures, i.e. extra protective circuit to which protective conductor of the fixed feeding installation needs to be connected.
P10: Dust-resistant product. Protection against splashing water provided.
P11: Use only indoors.
P12: The symbol describes the minimal distance of a light fixture (its light source) from the spots and objects that it’s illuminating.
P13: The product is not compatible with lighting dimmers.
P14: Product meets the requirements of EU directives.
P15: Viewing angle.
P16: The chipped globe, screen or protective shield must be replaced immediately.
P17: Certificate of Conformity confirming the quality of production in accordance with approved standards on the territory of the Customs Union.
P18: The LED light source can only be replaced by qualified personnel (Kanlux service only).
P19: Any control panel or control equipment can only be replaced by qualified personnel (Kanlux service only).
P20: The product is compliant with all relevant United Kingdom regulations.
P21: The product meets the requirements of technical regulations applicable in Ukraine
ENVIRONMENTAL PROTECTION
Keep your environment clean. Segregation of post-packaging waste is recommended.
P22: This labelling indicates the requirement to selectively collect waste electronic and electrical equipment. Products labelled in this way must not be disposed of in the same way as other waste under the threat of a fine.
These products may be harmful to the natural environment and health, and require a special form of recycling/neutralising. Products labelled in this way should be returned to a collection facility for waste electrical and electronic goods.
Information on collection centres is provided by local authorities or sellers of such goods. Used items can also be returned to the seller when new product is purchased, in quantity no larger than the purchased item of the same type. The above rules regard the EU area. In the case of other countries, regulations in force in a given country must be applied.
Contacting the distributor of our products in a given area is recommended.
COMMENTS / GUIDELINES
Failure to follow these instructions may result in e.g. fire, burns, electrical shock, physical injury and other material and non-material damage. For more information about Kanlux products visit www.kanlux.com. Kanlux SA shall not be responsible for any damage resulting from the failure to follow these instructions. Kanlux SA reserves the right to make changes in the manual – the current version can be downloaded at www.kanlux.com







Not included














