KYORITSU KEW8343 Intelligent Socket Tester

Safety precautions
This instrument has been designed, manufactured, and tested according to IEC 61010: Safety requirements for Electronic measuring apparatus,and delivered in the best condition after passing quality control tests. This instruction manual contains warnings and safety rules which have to be observed by the user to ensure safe operation of the instrument and to maintain it in safe condition. Therefore, read through these operating instructions before starting to use the instrument.
WARNING
- Read through and understand the instructions contained in this manual before starting to use the instrument.
- Keep the manual at hand to enable quick reference whenever necessary.
- This instrument is to be used only in its intended applications.
- Understand and follow all the safety instructions contained in the manual.
It is essential that the above instructions are adhered to. Failure to follow the instructions may cause injury, instrument damage and/or damage to the equipment under test. Kyoritsu is by no means liable for any damage resulting from the instrument in contradiction to these cautionary notes.
The symbol
indicated on the instrument means that the user must refer to the related parts in the manual for safe operation of the instrument. It is essential to read the instructions wherever the symbol appears in the manual.
DANGER: is reserved for conditions and actions that are likely to cause serious or fatal injury.
WARNING: is reserved for conditions and actions that can cause serious or fatal injury.
CAUTION: is reserved for conditions and actions that can cause injury or instrument damage.
DANGER
- Use the instrument only as specified; otherwise, the protection supplied by the instrument may be compromised and it can lead damage of instrument or electrical shock.
- This instrument is rated to CAT III 300 V. (max. voltage to ground) Do not test circuits which exceed this rating: circuits in which 300 V or higher voltage to ground exists.
- Do not attempt to make measurements in the presence of flammable gasses. Otherwise, the use of the instrument may cause sparking, which can lead to an explosion.
- Do not apply inputs exceeding the maximum allowable range.
- Put insulated protective gears when there is a danger of electrical shock hazard.
- Never attempt to use the instrument if its surface or your hand is wet; otherwise, electrical shock accident may occur.
- Do not make measurement when thunder is rumbling. If the instrument is in use, stop the measurement immediately and remove the instrument from the measured object.
- Keep your fingers and hands behind the barrier on the test voltage injection clamp and voltage detection cables to avoid possible shock hazards.
Barrier is a part providing protection against electrical shock and ensuring the minimum required air and creepage distances.
WARNING
- Never attempt to make any measurement, if any abnormal conditions such as crack or exposed metal parts are noted on the instrument or voltage detection cable.
- Confirm a proper operation of the instrument with a well-known power supply before starting to use the instrument.
- Do not install substitute parts or make any modification to the instrument.
Return the instrument to your local Kyoritsu distributor for repair or re-calibration.
CAUTION
- This instrument is not dust nor waterproof. Do not use the instrument in dusty or water splashing places. It may cause malfunction of the instrument.
- Do not step on nor pinch the cables so as not to damage their jackets.
- Do not pull nor bend the root of cable to prevent break in cable.
- Never give shocks, such as vibration or drop, during transportation or operation which may damage the instrument.
- Power off the instrument after use. Remove batteries if the instrument is to be stored and will not be used for a long period.
- Do not expose the instrument to direct sunlight, high temperature and humidity, or dew fall.
- Use a damp cloth and neutral detergent for cleaning the instrument.
Do not use abrasives or solvents. - Dry and store the instrument if it is wet.
- KEW 8343 is specially designed to KEW 4506, therefore, it cannot be used with KEW 4500/ 4500BT/ 4505/ 4505BT.
- Use of this instrument is limited to domestic, commercial, and light industry applications. Strong electromagnetic interference or strong magnetic fields, generated by large currents, may cause malfunction of the instrument.
Measurement category
To ensure safe operation of measuring instruments, IEC 61010 establishes safety standards for various electrical environments, categorized as CAT O to CAT IV, and called measurement categories.
Higher-numbered categories correspond to electrical environments with greater momentary energy, so a measuring instrument designed for CAT III environments can endure greater momentary energy than one designed for CAT II.
- O (None, Other) : Circuits which are not directly connected to the mains power supply
- CAT II : Primary electrical circuits of equipment connected to an AC electrical outlet by a power cord.
- CAT III : Primary electrical circuits of the equipment connected directly to the distribution panel, and feeders from the distribution panel to outlets.
- CAT IV : The circuit from the service drop to the service entrance,and to the power meter and primary overcurrent protection device (distribution panel).

Safety symbols
![]() | Refer to the instructions in the manual to protect the user and instrument. |
![]() | Indicates instrument with double or reinforced insulation. |
![]() | Indicates that this instrument can clamp on a bare conductor when measuring a voltage corresponding to the applicable measurement category, which is marked next to this symbol. |
| AC | |
![]() | (Functional) Earth |
|
| This instrument satisfies the marking requirement defined in the WEEE Directive. This symbol indicates separate collection for electrical and electronic equipment. |
Features
- This is a signal source device to be used with KEW 4506 (Socket tester) and can test wiring connection and find miswiring.

- KEW 4506 identifies and compares the phases of test voltage applied via KEW 8343 and of outlet. It is applicable to integrated earthing systems with low resistances such as TN, building structure, and common earth systems, and possible to check whether the outlet is correctly wired.
- KEW 8343 can test outlets in: Single-phase 2-Wire, Single-phase 3-Wire,Three-phase 3-Wire 200 V (delta connection, L2(S) grounded), and Threephase 4-Wire systems.
- Current flows between N-E by applying test voltage is less than 1 μA; therefore, it doesn’t trip RCDs.
- Designed to international safety standard IEC 61010-1/ -031/ -2-032 (CAT III 300V, Pollution degree 2)
Instrument layout
- Main unit

- Voltage detection cable and test voltage injection clamp
- Tip of voltage detection cable > (Alligator clip)

- Test voltage injection clamp

Barrier is a part providing protection against electrical shock and ensuring the minimum required air and creepage distances.
- Tip of voltage detection cable > (Alligator clip)
Getting started
Before starting to use KEW 8343, check the following points.
See “7. Battery replacement” in this manual and insert batteries.
- Hold down test button 1 sec. to power on KEW 8343.
A long press (1 sec. or longer) is required to power on the instrument for safety purpose. A long press of test button is also required to power off the instrument. - Confirm that green power LED at lower middle part of KEW 8343 lights up while the instrument is on.
Note
- Use of size AA Alkaline battery is recommended. Use of the other types of battery may extremely shorten the applying time of test voltage.
Blinking POWER LED indicates that the battery level is extremely low.
To conduct further measurements, refer to “7. Battery replacement” and replace batteries with new ones.
Wiring system
DANGER
- This instrument is rated to CAT III 300 V. (max. voltage to ground)
Do not test the circuits which exceed this rating: circuits in which 300 V or higher voltage to ground exists. - Keep your fingers and hands behind the barrier on the test voltage injection clamp and voltage detection cables to avoid possible shock hazards.
* Barrier is a part providing protection against electrical shock and ensuring the minimum required air and creepage distances. - Transformer jaws are designed so as not to short-circuit the object to be tested, however, care should be taken when clamping an un-insulated conductor to prevent an electrical short-circuit with transformer jaws.
- Be careful not to short-circuit a power line with the alligator clips of voltage detection cables during a measurement. It may cause personal injury.
- Do not touch the alligator clips of voltage detection cables.
WARNING
● If any breaks or cracks are noted on the instrument or voltage detection cables or exposed metal parts are noted, do not use the instrument.
CAUTION
- Take sufficient care not to apply shock such as drop; otherwise, precisely adjusted transformer jaws may be damaged.
- When a foreign substance is stuck in the transformer jaw tips or they cannot close properly, the transformer jaws don’t fully close. In such a case, don’t release the trigger suddenly or attempt to close the transformer jaws by applying external force. Make sure that the jaws close by themselves after removing the foreign substance or making them free to move.
- If transformer jaws are frozen, do not attempt to open them.
- Do not step on nor pinch the cables so as not to damage their jackets.
- Do not pull nor bend the root of cable to prevent break in cable.
Note
- KEW 8343 is designed for: Single-phase 2-Wire, Single-phase 3-Wire,and Three-phase 3-Wire 200 V (delta connection, L2(S) grounded),and Three-phase 4-Wire (commercial power supply) systems. This instrument cannot be used for Three-phase 3-Wire 400 V system (wye (Y) connection) since it doesn’t have a neutral wire.
KEW 8343 and KEW 4506 (Socket tester) cannot perform socket test if they are connected to:
a live phase and in which one voltage phase is different from other phases in Three-phase 4-wire system (wye or delta connection).
That is, if you make connections as illustrated below (Fig. 5-2 and Fig. 5-3) for the wiring systems as Fig. 5-1 describes, correct measurement result cannot be obtained.


- To apply test voltage correctly, check the maximum measurable conductor size with reference to “8. Specifications” so that the jaws close completely.
- As shown in Fig. 5-4, the phase of test voltage applied to a neutral wire (N) changes 180-degree depending on the orientation of the test voltage injection clamp.
KEW 4506 performs socket test based on the polarity (phase difference) of the test voltage signal; therefore, if the orientation of test voltage injection clamp is incorrect, KEW 4506 judges as [NE Reverse] even if the tested socket outlet is correctly wired.
Note - Do not connect multiple test voltage injection clamps to a conductor to be tested; otherwise, test voltage cannot be applied to the conductor properly. Only one test voltage injection clamp can be connected to the conductor to be tested even if you perform socket test with multiple KEW 4506 at the same time.

- It is impossible to test ungrounding system (floating power supply) which is mainly utilized in hospital, sound room, and UPS (Uninterruptible Power Supply) because test voltage cannot be applied to.

Note - Socket test cannot be performed if a neutral wire (N) connected to ground is closer to the outlet to be tested than the clamp position of test voltage injection clamp.

Note - Check the wiring diagram before making connections and identify the branch circuit breaker to which the 3P outlet under test is wired, and then connect the test voltage injection clamp close to the outlet to be tested.
Depending on the orientation of the test voltage injection clamp, as explained with Fig. 5-4 at the previous clause, KEW 4506 may judge as [NE Reverse] even if the outlet is correctly wired as shown in Fig. 5-8 (outlet wired to branch circuit breaker [B]).
Connect the test voltage injection clamp to the appropriate neutral wire (N) of the branch circuit breaker with the correct orientation and location.
Note
● When the test voltage injection clamp is connected close to the distribution board, KEW 4506 can test the outlet which is wired to branch circuit breaker [B] shown in Fig. 5-8 and judge as “PASS” (correct); however, it is NOT recommended to connect test voltage injection clamp to the position shown in Fig. 5-9.
This is because KEW 4506 may show “
” if multiple loads are connected to an outlet wired from any of the other branch circuit breakers, which is not the one to be tested, and where those loads are active.

To obtain accurate result:
- Clamp a conductor with test voltage injection clamp observing the orientation shown below: arrow mark on the clamp shall be towards the outlet. Ensure that the transformer jaws are firmly engaged and closed.

Power on KEW 8343 and connect the test voltage injection clamp to the appropriate location observing the correct orientation according to the wiring configuration to be tested. Connect the black voltage detection cable to a neutral wire (N) and the red voltage detection cable to hot (live) wire (L) correctly. Confirm that the green live LED on the upper right of the front side of the main unit lights up.
If the green live LED doesn’t light up, connection of voltage detection cords might be incorrect. Please check the connection.
For your information, if voltage is less than 80 V, the live LED doesn’t light up. If live LED blinks with audible warning, voltage detection cables may be connected to over 280 V. Ensure that the cables are connected to the power line rated to 280 V or less.
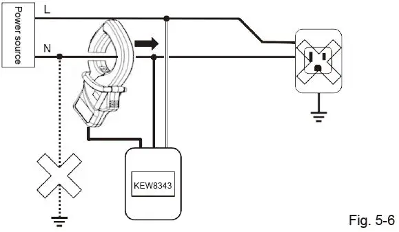
- Single-phase 2-Wire
Clamp the neutral wire (N) with test voltage injection clamp and connect the black voltage detection cable to neutral wire (N) and red voltage detection cable to hot/live wire (L).
- Single-phase 3-Wire
Clamp the neutral wire (N) with test voltage injection clamp and connect the black voltage detection cable to neutral wire (N) and red voltage detection cable to hot/live wire (L): either L1 or L2 correctly. Then you can test any 3P outlets which are connected to L1 or L2
- Three-phase 3-Wire 200 V (delta connection, L2(S) grounded) Clamp the grounded L2(S) with the test voltage injection clamp and connect the black voltage detection cable to L2(S) and red voltage detection cable to a hot/live wire(L): either L1(R) or L3(T) correctly. Then you can test any 3P outlets which are connected to L1(R) or L3(T).

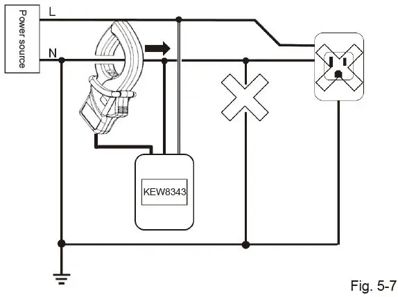
- Three-phase 4-Wire
Clamp the neutral wire (N) with test voltage injection clamp and connect the black voltage detection cable to neutral wire (N) and red voltage detection cable to hot/live wire(L): either L1(R), L2(S), or L3(T) correctly.
Then you can test any 3P outlets which are connected to L1(R), L2(S), or L3(T).
Test voltage injection
- Confirm the green LED (live indicator) at the upper right corner on the unit lights up. When the LED lights up, injection of test voltage starts automatically. If the indicator doesn’t light up, check the connection of voltage detection cables.
- Ensure that the load current flowing through the clamped neutral wire (N) is lower than the “load current flowing through neutral wire (N)” described in “8. Specifications”. If the flowing current is higher than the specified value, test voltage may not be injected correctly.
In this case, power off the connected load or disconnect the load and then start the injection of test voltage. - Confirm that power indicator (LED) is not blinking but stays on.
Note- When buzzer keeps beeping:
- connection of test voltage injection clamp may not be correct, or
- 30 A or higher load current may be flowing through the clamped neutral wire (N).
If buzzer is activated by high load current, buzzer keeps beeping but test voltage is being correctly injected; therefore, it doesn’t affect the N-E
judgement of KEW 4506.
- When buzzer keeps beeping:
- Injection of test voltage stops and green live LED turns off when disconnecting voltage detection cables.
Battery replacement
DANGER
- Do not try to replace batteries if the surface of the instrument is wet.
- Do not replace batteries while the instrument is in use.
- Always close the battery compartment cover before starting to use the instrument to prevent an electrical shock.
WARNING
- Power off the instrument and disconnect the test voltage injection clamp and voltage detection cables when opening the battery compartment cover to replace batteries.
CAUTION
- Brand and type of the batteries should be harmonized.
Never mix new and old batteries. - Install batteries in correct polarity as marked inside the battery compartment area.
- Remove batteries if the instrument is to be stored and will not be used for a long period.
When battery voltage becomes extremely low, green power LED starts blinking. To make further measurements, replace batteries with new ones.
When the batteries are completely exhausted, the instrument turns off automatically.
Battery replacement procedures:
- Power off KEW 8343.
- Loosen two battery compartment cover-fixing screws and remove the cover.
- Replace all six batteries with new ones. Insert new batteries observing correct polarity. Use of size AA Alkaline battery (LR6) is recommended.
- Install the cover, and then secure it with the screws.

Specifications
| MODEL | KEW 8343 | |
| Test volage | Freq. | Approx. 1.8 kHz |
| TRMS | Approx. 20 mV rms | |
| Current consumption | Approx. 27 mA (@9.0 V) | |
| Temp. and Hum. range (accuracy guaranteed) | 23±5°C with RH 85% or less (no condensation) | |
| Operating Temp. and Hum. range | -10 to 50°C with RH 85% or less (no condensation) | |
| Storage Temp. and Hum. range | -20 to 60°C with RH 85% or less (no condensation) | |
| Allowable input range | 300 V AC rms (50 Hz/ 60 Hz) continuous 100 A AC (50 Hz/ 60 Hz) continuous | |
| Effective supply voltage input range | 80 V rms to 250 V rms (50 Hz/ 60 Hz) | |
|
Influence of load current flowing through neutral line (N) | 100 A AC | |
| * Max load current flowing through neutral wire (N) which doesn’t affect KEW 4506 N-E judgement. * If load current over 30 A is flowing t hr ough t he neut r al wir e ( N) , malfunction of open check function may occur and buzzer keeps beeping; however, test voltage is correctly being injected. KEW 4506 can judge N-E wiring properly. | ||
| Location for use | Altitude 2000 m or less, in-door use | |
| Applicable standards | IEC 61010-1, -031/ -2-032 CAT III 300 V Pollution degree 2, IEC 61326-1(EMC), IEC 63000 (RoHS) | |
| Withstand voltage | 3470 V AC rms (50/ 60 Hz)/ 5 sec. between Tip of voltage detection cable and enclosure | |
| Insulation resistance | 50 MΩ or higher (@1000 V) between voltage detection terminal and enclosure | |
| Max. conductor size | Approx. 24 mm | |
| Dimension | Unit | 112 (L) x 61 (W) x 42 (D) mm |
| Test voltage injection clamp | 100 (L) x 60 (W) x 26 (D) mm | |
| Cable length Voltage detection cable Test voltage injection clamp | Approx. 1.5 m | |
| Weight | Approx. 520 g | |
| Accessories | Alligator clip (MODEL 7157B) Carrying case (MODEL 9096) Size AA Alkaline battery x 6 pcs. Instruction manual | |
Kyoritsu reserves the rights to change specifications or designs described in this manual without notice and without obligations.
KYORITsU ELECTRICAL INSTRUMENTS WORKS, LTD.
2-5-20,Nakane, Meguro-ku,
Tokyo, 152-0031 Japan
Phone: +81-3-3723-0131
Fax: +81-3-3723-0152
Factory: Ehime,Japan
www.kew-ltd.co.jp




























