manhot MH001 Smart Curtain Companion

Specification

Product Size(Main Body): 78x29x115mm
Product Size(Secondary Body): 58x29x115mm
In the box

Suitable types of curtain

What You’ll need before Installation
- A compatible phone or tablet with Bluetooth 4.2 or above
- Download the Tuya app on your phone, login into Tuya app and set a password ( Me>oSetting>Account and Security>Change Login Password)
- Hub (not include) and 2.4G Wifi, if you want Schedule and Voice Control function
- Use DC5V=1A, type-C adapter to charge the Companion for 4 hours

Note:
- To avoid misoperation of the Companion, please make sure the Companion is shut down before installation. After installation, please confirm that the bead chain has been adjusted to the proper position, turn it on and complete the limit setting(Tuya), then start running.
- To avoid affecting returns, please tear off the EVA sticker protection on the stainless steel C-clip after you confirm there is no problem with the product.
Installation
- Clean the installation positions on the curtain track with a dry cloth before installation
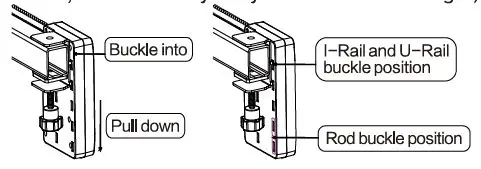
- Lock the 2 stainless steel C-clips on the curtain track

- Buckle the Companion into the C-clip hook position, and then pull down the Companion and snap it in. (The main body is installed on the left, the secondary body is installed on the right)


- Adjust the big clip position and install the small clip component (central opening need to install the small clip, left/right opening are not required)
Installation diagram of central opening:
Installation diagram of left/right opening:
- 5.Plug in the solar charging panel, and place it in sunny spot.
Device Instruction
Power Button ON/OFF
OFF: the Companion is shut down
ON: the Companion is powered on
Multifunction Button:
- Pairing the main body with the phone, long press the Multifunction
Button for 5 seconds, when the indicator light flashes slowly, release it. (For details, please refer to: Connection Method) - Pairing the main body with the remote control: long press any key of the remote control, and tap the Multi-function Button, they can be paired successfully
- Factory reset, long press the Multi-function Button for 10 seconds, when the indicator light flashes quickly, release it
Caution:
You may lose all the settings after Factory Reset and you may need to add the device again and re-calibrate.
Charging Port:
Plug in solar panel or 5V=1A charging device (not included) to charging.
Connection Method


- Download the Tuya app on your phone, create Tuya account and set a password (MeOSetting Account and Security>Change Login Password)
- Pairing the main body with the phone (turn on Bluetooth), long press the Multifunction Button for 5 seconds, when the indicator light flashes slowly, release it
- Open Tuya app, click Add Device”
- Discovering device, search for “Smart Curtain Companion, click “Add”
- When it prompts “Found 1 devices. Added 1 successfully” Click NEXT to complete the connection
Limit1 Set
Limit2 Set
Multiple Controls
Please confirm you have complete the the limit setting via Tuya, then choose one method to control the Companion.
The remote control and the Companion are not paired when you receive it. Please pair it first.lf the remote control is not used for a long time, when it is used again, you need to long press any key to wake up the Companion.
Hub Connection
With an extra Hub (not included), you can get more intelligent functions. Such as Schedule, Remote Control(No distance limit), Voice Control etc.

- Open Tuya, click “+ to add devices
- Discovering device, search for mesh, dlick “Add”
- Enter your Wi-Fi password, Click “NEXT
- When it prompts “Added successfully” ,click “Done to complete the connection
- Click mesh to open mesh manage page, click “Add devices” ,choose” Associate Bluetooth Devices to add sub-device
- Select “Smart Curtain” , click “confirm” , click “Join, click finish
Note: Wi-Fi must be in 2.4G format, not 5G format.
Schedule Setting

Log in Tuya to open mesh manage page, click “Smart Curtain”, click “more” , choose “Schedule” , click “add”.
Note: If you want Schedule, please get a extra Hub first.
Remote Control(No distance limit)
After you add the Smart Curtain to mesh manage page, you use it to open or close you curtains when you are not at home.
Voice Control
Support Google Assistant,Amazon Alexa
- Alexa,close the curtains.
- Google,close my bedroom curtains
FCC Caution:
This device complies with part 15 of the FCC Rules. Operation is subject to the following two conditions: (1) This device may not cause harmful interference, and (2) this device must accept any interference received, including interference that may cause undesired operation.
Any Changes or modifications not expressly approved by the party responsible for compliance could void the user’s authority to operate the equipment.
Note: This equipment has been tested and found to comply with the limits for a Class B digital device, pursuant to part 15 of the FCC Rules. These limits are designed to provide reasonable protection against harmful interference in a residential installation. This equipment generates uses and can radiate radio frequency energy and, if not installed and used in accordance with the instructions, may cause harmful interference to radio communications. However, there is no guarantee that interference will not occur in a particular installation. If this equipment does cause harmful interference to radio or television reception, which can be determined by turning the equipment off and on, the user is encouraged to try to correct the interference by one or more of the following measures:
- Reorient or relocate the receiving antenna.
- Increase the separation between the equipment and receiver.
- Connect the equipment into an outlet on a circuit different from that to which the receiver is connected.
- Consult the dealer or an experienced radio/TV technician for help.
The device has been evaluated to meet general RF exposure requirement. The device can be used in portable exposure condition without restriction.




Installation diagram of left/right opening:



















