CTS T-240 Standard Water Pump Instruction Manual
Introduction
Adequate knowledge of cooling tower maintenance and control is necessary for optimum, safe performance over time. In this manual, equipment construction, function, operation and checking procedures will be described as follows:
TOWER CONSTRUCTION
Type
CTS incorporates an induced-draft counter-flow design with an axial flow fan mounted on top of the tower to draft air out. The low internal pressure loss and circular-shaped design ensure optimum efficiency and space economy.
Casing
The F.R.P. (fiberglass reinforced polyester) is composed of fiberglass mat laminated from unsaturated polyester resin. The high structural strength of the material protects the unit against impact and cracking. Gel coat is then applied to form a smooth surface and protect it from ultra violet rays.
Water Basin
Also made of F.R.P. material. The circular-shaped basin with a cylindrical suction sump (ST200-1000) keeps cavitation of the pump to a minimum. A drain connection is provided for removal of accumulated dirt from the basin.
Tower Support Framework
- T-25 – T-2175: The F.R.P. base legs are incorporated with the water basin in a single unit to withstand wind pressure and vibration.
- T-2200 – T-3000: Provided with hot-dip galvanized steel to resist corrosion and rust.
Motor Support Framework
Made of hot-dip galvanized steel to resist corrosion and rust.
Air Inlet Louver
The P.V.C. plastic mesh is fitted on the air inlet to prevent foreign material from falling into the basin of water splashing out of the basin.
Filling
Made of rigid polyvinyl chloride sheet which is embossed and corrugated in a honeycomb configuration. It provides maximum airto-water contact for highest thermal efficiency.
Sprinkler Device
Consists of a set of sprinkler pipes and one sprinkler head that is mounted on top of the stand pipe on the cooling tower. The sprinkler is rotated by the pressure of circulating water. There are numerous holes in the sprinkler pipe to allow the water to jet out as the pump impacts rotation.
The speed can be controlled by adjusting the sprinkling angle in accordance with the water flow rate. There are two types of sprinkler heads.
- T-25 – T-260: The outer casing is made of nylon material; the sliding part is lubricated by the water.
- T-270 – T-3000: The whole body is made of aluminum alloy and is fitted with sealed type bearings to take thrust and radial loads and to ensure that the sprinkler head revolves smoothly.
Fan Blade
The cooling tower blades move large volumes of air quietly and efficiently.
- T-25 – T-230: Made of reinforced plastic material, the blades are coupled to the fan hub by bolts and glue.
- T-240 & Above: Made of aluminum alloy, the blades are freely adjustable by the pitch angle scale of the fan hub.
PREPARATIONS FOR STARTING
Open the drain at the bottom of the water basin and wash dust and dirt away while scrubbing the water basin with a brush.
Trial Circulation Water
Fill water in the water basin to the level where the discharge from the ball tap stops. Slowly rotate the sprinkler by hand to check whether it is free. Start the circulating pump, and after washing the interior of the tower and the water pipes thoroughly, refill the circulating water.
Checking The Tower
After the circulation test, check if there is any dirt or foreign matter sticking to the interior of the tower or the outlets of the sprinkling pipes. Check to see if the speed reducer belt has been adjusted correctly.
After confirming that that the fan revolves smoothly by turning it by hand, check the state of the gap between the tip of the blades and the tower casing. Measure the supplied voltage and make sure that the power supply is in the regulated type. Revolve the fan for a short time and make sure that air is blown upward. Revolve the fan two or three hours to see if any vibrations or abnormal sounds are generated.
Slowly move the float of the ball tap up and down and make sure the discharge and control system of water is accurate.
In case the tower has been left idle for a long time, check the following points and make sure that nothing is wrong.
Confirm the insulation of the motor with a megger (see that it is 1MW or above using a 500V megger).
See that no loose nuts are found at various important junctions such as the tightened places of fan driving motor and the junctions between the supporting base and the tower casing. Turn the sprinkler with hand and see if it operates smoothly.
STARTING
Pump Driving
In order to make the circulating water fill every part of the circulation system, revolve the circulation pump for a short while, to drain the air out of the piping of the circulating water.
Before entering steady operation, confirm again that the water basin is filled to the specified level, and then start the pump.
Gradually open the adjusting valve and adjust it so that the water will reach the volume specified on the name plate of the cooling tower. When circulation of water becomes steady, check to see if the sprinkler is revolving smoothly and properly.
Fan Driving
Clean up the surroundings of the tower and make sure that no foreign matter is near the air inlet and outlet.
When the equipment goes into steady operation, measure phase voltages and phase currents to see if the motor is operating at the rated current range indicated on the name plate.
CAUTIONS DURING OPERATION
Performance
Since the cooling performance will be affected by the volume of the circulating water, be sure to maintain the regulation water flow at all times.
Keep the interior of the tower always clean and take care that no scale or moss grows.
Water Level
When the level of the water in the water basn drops, air is sucked in and “cavitation” may develop; therefore, it is necessary to keep the water at the proper level at all times.
Functioning
Pay close attention to the vibration, noise, temperature of the cooling water and electric current during operation and make sure that nothing goes wrong. Vibrations or noises come mainly from the moving parts in the speed reducer and the fan, be careful not to overlook even a slight defect.
Revolution of the Sprinkler
| T-2 | 3 | 5-30 | 40-60 | 80-250 | 300-350 | 400-700 | 800-3500 |
| RPM | 12-17 | 7-10 | 5-8 | 5-7 | 3.5-5 | 2.5-4 | 2-3 |
Sprinkler Head
| T-2 Model No: | 3-10 | 15-20 | 25-40 | 50-60 | 70-100 | 125-175 | 200-250 | 300-400 | 500-700 | 800-1500 |
| LSH Model No: | -040- | -050- | -065- | -080- | -100- | -125- | -150- | -200- | -250- | -300- |
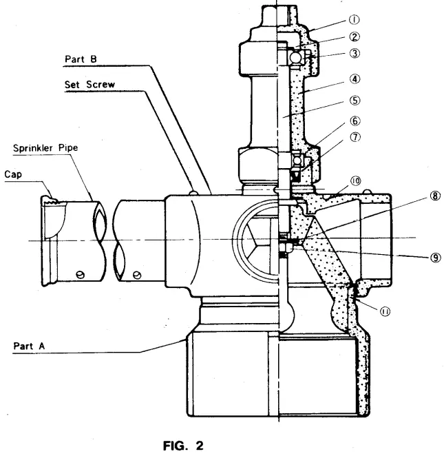
Specifications
| Item No: | ||||||||
| Description | LSH-100 | LSH-125 | LSH-150 | LSH-200 | LSH-250 | LSH-300 | ||
| 1 | Cap | |||||||
| 2 | Circlip | |||||||
| 3 | Bearing | 6301Z | 6302Z | 6302Z | 6303Z | 6304Z | 6405 | |
| 4 | Bearing Housing | |||||||
| 5 | Center Pole | |||||||
| 6 | Bearing | 6002Z | 6003Z | 6003Z | 6004Z | 6005Z | 6006Z | |
| 7 | Oil Seal | |||||||
| 8 | Spring Washer | |||||||
| 9 | Nut | |||||||
| 10 | Head | |||||||
| 11 | Body | |||||||
MAINTENANCE AND CONTROL
Sprinkler Pipe
The sprinkler pipe must be clean without blockage. If there is some foreign material retarded in the pipe, take the following steps:
- Loosen the set screw or lock nut on sprinkler device, then remove sprinkler pipe and clean.
- Align the dot mark on sprinkler head and reinstall.
For T-25 – T-215 models, they are fitted with type A and B pipe (the hole pitch is different to assure even water distribution.
Sprinkler Head
The sprinkler head rotation will slow or even stop if scale is stuck to it. In this case, check it as follows:
A. T-25 – T-260
- remove set screw cap on top of sprinkler head. -loosen nut and washer, then take head off.
- clean it with fresh water and check if any component is worn out.
B. T-270 – T-3000
- remove the cap and take circlip off.
- pull the rotary part off the fixing part and check: replace if necessary.
Tower Casing
No coating is needed for the tower casing as it is made of F.R.P. If it becomes soiled, wipe it with soap or a water-soaked piece of cloth and then wash it thoroughly with water.
Water Basin
As dust and dirt are liable to get into the water basin, open the drain at the bottom of the drop-in tank from time to time and wash it clean. This applies also to the water basin in particular, as sediments are liable to accumulate near the outlet, so keep the tank clean so that the strainer mesh will not be clogged.
Filling
No special care is needed if the control of the quality of water is adequate during operation.
Fan
Watch the surface of the blades carefully to see that no damage develops and make sure that proper space is maintained between the internal wall of tower casing and the tip of blades.
Coating
It is desirable to periodically redcoat the metal parts as they are subject to rusting.

(6) LBM V-BELT SPEED REDUCER
With increasing public awareness of noise, our engineers have developed a V-belt drive to reduce operating noise levels.
This new drive produces much lower noise levels than those obtained from conventional gear drives of the equivalent size. The V-belt is a wide angle (60°C) and is made of a special polyurethane compound with polyester tension cords (tensile member). Very compact V-belt drives are possible with this belt.
The life of the belts depends on the maintenance of proper tension. The adjusting gauge is factory set and should not be altered.
Testing of Drive Operation
After checking the belt adjustment, spin the fan by hand to see whether it is free. If it spins freely and smoothly, start the fan motor. After 2 to 4 hours operation, check amperage and voltage and compare the readings with motor nameplate data. Check the motor temperature and check noise and vibration
With proper maintenance, the V-belt drive will operate reliably; however, proper maintenance is essential and the following instructions are very important.
Belt Adjustment
Before operation, open the adjustment access cover and check whether the washer on the adjusting bolt is aligned with the adjusting gauge. (Ref. Fig. A) Tighten the adjusting nut if necessary.
During operation, the belt may stretch, allowing belt slip and abrasion. Hence, the belt tension should be checked according to the following:
- 50 hours after commissioning.
- Thereafter, carry out 3 checks, each at 100 hour intervals.
- After the 4th check, at 350 hours, then check each month. Off-Season Shut Down – For a long-time shut down, slacken the adjusting nut 4-5mm to prevent bolt stretch. Re-adjust belts prior to putting the cooling tower back into service.
Adjustment Precaution – If a gap exists between the adjusting gauge and the washer, the belts are too slack. If the washer and the adjusting nut overlap the adjusting gauge, the belts are too tight.
Maintenance
The following work should be performed.
- Drive Section
- Clean out the inside of the driving section annually.
- Motor Insulation
- Before putting the tower into service in each cooling season, check the motor insulation with a 500 Volt Megger. A resistance greater than 1MW is acceptable.
Bearings
Although it is unnecessary to lubricate the sealed bearings, an annual change of grease will extend their life. To repack the bearings, remove the seal plates with a sharp tool inserted as indicated by the arrow in Fig. B. Replace the seal plates after replacing the bearings.
LBM V-Belts
Maintain belt adjustment as described above. This drive uses high quality special V-belts. The V-belts are designed to operate 5,000 to 10,000 hours. If slipping or belt abrasion becomes evident after operating over 5,000 hours then replace the belt sets. If after 5,000 hours, excessive adjustments of belt tension are required due to belt stretch, the belts have reached the end of their life and should be replaced with belts as recommended in the V-belt table. Since V-belts are not widely available, please contact our nearest distributor for replacement. Belts must always be replaced in matched sets: i.e., both upper and lower sets must be replaced simultaneously. Hence, one faulty belt requires the replacement of up to 10 belts.
LBM V-Belt Table (I)
| LBM V-Belt Speed Reducer Model No. | T-2 Model | Fan Speed R.P.M. | Belts No. LBM V-Belt Model No. | Belts No. Upper Pulley | Belts No. Lower Pulley | Belts No. Total |
| LBM-005C | 225 & 250 | 398 | 2-11MS-800 | 1 | – | 1 |
| 3-11MS-800 | – | 1 | 1 | |||
| LBM-075 | 300 & 350 | 398 | 2-11MS-800 | – | 2 | 2 |
| 3-11MS-800 | 1 | – | 1 | |||
| LBM-110 | 400 & 500 | 342 | 2-11MS-1400 | 1 | – | 1 |
| 3-11MS-1400 | – | 1 | 1 | |||
| LBM-150 | 600 & 700 | 282 | 2-11MS-1400 | 1 | 1 | 2 |
| 3-11MS-1400 | – | 1 | 1 | |||
| LBM-220 | 800 & 1000 | 265 | 2-11MS-1550 | – | 2 | 2 |
| 3-11MS-1500 | 1 | 1 | 2 | |||
| LBM-300 | 1250 | 261 | 2-11MS-1550 | 2 | 2 | 4 |
| 3-11MS-1500 | – | 2 | 2 | |||
| LBM-375 | 1500 | 261 | 2-11MS-1550 | – | 7 | 7 |
| 3-11MS-1500 | 2 | – | 2 |
LBM V-Belt Table (II)
| LBM V-Belt Speed Reducer Model No. | T-2 Model | Fan Speed R.P.M. | Belts No. LBM V-Belt Model No. | Belts No. Upper Pulley | Belts No. Lower Pulley | Belts No. Total |
| LBM-055C | 225 & 250 | 398 | 11M-800 | 2 | 3 | 5 |
| LBM-075 | 300 & 350 | 398 | 11M-800 | 3 | 4 | 7 |
| LBM-110 | 400 & 500 | 342 | 11M-1400 | 2 | 3 | 5 |
| LBM-150 | 600 & 700 | 282 | 11M-1400 | 2 | 5 | 7 |
| LBM-220 | 800 & 1000 | 265 | 11M-1550 | 3 | 7 | 10 |
| LBM-300 | 1250 | 261 | 11M-1550 | 2 | 4 | 6 |
| LBM-375 | 1500 | 261 | 11M-1550 | 2 | 7 | 9 |
MOTOR AND LBM V-BELT SPEED REDUCER
LBM V-BELT SPEED REDUCER SECTION
| 1 | Support Pin | 14 | Key D | 27 | Key E | 40 | Key C |
| 2 | Adjusting Lever | 15 | Circlip D | 28 | Circlip B | 41 | Fan Shaft Nut |
| 3 | Adjusting Gauge | 16 | V-Belts (Lower) | 29 | Key B | 42 | Belt Case |
| 4 | Adjusting Spring | 17 | Grease Nipple | 30 | Belt Cover | 43 | Bearing F |
| 5 | Washer | 18 | Housing Cover No. 1 | 31 | Pulley No. 2 | 44 | Motor Shaft |
| 6 | Adjusting Bolt | 19 | Bearing D | 32 | Iterm. Shaft Housing | 45 | Terminal Box |
| 7 | Sight Glass | 20 | Oil Seal D | 33 | Bearing B | 46 | Stator Frame |
| 8 | Cooling Fan | 21 | Fan Shaft | 34 | Intermediate Shaft | 47 | Bearing A |
| 9 | Lifting Ring | 22 | Housing (Fan Shaft) | 35 | Bearing C | 48 | Set Screw 1 |
| 10 | Pulley No. 1 | 23 | Bearing E | 36 | Interm S. Housing Cover | 49 | Stator Coil |
| 11 | V-Belts (Upper) | 24 | Bearing G | 37 | Oil Seal C | 50 | Stator Core |
| 12 | Key A | 25 | Housing Cover No. | 38 | Pulley No. 3 | 51 | Rotor Core |
| 13 | Pulley No. 4 | 26 | Oil Seal E | 39 | Circlip C | 52 | Set Screw 2 |
LBM V-BELT SPEED REDUCER BEARING TABLE
| V-Belt Speed Reducer Model No. | T-2 Model | Bearing | ||||||
| F | A | B | C | D | E | G | ||
| LBM-055C | 225 & 250 | 6306z | 6308z | 6207 | 6309 | 6211z | 6012z | 51112 |
| LBM-075 | 300 & 350 | 6306z | 6308z | 6208z | 6310z | 6211z | 6012z | 51112 |
| LBM-110 | 400 & 500 | 6308z | 6309z | 6208z | 6310z | 6213z | 6213z | 51113 |
| LBM-150 | 600 & 700 | 6308z | 6309z | 6209z | 6313z | NJ313 | NJ215 | 51115 |
| LBM-220 | 800 & 1000 | 6309z | 6311z | 6213z | 6317z | NJ317 | NJ217 | 51117 |
| LBM-300 | 1250 & 1500 | 6312z | 6312z | 6213z | 6317z | NJ317 | NJ217 | 51117 |
To replace belts, remove the belt cover from the belt case, slacken the adjusting nut and push the intermediate pulley assembly toward the motor (refer Fig. C). Remove old belts and replace with new sets.
VBA V-Belt Speed Reducer
Belt Inspection and Adjustment
Initial inspection to be taken after first 100 hours of starting.
Following inspections, once every three months.
Check the belt with a tension meter measured at the mid-point of belt span by pressing the belt, to test the correlation between the load and displacement.
During the inspection, if the belt is found to be slack with insufficient tension, adjust the adjusting screw between the motor plate (motor-speed reducer support) and the fixing block (motor base), increase the distance between belt centers, until the belt tension is restored to standard specifications.
If belt slippage or abnormal noise is found, it indicates that the belt tension is insufficient; the belt tension shall be adjusted immediately. Belt tension adjustment measures are listed as follows: (shown in drawing)
(Please refer to the assembly drawing for details)
- Loosen nut A.
- Rotate nut B, so the motor is moved along the arrow direction.
- Each tensioning bolt should be adjusted with even force until the belt tension is restored to standard specifications.
- Tension (F) and volume of deflection (t) are marked on the nameplate of speed reducer.
Tighten nut A.
Maintenance
Filling oil into the grease nipple on the housing should be done once every three months, so as to prevent failure due to bearing oil shortage. Belt and pulley shall not be contaminated by oil to prevent belt slippage.
VBA Type Speed Reducer Profile
| 1. | Bearing F | 14. | Stator Coil | 27. | Housing |
| 2. | Motor Shaft | 15. | Stator | 28. | Fan Shaft |
| 3. | Terminal Box | 16. | Rotor | 29. | Bearing E |
| 4. | Motor Case | 17. | Set Screw 2 | 30. | Housing Cover No. 2 |
| 5. | Bearing A | 18. | Circlip | 31. | Key |
| 6. | Pulley No. 1 | 19. | Pulley No. 2 | 32. | Intermediate Bearing Housing |
| 7. | Circle clip | 20. | Belt Cover | 33. | Adjusting Bolt |
| 8. | Belt Case | 21. | Bearing B | 34. | Adjusting Spring |
| 9. | Circleclip | 22. | Intermediate Shaft | 35. | Adjusting Gauge |
| 10. | Pulley No. 4 | 23. | Bearing C | 36. | Washer |
| 11. | Housing Cover No. 1 | 24. | Pulley No. 3 | 37. | Adjusting nut |
| 12. | Bearing D | 25. | Circlip | 38. | Support Pin |
| 13. | Set Screw 1 | 26. | V-Belts | 39. | Bearing G |
Bearing Table of VBA Type Belt Speed Reducer
| Speed Reducer Model No. | T-2 Model | Bearings | |||
| A | B | Thrust Bearing | |||
| VBA-055-B | 225~250 | 6311Z | 6212Z | — | |
| VBA-075-B | 300~350 | 6311Z | 6212Z | — | |
| VBA-110-B | 400~500 | 6313Z | 6214Z | 51114 | |
| VBA-150-B | 600~700 | NJ314 | NJ216 | 51116 | |
| VBA-220-B | 800~3000 | NJ318 | NJ218 | 51118 | |
| VBA-300 | 3250 | NJ318 | NJ218 | 51118 | |
| VBA-375 | 3500 | NJ318 | NJ218 | 51118 | |
V-Belt Specification of VBA Type Belt Speed Reducer
| Speed Reducer Model No. | T-2 Model | Fan RPM | V Belts Model and Number of Belts |
| VBA-055-B | 225~250 | 398 | B-86 X 3 |
| VBA-075-B | 300~350 | 398 | B-86 X 4 |
| VBA-110-B | 400~500 | 342 | B-108 X 5 |
| VBA-150-B | 600~700 | 282 | B-130 X 6 |
| VBA-220-B | 800~1000 | 265 | B-145 X 7 |
| VBA-300 | 1250 | 261 | B-165 X 8 |
| VBA-375 | 1500 | 261 | B-165 X 10 |
PRECAUTIONS IN PROLONGED IDLENESS
Unless the circulation water is drained, it may freeze in winter and cause the pipes to crack. If the drain of the drop-in tan is kept open, rainwater and snow water will not accumulate in it. Make sure that tightening bolts on the various parts of the tower, especially on the moving parts are tight. As the cooling tower is installed on top of the roof, it is desirable to cover up the tower casing and the air exhaust outlet.
WATER TREATMENT
Bacterial Contamination
Bacterial contamination of recirculated water in the cooling tower is possible.
It is therefore recommended that, after the cooling tower is commissioned, a regular maintenance program be investigated. This should included treatment of the recirculated water. As we are not experts in this field, we strongly recommend that a reputable water treatment company be consulted for the treatment of the system’s recirculated water.
Water Quality Control
Poor quality of recirculated water due to air pollution, corrosion, scale and algae growth will impede the performance of water cooling equipment. We recommend a periodic water analysis and that blow-down be initiated to maintain the water quality within the water cooling system to the following criteria:
Permissible Value of Water Analysis (JCI Code)
| PARAMETER | Make-up water | Circulating water |
| PH (25° C) | 6-8 | 6-8 |
| Electric conductivity (mv/cm) | 200 below | 500 below |
| Total hardness (CaCO3) ppm | 50 below | 200 below |
| M alkalinity (CaCO3) ppm | 50 below | 100 below |
| Chlorine ion (CI) ppm | 50 below | 200 below |
| Sulphuric acid ion (SO4) ppm | 50 below | 200 below |
| Silicic acid (SiO2) ppm | 30 below | 50 below |
| Ferric (Fe) ppm | 0.3 below | 1.0 below |
Troubleshooting Chart
| Problem | Cause | Countermeasures |
| Rise In Cooling Water Temperature | Excess or inadequate cooling water flow. | Adjust to the specific flow. |
| Irregular flow of air. | Improve ventilation. | |
| Re circulation of air exhausted from tower. | Same as above or install baffles. | |
| Irregular operation of sprinkler pipes. | Rescale and check for obstructions or refer to section in Operation & Service Manual. | |
| Improper flow of air. | Adjust the angle of fan blades, if applicable. | |
| Blocking of the filling. | Clean any and all scale or build-up. | |
| Drop In The Volume of Cooling Water | Blocking of the sprinkler pipe holes. | See Section for Maintenance & Adjustment |
| Blocking of strainer mesh. | Remove strainer & clean or replace. | |
| Drop in water level of water basin. | Adjust the float valve assembly. | |
| Improper selection of water circulating pump. | Replace pump to meet proper pumping specifications. | |
| Noise and Vibration | Fan blade tips touching the fan stack. | Adjusting the fan mounting. |
| Improper mounting of the fan blades. | Correct the blade angle settings. | |
| Loose bolts. | Tighten loose bolts. | |
| Shortage of speed reducer oil. | Supply oil up to the level specified. | |
| Excessive Current Draw | Drop in voltage. | Check supply voltage & make sure it remains constant. |
| Irregularities in the angles of the fan blades. | Adjust fan blades angles. | |
| Overload through the excess air flow. | Adjust fan blades angles. | |
| Water Carry Over | Irregular operation of sprinkler pipes. | Adjust the angle of the sprinkler pipes in the sprinkler head. |
| Blocking of the filling. | Eliminate blockage at the upper edge of the filling. | |
| Defective eliminator. | Replace the eliminator. | |
| Too much circulating water. | Check the flow rates. Make sure they match +/- 20% of nominal flow. |
Construction & Installation Data

Support
Cooling Tower Systems, Inc.
196 Lower Cherry Street Macon, GA 31201
F: 478.755.8304
W: www.coolingtowersystems.com
E: [email protected]

















