INSTALLATION GUIDE FOR
QW16133MBK QW16133WS
SAFETY INFORMATION
Please read and understand this entire manual before attempting to assemble, install or operate the product.
WARNING
- RISK OF ELECTRIC SHOCK – Before beginning installation, turn off electricity at the circuit breaker box or the main fuse box.
- RISK OF FIRE – Use bulbs specified by the markings and/or labels on the fixture.
CAUTION
- For your safety, read instructions completely before beginning installation.
- If in doubt about electrical installation, consult a licensed electrician.
- Turn off electricity to fixture before replacing the bulb(s).
TOOLS REQUIRED

CARE AND MAINTENANCE
• Wipe clean using soft, dry cloth or static duster. Always avoid using harsh chemicals and abrasives to clean fixture as they may damage the finish.
If you need further assistance call Quoizel Customer Care at 1-800-645-3184 (9:00am – 5:00pm EST), or visit us on-line at www.quoizel.com.
PACKAGE CONTENTS

MOUNTING HARDWARE

INSTALLATION
Option 1 Portable:

- Install Wall Anchors and Screws
- Install Fixture Body

- Install Shade and Bulb
Install the correct bulb referring to fixture markings and/or labels for maximum wattage.
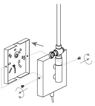
Option 2 Potable with Rods:
- Remove Inner Backplate

- Remove Supply Wire

- Install Rod and Wiring
Optional Rods:
Determine the rods to be assembled to the fixture body according to the desired mounting location.
Go to step 1 – step 3 of option 1 protable to complete the rest installations.
Option 3 Wall Fixture :
- Remove Inner Backplate

- Remove Supply Wire and install Bushing

- Install Inner Backplate

- Wiring

- Install Fixture Body

- Install Shade and Bulb
Install the correct bulb referring to fixture markings and/or labels for maximum wattage.

Your installation is now complete! Restore electricity and save this sheet for future reference.
Released Date: 202 -2 05-07

























