msi NXG253R 25 Inch Gamin Monitor

Getting Started
This chapter provides you with the information on hardware setup procedures. While connecting devices, be careful in holding the devices and use a grounded wrist strap to avoid static electricity.
Package Contents
| Monitor | Oculux NXG253R (3BB0) |
| Documentation | Quick Start Guide |
| Registration Card | |
| Warranty Card | |
| Accessories | Stand with Screw(s) |
| Rubber Screw Plug(s) | |
| Base with Screw | |
| Screw(s) for wall mount bracket | |
| Power Cord | |
| Power Adapter | |
| Cables | HDMI Cable (Optional) |
| DisplayPort Cable (Optional) | |
| USB Upstream Cable (for USB Type-B Upstream Port) (Optional) |
Important
- Contact your place of purchase or local distributor if any of the items is damaged or missing.
- Package contents may vary by country.
- The included power cord is exclusively for this monitor and should not be used with other products.
Installing the Monitor Stand
- Leave the monitor in its protective foam packaging. Align the stand bracket to the monitor groove.
- Tighten the stand bracket with screws. Insert the rubber screw plugs.
- Connect the base to the stand and tighten the base screw to secure the base.
- Make sure the stand assembly is properly installed before setting the monitor upright.

Important
- Adjusting the Monitor∙ Place the monitor on a soft, protected surface to avoid scratching the display panel.
- Do not use any sharp objects on the panel.
- The groove for installing the stand bracket can also be used for wall mount. Please contact your dealer for proper wall mount kit
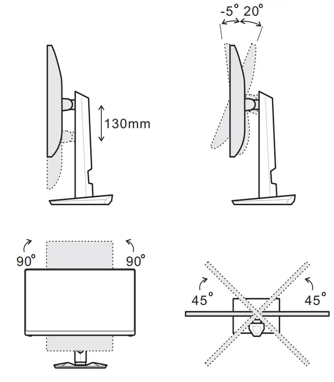
Adjusting the Monitor
This monitor is designed to maximize your viewing comfort with its adjustment capabilities.
Important
- Avoid touching the display panel when adjusting the monitor.
- Please slightly tilt the monitor backwards before pivoting it.

Monitor Overview


| ❶ | Power Button |
| ❶ | Navi Key |
| ❸ | Kensington Lock |
| ❹ | HDMI™ Connector ![]() |
❺ | DisplayPort |
| ❻ | Headphone Jack |
| ❼ | Power Jack |
| ❽ | USB 3.2 Gen1 Type-B Upstream Port For USB Upstream Cable.
Check the package for USB Upstream Cable and connect it to the PC and monitor. Once this cable is connected, the USB Type-A Downstream Ports on the monitor will be ready for use. |
| ❾ | USB 3.2 Gen 1 Type-A Port This connector is provided for USB peripheral devices. (Speed up to 5 Gbps)
To enable the NVIDIA Reflex Analyzer function, please plug in the wired or wireless NVIDIA Reflex Analyzer supported mouse to this specific port. |
| ❿ | USB 3.2 Gen 1 Type-A Port |
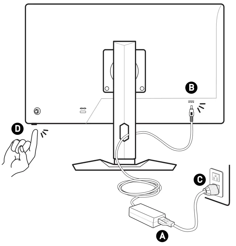
Connecting the Monitor to PC
- Turn off your computer.
- Connect the video cable from the monitor to your computer.
- Assemble the monitor power adapter & power cord. (Figure A)
- Connect the power adapter to the monitor power jack. (Figure B)
- Plug the power cord into the electrical outlet. (Figure C)
- Turn on the monitor. (Figure D)
- Power on the computer and the monitor will auto detect the signal source.

OSD Setup
This chapter provides you with essential information on OSD Setup.
Important
All information is subject to change without prior notice.
The monitor comes with a Navi Key, a multi-directional control that helps navigate the On-Screen Display (OSD) menu.
Up/Down/Left/Right:
- selecting function menus and items
- adjusting function values
- entering into/exiting from function menus
Press (OK):
- launching the On-Screen Display (OSD)
- entering submenus
- confirming a selection or setting
Hot Key
- Users may enter into Game Mode, Game Assistant, Alarm Clock and Input Source function menus by moving the Navi Key up, down, left or right when the OSD menu is inactive.
- Users may customize their own Hot Keys to enter into different function menus.

Gaming
| 1st Level Menu | 2nd/3rd Level Menu | Description | |
| Mode | User |
| |
| FPS | |||
| Racing | |||
| RTS | |||
| RPG | |||
| sRGB | |||
| Anti-Blue | |||
| Dark Boost | OFF |
| |
| Normal | |||
| Strong | |||
| Strongest | |||
| Response Time | Normal |
| |
| Fast | |||
| Fastest | |||
| Refresh Rate | Location | Left Top |
|
| Right Top | |||
| Left Bottom | |||
| Right Bottom | |||
| Customize | |||
| OFF | |||
| ON | |||
| Alarm Clock | Location | Left Top |
|
| Right Top | |||
| Left Bottom | |||
| Right Bottom | |||
| Customize | |||
| OFF | |||
| 15:00 | 00:01 ~ 99:59 | ||
| 30:00 | |||
| 45:00 | |||
| 60:00 | |||
| Game Assistant | None |
| |
![]() | |||
| Position | |||
| Reset | |||
G-SYNC® Processor
| 1st Level Menu | 2nd/3rd Level Menu | Description | |
| G-SYNC Esports | OFF |
| |
| ON | |||
| NVIDIA Reflex (OFF) (ON) | PC + Display Latency (OFF) (ON) |
| |
| Monitoring Sensitivity | Low | ||
| Medium | |||
| High | |||
| Show Rectangle (OFF) (ON) | |||
| Rectangle Present | Centered | ||
| Right Handed | |||
| Left Handed | |||
| Rectangle Location | |||
| Rectangle Size | |||
| NVIDIA ULMB | OFF |
| |
| ON | |||
| ULMB Pulse Width | 10~100 |
| |
| SDR Variable BL | OFF |
| |
| ON | |||
| HDR Variable BL | OFF |
| |
| ON | |||
| Variable BL Mode | Mode 0 |
| |
| Mode 1 | |||
| Mode 2 | |||
Image
| 1st Level Menu | 2nd/3rd Level Menu | Description | |
| Peak white (nits) | 40-450 |
| |
| Contrast | 0-100 |
| |
| Color Temperature | Cool |
| |
| Normal | |||
| Warm | |||
| Customization | R (0-100) | ||
| G (0-100) | |||
| B (0-100) | |||
| Gamma | 1.8 |
| |
| 2.0 | |||
| 2.2 | |||
| 2.4 | |||
| 2.6 | |||
| DP YCbCR sRGB | OFF |
| |
| ON | |||
| HDMI YCbCR sRGB | OFF |
| |
| ON | |||
| Screen Size | Auto |
| |
| Full Screen | |||
| Low Blue Light | OFF |
| |
| ON | |||
Input Source
| 1st Level Menu | 2nd Level Menu | Description |
| DP |
| |
| HDMI1 | ||
| HDMI2 | ||
| Auto Scan | OFF |
|
| 1st Level Menu | 2nd Level Menu | Description |
| Up / Down / Left / Right | OFF |
|
| Peak white (nits) | ||
| Mode | ||
| Game Assistant | ||
| Alarm Clock | ||
| Input Source | ||
| Refresh Rate | ||
| Info. On Screen | ||
| Dark Boost |
Setting
| 1st Level Menu | 2nd Level Menu | Description |
| Language | Chinese (Traditional) |
|
| English | ||
| French | ||
| German | ||
| Italian | ||
| Spanish | ||
| Korean | ||
| Japanese | ||
| Russian | ||
| Portuguese | ||
| Chinese (Simplified) | ||
| Thailand | ||
| Indonesian | ||
| Hindi | ||
| Turkish | ||
| Farsi(Persian) | ||
| Vietnamese | ||
| Hebrew | ||
| Bengali | ||
| Arabic | ||
| Danish | ||
| Dutch | ||
| Finnish | ||
| Norwegian | ||
| Polish | ||
| Swedish | ||
| Czech | ||
| Hungarian | ||
| Slovak | ||
| (More languages coming soon) | ||
| Deep Sleep | OFF |
|
| ON | ||
| Transparency | 0~5 |
|
| OSD Time Out | 5~30s |
|
| RGB LED | OFF |
|
| ON | ||
| Info. On Screen | OFF |
|
| ON | ||
| Reset | YES |
|
| NO |
Specifications
| Model | Oculux NXG253R (3BB0) | |
| Size | 24.5 inch | |
| Curvature | Flat | |
| Panel Type | Rapid IPS | |
| Resolution | 1920 x 1080 (FHD) | |
| Aspect Ratio | 16:9 | |
| Brightness (nits) | 400 | |
| Contrast Ratio | 1000:1 | |
| Refresh Rate | 360Hz | |
| Response Time |
| |
| I/O |
| |
| View Angles | 178°(H) , 178°(V) | |
| DCI-P3 / sRGB | 84.09% / 109.63% | |
| Surface Treatment | Anti-glare | |
| Display Colors | 1.07B | |
| Power Type | External Adapter | |
| Adapter Model | ADPC2090 | |
| Power Input | 100~240Vac, 50~60Hz, 1.5A | |
| Power Output | 20V | |
| Adjustment (Tilt) | -5° ~ 20° | |
| Adjustment (Swival) | -45° ~ 45° | |
| Adjustment (Height) | 0 ~ 130mm | |
| Adjustment (Pivot) | -90° ~ 90° | |
| Kensington Lock | Yes | |
| VESA Mounting | Plate Type: 100 x 100mm | |
| Dimension (W x D x H) | 560.1 x 233.7 x 399.3mm | |
| Weight | 6.47 Kg (net) 9.02 Kg (gross) | |
| Environment | Operating | Temperature: 0°C to 40°C Humidity: 20% to 90%, non-condensing Altitude: 0 ~ 5000m |
| Storage | Temperature: -20°C to 60°C Humidity: 10% to 90%, non-condensing | |
Preset Display Modes
| Standard | Resolution | Oculux NXG253R (3BB0) | |
| HDMI | DP | ||
| Full HD | 1920×1080 @60Hz | V | V |
| 1920×1080 @120Hz | X | V | |
| 1920×1080 @144Hz | V | V | |
| 1920×1080 @240Hz | V | V | |
| 1920×1080 @300Hz | X | V | |
| 1920×1080 @360Hz | X | V | |
| Video Timing Resolution | 720P | V | X |
| 1080P | V | X | |
| 1080P @120Hz | V | X | |
Troubleshooting
The power LED is off.
- Press the monitor power button again.
- Check if the monitor power cable is properly connected.
No image.
- Check if the computer graphics card is properly installed.
- Check if the computer and monitor are connected to electrical outlets and are turned on.
- Check if the monitor signal cable is properly connected.
- The computer may be in Standby mode. Press any key to activate the monitor.
The screen image is not properly sized or centered.
• Refer to Preset Display Modes to set the computer to a setting suitable for the monitor to display
No Plug & Play.
- Check if the monitor power cable is properly connected.
- Check if the monitor signal cable is properly connected.
- Check if the computer and graphics card are Plug & Play compatible.
The icons, font or screen are fuzzy, blurry or have color problems.
- Avoid using any video extension cables.
- Adjust brightness and contrast.
- Adjust RGB color or tune color temperature.
- Check if the monitor signal cable is properly connected.
- Check for bent pins on the signal cable connector.
The monitor starts flickering or shows waves.
- Change the refresh rate to match the capabilities of your monitor.
- Update your graphics card drivers.
- Keep the monitor away from electrical devices that may cause electromagnetic interference (EMI).
Safety Instructions
- Read the safety instructions carefully and thoroughly.
- All cautions and warnings on the device or User Guide should be noted.
- Refer servicing to qualified personnel only
Power
- Make sure that the power voltage is within its safety range and has been adjusted properly to the value of 100~240V before connecting the device to the power outlet.
- If the power cord comes with a 3-pin plug, do not disable the protective earth pin from the plug. The device must be connected to an earthed mains socket-outlet.
- Please confirm the power distribution system in the installation site shall provide the circuit breaker rated 120/240V, 20A (maximum).
- Always disconnect the power cord or switch the wall socket off if the device would be left unused for a certain time to achieve zero energy consumption.
- Place the power cord in a way that people are unlikely to step on it. Do not place anything on the power cord.
- If this device comes with an adapter, use only the MSI provided AC adapter approved for use with this device.
Battery
Please take special precautions if this device comes with a battery.
- Danger of explosion if battery is incorrectly replaced. Replace only with the same or equivalent type recommended by the manufacturer.
- Avoid disposal of a battery into fire or a hot oven, or mechanically crushing or cutting of a battery, which can result in an explosion.
- Avoid leaving a battery in an extremely high temperature or extremely low air pressure environment that can result in an explosion or the leakage of flammable liquid or gas.
- Do not ingest battery. If the coin/button cell battery is swallowed, it can cause severe internal burns and can lead to death. Keep new and used batteries away from children.
European Union:
Batteries, battery packs, and accumulators should not be disposed of as unsorted household waste. Please use the public collection system to return, recycle, or treat them in compliance with the local regulations.
Taiwan:
廢電池請回收
For better environmental protection, waste batteries should be collected separately for recycling or special disposal.
California, USA:
The button cell battery may contain perchlorate material and requires special handling when recycled or disposed of in California. For further information please visit: https://dtsc.ca.gov/perchlorate/
Environment
- To reduce the possibility of heat-related injuries or of overheating the device, do not place the device on a soft, unsteady surface or obstruct its air ventilators.
- Use this device only on a hard, flat and steady surface.
- To prevent the device from tipping over, secure the device to a desk, wall or fixed object with an anti-tip fastener that helps to properly support the device and keep it safe in place.
- To prevent fire or shock hazard, keep this device away from humidity and high temperature.
- Do not leave the device in an unconditioned environment with a storage temperature above 60℃ or below -20℃, which may damage the device.
- The maximum operating temperature is around 40℃.
- When cleaning the device, be sure to remove the power plug. Use a piece of soft
cloth rather than industrial chemical to clean the device. Never pour any liquid into
the opening; that could damage the device or cause electric shock. - Always keep strong magnetic or electrical objects away from the device.
- If any of the following situations arises, get the device checked by service personnel:
- The power cord or plug is damaged.
- Liquid has penetrated into the device.
- The device has been exposed to moisture.
- The device does not work well or you can not get it working according to the User Guide.
- The device has dropped and damaged.
- The device has obvious sign of breakage.
TÜV Rheinland Certification
TÜV Rheinland Low Blue Light Certification
Blue light has been shown to cause eye fatigue and discomfort. MSI now offers monitors with TÜV Rheinland Low Blue Light certification to ensure users’ eye comfort and well-being. Please follow the instructions below to reduce the symptoms from extended exposure to the screen and blue light.
- Place the screen 20 – 28 inches (50 – 70 cm) away from your eyes and a little below eye level.
- Consciously blinking the eyes every now and then will help to reduce eye strain after extended screen time.
- Take breaks for 20 minutes every 2 hours.
- Look away from the screen and gaze at a distant object for at least 20 seconds during breaks.
- Make stretches to relieve body fatigue or pain during breaks.
- Use the Reader/Anti-Blue mode or turn on the optional Low Blue Light function.
TÜV Rheinland Flicker Free Certification

- TÜV Rheinland has tested this product to ascertain whether the display produces visible and invisible flicker for the human eye and therefore strains the eyes of users.
- TÜV Rheinland has defined a catalogue of tests, which sets out minimum standards at various frequency ranges. The test catalogue is based on internationally applicable standards or standards common within the industry and exceeds these requirements.
- The product has been tested in the laboratory according to these criteria.
- The keyword “Flicker Free” confirms that the device has no visible and invisible flicker defined in this standard within the range of 0 – 3000 Hz under various brightness settings.
- The display will not support Flicker Free when Anti Motion Blur/MPRT is enabled. (The availability of Anti Motion Blur/MPRT varies by products.)
Regulatory Notices
CE Conformity
This device complies with the requirements set out in the Council Directive on the Approximation of the Laws of the Member States relating to Electromagnetic Compatibility (2014/30/EU), Low-voltage Directive (2014/35/EU), ErP Directive (2009/125/EC) and RoHS directive (2011/65/EU). This product has been tested and found to comply with the harmonized standards for Information Technology Equipment published under Directives of Official Journal of the European Union.
FCC-B Radio Frequency Interference Statement
This equipment has been tested and found to comply with the limits for a Class B digital device, pursuant to Part 15 of the FCC Rules. These limits are designed to provide reasonable protection against harmful interference in a residential installation. This equipment generates, uses and can radiate radio frequency energy and, if not installed and used in accordance with the instruction manual, may cause harmful interference to radio communications. However, there is no guarantee that interference will not occur in a particular installation. If this equipment does cause harmful interference to radio or television reception, which can be determined by turning the equipment off and on, the user is encouraged to try to correct the interference by one or more of the measures listed below:
- Reorient or relocate the receiving antenna.
- Increase the separation between the equipment and receiver.
- Connect the equipment into an outlet on a circuit different from that to which the receiver is connected.
- Consult the dealer or an experienced radio/television technician for help.
Notice 1
The changes or modifications not expressly approved by the party responsible for compliance could void the user’s authority to operate the equipment.
Notice 2
Shielded interface cables and AC power cord, if any, must be used in order to comply with the emission limits.
This device complies with Part 15 of the FCC Rules. Operation is subject to the following two conditions:
- This device may not cause harmful interference, and
- This device must accept any interference received, including interference that may cause undesired operation.
MSI Computer Corp.
901 Canada Court, City of Industry, CA 91748, USA (626) 913-0828
www.msi.com
WEEE Statement
Under the European Union (“EU”) Directive on Waste Electrical and Electronic Equipment, Directive 2012/19/EU, products of “electrical and electronic equipment” cannot be discarded as municipal waste anymore and manufacturers of covered electronic equipment will be obligated to take back such products at the end of their useful life.
Chemical Substances Information
In compliance with chemical substances regulations, such as the EU REACH Regulation (Regulation EC No. 1907/2006 of the European Parliament and the Council), MSI provides the information of chemical substances in products at: https://storageasset.msi.com/html/popup/csr/evmtprtt_pcm.html
RoHS Statement
Japan JIS C 0950 Material Declaration
A Japanese regulatory requirement, defined by specification JIS C 0950, mandates that manufacturers provide material declarations for certain categories of electronic products offered for sale after July 1, 2006.
https://storage-asset.msi.com/html/popup/csr/cemm_jp.html
India RoHS
This product complies with the “India E-waste (Management and Handling) Rule 2011” and prohibits use of lead, mercury, hexavalent chromium, polybrominated biphenyls or polybrominated diphenyl ethers in concentrations exceeding 0.1 weight % and 0.01 weight % for cadmium, except for the exemptions set in Schedule 2 of the Rule.
Turkey EEE Regulation
Conforms to the EEE Regulations of the Republic Of Turkey
Ukraine Restriction of Hazardous Substances
The equipment complies with requirements of the Technical Regulation, approved by the Resolution of Cabinet of Ministry of Ukraine as of December 3, 2008 № 1057, in terms of restrictions for the use of certain dangerous substances in electrical and electronic equipment. Vietnam RoHS
As from December 1, 2012, all products manufactured by MSI comply with Circular 30/2011/TT-BCT temporarily regulating the permitted limits for a number of hazardous substances in electronic and electric products.
Green Product Features
- Reduced energy consumption during use and stand-by
- Limited use of substances harmful to the environment and health
- Easily dismantled and recycled
- Reduced use of natural resources by encouraging recycling
- Extended product lifetime through easy upgrades
- Reduced solid waste production through take-back policy
Environmental Policy

- The product has been designed to enable proper reuse of parts and recycling and should not be thrown away at its end of life.
- Users should contact the local authorized point of collection for recycling and disposing of their end-of-life products.
- Visit the MSI website and locate a nearby distributor for further recycling information.
- Users may also reach us at [email protected] for information regarding proper disposal, take-back, recycling, and disassembly of MSI products.
Warning!
Overuse of screens is likely to affect eyesight.
Recommendations:
- Take a 10-minute break for every 30 minutes of screen time.
- Children under 2 years of age should have no screen time. For children aged 2 years and over, screen time should be limited to less than one hour per day
Copyright and Trademarks Notice
Copyright © Micro-Star Int’l Co., Ltd. All rights reserved. The MSI logo used is a registered trademark of Micro-Star Int’l Co., Ltd. All other marks and names mentioned may be trademarks of their respective owners. No warranty as to accuracy or completeness is expressed or implied. MSI reserves the right to make changes to this document without prior notice.
Technical Support
If a problem arises with your product and no solution can be obtained from the user’s manual, please contact your place of purchase or local distributor. Alternatively, please visit https://www.msi.com/support/ for further guidance






















