BR735D-UPS Surge Anticipating UPS Controller
Instruction Manual![]()
8a Hazoran st. P.O.B 8384 Poleg Ind.Area,
Tel. 972-9-8644500 Netanya, Israel Web
Site: www.amdar.com
Fax: 972-9-8356262
The Surge Anticipating UPS Controller, together with the Surge Anticipating Control Valve – SACV, are designed to protect pump unit systems by discharging pressure surge waves, caused by sharp liquid flow velocity changes at random pump operation stops. Normally, such a situation is encountered under Utility Power Supply failure, which usually generates undesired negative liquid pressure. The UPS senses such conditions and triggers an appropriate response in order to energize the SACV which, when being activated, discharges this undesired negative liquid pressure.
SAFETY INSTRUCTIONS

- Read the Operating Instructions carefully before installing, connecting (wiring), operating, or servicing the controller.
- Only qualified and fully trained personnel may carry out installation, maintenance, and repair work on this equipment.
- During installation work on equipment, the power supply must always be disconnected.
- WARNING! Opening the enclosure exposes hazardous voltages. Always refer service to qualified personnel only.
- Do not install substitute parts or perform any unauthorized modification of the product.
Return the product to AMDAR for service and repair to ensure that safety features are maintained.
INSTALLATION INSTRUCTIONS
Attention!
- Read the following information before installing.
- It is the customer’s responsibility to ensure that qualified mechanical and electrical technicians install the product.
- Before beginning installation disconnect all electrical power to the equipment.
Unpacking
After unpacking the unit, check it for compliance and any damages which may have occurred during shipment. This product’s ingress protection is IP54. Verify all seals are undamaged. 
Mounting
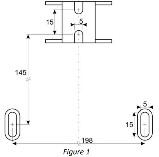
The SAVC is designed to be mounted on an outer wall. The unit is attached to the wall with three screws, as shown in figure 1.
When attaching the SAVC, fix the upper single bolt to the wall and hang the SAVC to mark the location of the two remaining bolts. Please notice that the two remaining bolts are behind the cover of the electrical wiring area.
Full external dimensions are in Figure 4. Please allow an extra 50mm from the glands for the electrical wiring cables.
Electrical Connection
During normal operation, the SAVC is connected to dangerous voltage AC circuits.
Before performing any electrical connection, disconnection or handling, ensure that the power supply to the equipment is disconnected.
Remark: Please notice that for safety, a new product is supplied with one disconnected battery wire. Open the partly transparent cover and connect it to the battery.
Description of Operation
Electrical wiring overview
Inputs and outputs of the SAVC are as follows: (Refer to Figure 2)
- Supply voltage: 230VAC / 50Hz. (Marked L1, N)
- Feedback input. (230VAC / 50Hz) from pump start contactor coil. (Marked A1, A2)
- Solenoid activation output: 24VDC. (Marked solenoid 24VDC +, -)
- Alarm Relay (standard marked) (Marked 11, 12, 14)
- RS485 Communication interface. (Marked A, B, Sh.)
- Aux. output voltage 24VDC / 100mA for external display (Marked 24VDC/100mA +, -)
Note: External display (Model AM736) is optional, rendering RS485 interface and Aux. output voltage optional.
Operation of the SAVC
The SAVC is constantly monitoring the input voltage. While the input voltage is OK, PWR LED is constantly lit green. When the input voltage is not OK, PWR LED is extinguished. 
The SAVC is monitoring pump activation using feedback input.
For all modes of error and warnings, please refer to Table 1. This table is also located on the rear side of the partly transparent cover.
There are two modes of solenoid operation: (select one using the program interface)
Mode P1 (default)
When encountering uncontrolled (unwanted) power failure while the pump is active; the SAVC enacts the electrical solenoid.
Mode P2
When encountering pump shutdown, even if the supply voltage is OK, the SAVC enacts the electrical solenoid.
Solenoid activation:
Solenoid activation time is for a period of 6÷180 seconds. (Programmable TSOL, Default: 60 seconds)
While the solenoid is enacted:
- The display shows the remaining time of the solenoid operation.
- TSOL LED is lit orange. In the case of solenoid fault, the TSOL LED is flashing red.
Solenoid activation can be delayed for a period of 0÷30 seconds.
(Programmable TD1, OFF (Default) or 0÷30 seconds)
While in solenoid activation delay:
- The display shows the remaining time until the solenoid is enacted.
- TD1 LED is lit.
Remark: Termination of solenoid operation before the TSOL timer ended is possible by pressing the “Test” pushbutton for a period of one second.
Batteries
Two 12V, 5AH maintenance-free Lead-Acid rechargeable type batteries are utilized to activate the SACV as well as to energize the electronic control circuits under Power Failure conditions. The batteries are serially connected in order to provide 24V.
The SAVC incorporates charging circuitry for the batteries.
The charging method is a Floating charge in constant voltage.
The SAVC is equipped with 3 test points (refer to Figure 3) in order to actively monitor battery voltage and set battery charge voltage.
Test points are “Charge Voltage”, Battery Voltage, and the ground-referenced point “COM”.
Charge voltage can be set using the “Charge Potentiometer”.
Remark: Max. charge current is 300mA.
The SAVC is constantly monitoring Battery voltage and charging parameters and provides warnings using the display and BATT. LED. (Refer to Table 2)
Since the main issue of the UPS is its ability to activate, under specified circumstances, two fully charged batteries, they must be protected from being completely or even partially depleted. As such, at the end of the user-defined operation period (6 to 120 sec.), the electronic circuit disconnects the SACV and also itself from the batteries.
Such an approach assures that even under extremely long Power Failure periods, which are quite uncommon, the batteries still keep adequate energy, in order to be ready for an additional Power Failure without being charged first.
Self Test
Pressing the “Test” pushbutton for 3 seconds starts the self-test. The display shows flashing “tst”.
While in test mode, the SAVC enacts the solenoid for the duration set by TSOL, after activation delay TD1. At the end of the test, the SAVC returns to its normal operation mode.
If while in the test procedure a real fault occurs, the SAVC completes the test operation with the preset time delays and when it concludes, the SAVC disconnects the solenoid and the batteries.
Self-test can be started only when the supply voltage is OK.
Alarm Relay
The alarm relay is activated in the following faults:
- Power Supply input fault
- The solenoid coil is disconnected or shorted.
- Battery: Short circuit, Low voltage or Battery wires disconnected.
- Communication fault (When communication is set to “ON”)
Programming
Programmable parameters:
| Description | Parameter Designator | Values | Default |
| Solenoid activation delay | TD1 (td.1 on display) | OFF, 0+30 Seconds | OFF |
| Solenoid activation time | TSOL (t.SoL on display) | 6+180 Seconds | 60 Seconds |
| Solenoid operation MODE | SoL.A (As on display) | P1 or P2 | P1 |
| Alarm relay operation mode | rELY (As on display) | Normal(1) or Reverse(2) | Normal |
| Communication test with a display unit (Model AM736) | 485.t (As on display) | ON or OFF | OFF |
- Normal – The relay is activated in alarm mode and deactivated otherwise.
- Reverse – Fail safe mode. The relay is deactivated in alarm mode and activated otherwise.
Programming Flowchart

External Dimensions (mm) (Figure 4)

Technical Data
| Supply Voltage | 230VAC±10% 50/60Hz (115VAC optional) |
| Time Delay – TSOL | 6÷180 Seconds. |
| Time Delay – TD1 | OFF or 0÷30 Seconds. |
| Alarm Relay | Changeover Contact: Floating Nominal Current: 5A @ 220VAC under resistive load Max. Values: 5A @ 30VDC, under resistive load |
| Load Current | Up to 2 solenoids of 24V / 10W (Under Fully Charged Batteries) |
| Fuse F1 | 4A internal fuse protects the output to the solenoid. |
| Self Consumption | 6VA |
| Net Weight | 4.2kg |
| Operating Temperature | 10°C-50°C |
| Protection Class | IP54 |
Wiring Diagram

Amdar Ltd.
The above data may be changed without prior notice
BR735D Extended Eng R1.0 1509


















