
Owner’s Manual
UPS Systems
Models: AVRX550UA, AVRX750UA
(Series Numbers: AG-0504, AG-0506)

Important Safety Instructions
SAVE THESE INSTRUCTIONS
This manual contains instructions and warnings that should be followed during the installation, operation, and storage of this product. Failure to heed these warnings may affect the warranty.
Explanation of Symbols
![]() | Caution |
![]() | Ground (Use this to connect any equipment that requires a chassis ground) |
![]() | This product contains lead and should be recycled |
![]() | TeVDSL protection jack input |
![]() | TeVDSL protection jack output to the telephone |
![]() | TeVDSL protection jack output to fax |
UPS Location Warnings
- Install your UPS in a controlled environment; indoors, away from excess moisture or heat, conductive contaminants, dust, or direct sunlight.
- For best performance, keep the indoor temperature between 32º F and 104º F (0º C and 40º C).
- Leave adequate space around all sides of the UPS for proper ventilation.
- Only set the UPS upright on a sturdy flat surface. Do not block fans or ventilation holes, as this will seriously inhibit the unit’s internal cooling and cause product damage not covered under warranty.
UPS Connection Warnings
- Connect your UPS directly to a properly grounded AC power outlet. Do not plug the UPS into itself; this will damage the UPS.
- Do not modify the UPS plug, and do not use an adapter that would eliminate the UPS ground connection.
- Do not use extension cords to connect the UPS to an AC outlet.
- If the UPS receives power from a motor-powered AC generator, the generator must provide clean, filtered, computer-grade output.
- The main socket outlet that supplies the UPS should be easily accessible and located near the UPS.
- For use on a TN power distribution system.
Equipment Connection Warnings
Short-circuit backup protection and overcurrent protection are provided by the building installation.
To reduce the risk of fire, connect only to a circuit-provided branch circuit overcurrent protection. The plug on the power supply cord is intended to serve as the disconnect device. Be sure the socket-outlet is installed near the equipment and is made easily accessible.
- Use of this equipment in life support applications where the failure of this equipment can reasonably be expected to cause the
failure of the life support equipment or to significantly affect its safety or effectiveness is not recommended. - Do not connect surge protectors or extension cords to the output of your UPS. This might damage the UPS and may affect
the surge protector and UPS warranties. - Connect the UPS to an outlet that is adequately protected against excess currents, short circuits and earth faults as part of
the building installation.
Battery Warnings
- Batteries can present a risk of electrical shock and burn from high short-circuit current. Observe proper precautions. Do not
dispose of the batteries in a fire. Do not open the UPS or batteries. Do not short or bridge the battery terminals with any
object. Unplug and turn off the UPS before performing battery replacement. Use tools with insulated handles. There are no
user-serviceable parts inside the UPS. Battery replacement should be performed only by authorized service personnel using
the same number and type of batteries (sealed lead-acid).
The batteries are recyclable. Refer to your local codes for disposal requirements or visit tripplite.com/support/recyclingprogram for recycling information.
Tripp Lite offers a complete line of UPS System Replacement Battery Cartridges (R.B.C.).Visit Tripp Lite on the Web at tripplite.com/products/battery-finder/ to locate the specific replacement battery for your UPS.
CAUTION: A battery can present a risk of electrical shock and high short-circuit current. Contact with any part of a grounded battery can result in electrical shock. The following precautions should be observed when working on batteries:
- Remove watches, rings or other metal objects.
- Use tools with insulated handles.
- Wear rubber gloves and boots.
- Do not lay tools or metal parts on top of batteries.
- Disconnect the charging source and load prior to installing or maintaining the battery.
- Remove battery grounds during installation and maintenance to reduce the likelihood of shock.
- Remove the connection from the ground if any part of the battery is determined to be grounded.
- Unplug the UPS from the AC mains receptacle. Disconnect all cables, including the equipment plugged into the UPS.
- Servicing of batteries should be performed or supervised by personnel knowledgeable about batteries and required precautions.
- When replacing batteries, replace with the same type and number of batteries or battery packs.
- CAUTION: Do not dispose of batteries in a fire. The batteries may explode.
- CAUTION: Do not open or mutilate batteries. Released electrolyte is harmful to the skin and eyes. It may be toxic.
UPS and Battery Recycling
Tripp Lite products use sealed lead-acid batteries, which are highly recyclable.
Call Tripp Lite at +1.773.869.1234 or visit tripplite.com/support/recycling-program for more information on recycling the batteries or any other Tripp Lite product. Please refer to local codes for disposal requirements.
Features

A ON/OFF/TEST BUTTON
- To Turn the UPS ON: Press and hold the ON/OFF/TEST button for one second.* If utility power is absent, pressing the button will “cold-start” the UPS, i.e. turn it on and supply power from its batteries.**
- To Turn the UPS OFF: Press and hold the ON/OFF/TEST switch for one second.* The UPS will turn off (deactivate) completely.
- To Run a Self-Test: With your UPS plugged in and turned ON, press and hold the ON/OFF/TEST button for three seconds.
CAUTION! To perform a self-test, you must hold the ON/OFF/TEST button continuously for three seconds. If you release the button too early, you will turn the UPS system OFF and cut power to connected equipment loads. To ensure you hold the button for the correct length of time, do not release the button until you hear the UPS system’s audible alarm beep twice.
The first beep occurs after one second and indicates that the UPS will turn OFF if the button is released. The second beep occurs after three seconds and indicates that the UPS will perform a self-test if the button is released.
The test will last approximately 10 seconds as the UPS switches to the battery to test its load capacity and charge. All LEDs will be lit and the UPS alarm will sound. See LED descriptions below to determine the results of the self-test.
Note: You can leave connected equipment on during a self-test.
CAUTION! Do not unplug your UPS to test its batteries. This will remove safe electrical grounding and may introduce a damaging surge into your network connections.
*The alarm will beep once briefly after one second has passed. **If fully charged.
B “ON/OFF” LED
These green LED lights continuously indicate that the UPS is ON and supply your equipment with AC power either from a utility source or from the UPS’s internal batteries. If the UPS’s alarm is sounding (4 short beeps followed by a pause), the UPS is operating from its internal batteries.
Features
C “OVERLOAD/CHECK BATTERY” LED
These red LED lights continuously after a self-test to indicate the capacity of the outlets has been exceeded. To clear the overload, unplug some of your equipment from the outlets; then use the ON/OFF/TEST button to run a self-test. If the UPS continues to detect an overload, remove more equipment and repeat the self-test until successful. CAUTION! Any overload that is not corrected by the user immediately following a self-test may cause the UPS to shut down and cease supplying output power in the event of a blackout or brownout. The LED flashes to indicate the battery needs to be recharged or replaced. If the LED flashes (and continuous alarm sounds) during a prolonged blackout or brownout, the UPS’s batteries are nearly out of power; you should save files and shut down your equipment immediately. If the LED flashes following a UPS self-test (after the UPS is turned ON), it may indicate that the battery needs to be replaced. Allow the UPS to recharge continuously for 12 hours; then use the ON/OFF/TEST button to run a self-test. If the LED continues to flash, contact Tripp Lite for service. Should your UPS require battery replacement, visit Tripp Lite on the Web at tripplite.com to locate the specific replacement battery for your UPS.
D AUTOMATIC VOLTAGE REGULATION (internal)
Automatically adjusts to incoming voltage fluctuations (under and over) to supply connected equipment with 230V computer-grade output power. Automatic voltage regulation functions separately from battery power and will not drain the battery.
E BATTERY, SURGE, AND NOISE PROTECTED OUTLETS
Provide both battery backup and surge protection. Plug your computer, monitor, and other critical equipment into these outlets.
Note: DO NOT PLUG LASER PRINTERS INTO THESE OUTLETS.
F SURGE AND NOISE PROTECTED OUTLETS
Provide surge protection only. Plug non- or less-critical equipment not requiring battery backup into these outlets.
G AC INLET (C14)
Accepts a user-supplied power cord with a country-specific plug.
Note: Cables and dongle accessories compatible with Australian outlets are included.
H USB COMMUNICATION PORT (HID-Compliant)
This port can connect your UPS to any computer for automatic file saves and unattended shutdown in the event of a power failure. Use with Tripp Lite’s PowerAlert®
software and appropriate USB cable. A PowerAlert CD and USB cable may be included with your UPS; if so, insert the CD into the CD tray of your computer and follow the installation instructions. If PowerAlert software and the appropriate cable did not come with your UPS, you can obtain the software FREE via the Web at www.tripplite.com. This port can also be used with the built-in power management utilities of Mac OS ®, Linux ®, and Windows ® for basic system shutdown and monitoring functions. Any USB cable may then be used to connect your UPS to your computer.
Note: This connection is optional. The UPS will work properly without this connection.
CAUTION: Users must take proper care to minimize electrostatic events. In the event of a severe electrostatic discharge on or near the USB port, this UPS may shut down automatically. In the case of a shutdown, the UPS will need to be turned back on.
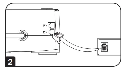
I TEL/DSL PROTECTION JACKS
Stop surges on the phone or fax line. Connecting your equipment to these jacks is optional. Your UPS will work properly without this connection.
J GROUND CONNECTION
Use this to connect any equipment that requires a chassis ground.
K BATTERY REPLACEMENT DOOR (bottom panel, not shown)
Under normal conditions, the original battery in your UPS will last several years. Battery replacement should be performed only by qualified service personnel. Refer to “Battery Warnings” in the Safety section. Should your UPS require battery replacement, visit Tripp Lite on the Web at tripplite.com/support/battery/index.cfm to locate the specific replacement battery for your UPS.
Installation

- Unplug the computer’s power cord from both your AC outlet and the computer’s AC input. Insert the female end (C13) of the computer’s cord A into your UPS’s AC inlet
(C14). Insert the male plug of your computer’s cord into your AC outlet. Insert the female end (C13) of the power cord that came with your UPS B into the computer’s AC
input. Insert the power cord’s male end (C14) into any of your UPS’s battery backup outlets.
- Plug the remaining equipment into the UPS.

- Push the ON/OFF/TEST button for one second to turn the UPS on (see Features Section). Please Note! The UPS will not turn on automatically in the presence of live utility power.
Note: UPS system will function properly upon initial startup; however, maximum runtime for the unit’s battery will only be accessible after it has been charged for 24 hours.
Optional Installation
These connections are optional. The UPS will function properly without these connections.
- USB Communication Port: This port can connect your UPS to any computer for automatic file saves and unattended shutdown in the event of a power failure. Use with Tripp Lite’s PowerAlert software, available as a FREE download from tripplite.com/support, and the included USB cable to connect your UPS to your computer.
Note: This connection is optional. The UPS will work properly without this connection.
- Telephone/DSL Protection Jacks: Your UPS has jacks that protect against surges over a telephone/DSL line. Using telephone data cables, connect your wall jack to the UPS jack marked “IN.” Connect your equipment to the UPS jack marked “OUT.” Make sure the equipment you connect to the UPS system’s jacks is also protected against surges on the AC line.

Troubleshooting
If the LINE POWER indicator light (LCD screen on Digital models) does not illuminate when the UPS is turned ON, try the following:
- Make sure the UPS is plugged into a live AC outlet.
- If your UPS has a sliding ON/OFF switch, place it back in the OFF position, wait several seconds, then place it in the ON position again.
- If your UPS has an ON/OFF button, you must press it for at least one second to start the UPS. (A beep should sound when the UPS starts.)
- If the UPS still does not start, contact Tripp Lite Tech Support for assistance.
Storage and Service
Storage
To avoid battery drain, all connected equipment should be turned off and disconnected from the UPS. Press the power button and disconnect the unit from AC power. Your UPS will be completely turned off (deactivated) and will be ready for storage. If you plan on storing your UPS for an extended period, fully recharge the UPS batteries every three months. Plug the UPS into a live AC outlet, turn it on by pressing the power button and allow the batteries to recharge for 4 to 6 hours. If you leave your UPS batteries discharged for a long period of time, they will suffer a permanent loss of capacity.
Service
A variety of Extended Warranty and On-Site Service Programs are available from Tripp Lite. For more information on service,
visit tripplite.com/support. Before returning your product for service, follow these steps:
- Review the installation and operation procedures in this manual to ensure the service problem does not originate from a
misreading of the instructions. - If the problem continues, do not contact or return the product to the dealer. Instead, visit tripplite.com/support.
- If the problem requires service, visit tripplite.com/support and click the Product Returns link. From here you can request a Returned Material Authorization (RMA) number, which is required for service. This simple online form will ask for your unit’s model and serial numbers, along with other general purchaser information. The RMA number, along with shipping instructions, will be emailed to you. Any damages (direct, indirect, special, or consequential) to the product incurred during shipment to Tripp Lite or an authorized Tripp Lite service center is not covered under warranty. Products shipped to Tripp Lite or an authorized Tripp Lite service center must have transportation charges prepaid. Mark the RMA number on the outside of the package. If the product is within its warranty period, enclose a copy of your sales receipt. Return the product for service using an insured carrier to the address given to you when you request the RMA.
Specifications
| Model | AVRX550UA (AG-0504) | AVRX750UA (AG-0506) |
| Input | 230V, 50/60 Hz 10A 10 | 230V, 50/60 Hz 10A 1,1) |
| Output | 230V, 50/60Hz 2.4A, 550VA, 300W | 230V, 50/60Hz 3.3A, 750VA, 450W |
| Protective Class | ||
| Input/Output Electrical Supply | TN | |
| Short Circuit Ratings | Icc < 1kA | |
| IP Rating | IPXO | |
| Standard | IEC 62040-1:2017 | |
| Dimensions (H x W x D) | 8.3 x 28 x 15 cm | 10.2 x 30.5 x 17.8 cm |
| Mass | 3.8 kg | 6.5 kg |
| Operating Temperature | 0°C to 40°C | |
| Storage Temperature | -15°C to 45°C | |
| Humidity | 0% to 75% non-condensing | |
| Operating Altitude | 0 m to 2,000 m | |
| Storage Altitude | 0 m to 3,000 m | |
| Pollution | PD2 | |
| Overvoltage Category | II | |
| Mechanical Vibration Class | 3M1 1 m/s2 | |
Regulatory Compliance
Regulatory Compliance Identification Numbers
For the purpose of regulatory compliance certifications and identification, your Tripp Lite product has been assigned a unique serial number. The serial number can be found on the product nameplate label, along with all required approval markings and information. When requesting compliance information for this product, always refer to the series number. The series number should not be confused with the marking name or model number of the product.
EMC Specifications for Models with EMC Category C2 Approval (Select Models):
WARNING: This is a category C2 UPS product. In a residential environment, this product may cause radio interference, in which case the user may be required to take additional measures.
WEEE Compliance Information for Tripp Lite Customers and Recyclers (European Union)
Under the Waste Electrical and Electronic Equipment (WEEE) Directive and implementing regulations, when customers buy new electrical and electronic
equipment from Tripp Lite they are entitled to:
• Send old equipment for recycling on a one-for-one, like-for-like basis (this varies depending on the country)
• Send the new equipment back for recycling when this ultimately becomes waste
Tripp Lite has a policy of continuous improvement. Product specifications are subject to change without notice. Photos and illustrations may differ slightly from
actual products.

1111 W. 35th Street, Chicago, IL 60609 USA • tripplite.com/support
21-03-272 93-3C79_RevB



























