Johan Lewis Boundary Wall light

Thank you for purchasing this Boundary wall light. Please read the instructions carefully before use to ensure safe and satisfactory operation of this product.
Warnings!
- This is a Class II product and must not be earthed.
- Please read these instructions carefully before commencing any work. It is recommended that this fitting is installed by a qualified electrician.
- Install in accordance with the IEE Wiring regulations and the Building Regulations.
- To prevent electric shock switch off at mains supply before installing or maintaining this fitting. Ensure other persons cannot restore the electrical supply without your knowledge.
- If you are in any doubt, please consult a qualified electrician.
- This light fitting should be connected to a 5 amp fused circuit.
- If replacing an existing fitting, make a note of the connections.
- This product is suitable for indoor use only.
- This product is suitable for installation on surfaces with normal flammability e.g. wood, plasterboard, masonry. It is not suitable for use on highly flammable surfaces (e.g. polystyrene, textiles).
- For your safety, always switch off the supply before changing lightbulbs, cleaning or removing shades. Always take care when handling lightbulbs to avoid injury in case of breakage.
Parts list
Assembly
Carefully unpack the carton, making sure all the parts are present before assembly.
Step 1: Before removing the existing fitting, carefully note the position of each set of wires.
Step 2: Using the supplied A4 template, and measuring distances between the fixing holes on the product, mark the position of the fixings on the wall. Drill the holes and insert wall plugs, taking care to avoid damaging any concealed wiring or pipes. Ensure the template is correctly oriented.
Step 3: Refer to Figure 1. For the two upper keyhole fixings, secure the supplied screws and wall plugs into the two fixing holes. Make sure the screws are protruding slightly from the wall – the same distance for both screws so the product hangs level.
Step 4: Locate the product over the two keyhole fixings and rest against the wall.

Step 5: Refer to Figure 2. Hold the fixing bracket against the product and secure to the wall using the remaining fixings.
Step 6: Having identified the household wiring from your existing light fitting, connect to the connection block inside the product in the following way:
Check that…..
- You have correctly identified the house wires.
- The connections are tight.
- No loose strands have been left out of the connection block.
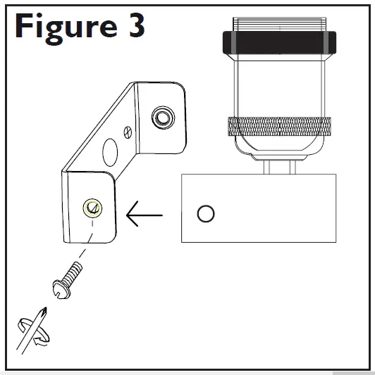
Step 7: Refer to Figure 3. Attach the product to the fixing bracket by refitting the screws at the side of the product. Take care not to trap any wiring. Ensure the product is correctly oriented with the lamp holder facing upwards.
Step 8: Fit the bulb as per the details overleaf.
Step 9: Replace fuse or circuit breaker and switch on. Your light is now ready for use.
Care Instructions
We recommend cleaning with a soft dry cloth. Do not use abrasive materials as these will damage the finish.
Recommended bulb (not included)
1 x 6W SES LED Energy efficient classic GLS
or
1 x 28W SES Eco Halogen GLS
When changing a bulb, always switch off at the mains and allow the bulb to cool before handling. Dispose of used bulbs carefully. Do not exceed the rated power stated or use a different shape bulb from that indicated on the fitting.
Specifications
Max. power: 40W
Voltage: 240V, 50Hz
IP rating: IP20
Weight: 0.98kg
Please keep these instructions for future reference.
This symbol indicates that this product should not be treated as normal household waste and it should be recycled. John Lewis do not operate instore take back, but as members of the Distributor Trade Back scheme have funded the development and upgrade of recycling facilities across the UK. Please take it to your nearest collection facility or for further details contact your local council or visit www.recycle-more.co.uk.
We have taken great care to ensure that this product reaches you in perfect condition. However, should any parts be damaged or missing please contact the Product Helpline on (01202) 690945.
John Lewis Partnership
171 Victoria Street
London SW1E 5NN
johnlewis.com
Made in China




















