![]()
IL3282
Thank you for buying this Litho LED wall light.
Please read the instructions and warnings carefully before use to ensure the safe and satisfactory operation of this product.
This product is Class I and must be earthed
Warnings
- It is recommended that this fitting is installed by a qualified electrician.
- This fitting should be fitted in accordance with IEE Wiring Regulations and the Building Regulations.
- To prevent electrocution switch off at the mains supply before installing or maintaining this fitting. Ensure other persons cannot restore the electricity supply without your knowledge.
- If you are in doubt please consult a qualified electrician.
- To avoid damage to concealed wiring during installation, establish the direction of the supply cable before drilling fixing holes.
- This fitting should be fitted to a lighting supply with a protected 5 amp fuse or equivalent circuit breaker.
Indicates that the fitting is suitable for mounting on normally flammable surfaces.- Always be sure to use the correct type and wattage of bulbs as indicated on the fitting. Never exceed the wattage stated.
- This fitting incorporates fixed designated LED’s which are non-replaceable.
Instructions for use
- Ensure the house electricity supply is off at the fuse board.
- If you are fitting this unit in place of the existing light, you may find that there are more than 3 sets of cables connected within the backplate. Before removing the existing fitting, carefully note the position of each set of cables.
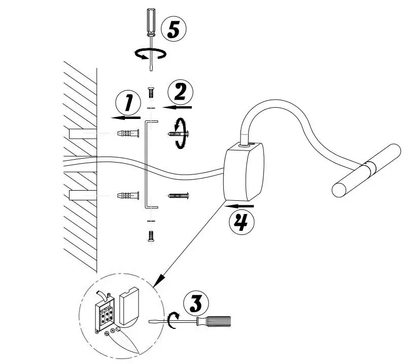
- Remove the mounting bracket from the fitting by undoing the 2 screws located on the side of the backplate.

- Using the bracket as a template mark and then drill holes into the wall. Ensure that the holes are drilled into a suitable surface and not just plasterboard. Secure the bracket to the wall using suitable fixings but do not attach the backplate at this point.
- Make the electrical connections as follows: Open the connector block housing by firmly pulling the block out of the housing. Feed the supply cable through rubber sleeving. The weight of the fitting must be supported whilst you making the electrical connections as follows:
Connect supply live (normally brown or red) to fitting life (marked “L”) on the terminal block. Connect supply neutral (normally blue or black) to fitting neutral (marked “N”) on the terminal block. Connect supply earth (normally green/yellow or unsheathed) to earth (marked “
” or “E”) on the terminal block.
Ensure electrical connections are tight and no loose strands of wire are left out of the connector block. - Secure the backplate to the bracket using the screws removed earlier, ensure that the holes are aligned and no wires are trapped during this process.
- Switch on the electricity supply at the fuse board.
Please retain this information leaflet for future reference
GENERAL INFORMATION
This product is designed for internal use only
Do not use polish or an abrasive cleaner – just a soft dry cloth.
John Lewis Partnership 171 Victoria Street London SW1E 5NN
www.johnlewis.com
Issue 1 04/16



















