
User manual
Lawrence
LED Ceiling light

Thank you for purchasing this Lawrence LED ceiling light. Please read the instructions carefully before use to ensure the safe and satisfactory operation of this product.
Warnings!
- For your safety, this product must be installed in accordance with local Building Regulations. If in any doubt, or where required by the law, consult a competent person who is registered with an electrical self-certification scheme. Further information is available online or by phones your Local Authority.
- To prevent electric shock, switch off the mains supply before installing or maintaining this product. Ensure other persons cannot restore the electricity supply without your knowledge.
- The light source of this luminaire is not replaceable; when the light source reaches its end of life the whole luminaire shall be replaced.
The bulb and surrounding parts can become extremely hot during use. - This product is Class II =¤ and should be fitted to a lighting Supply protected by a 5 amp fuse or equivalent circuit breaker.
- For indoor use only.

Assembly
Never install your appliance on a wet, freshly painted, or plastered surface.
Ensure the house electricity supply is switched off at the fuse box.
If removing an existing fitting, note down all wiring connections.
Follow the diagram below for fixing detail.
Check the fixings will not touch any existing wiring before drilling and attaching the light to the wall.
Ensure you thread the wall wires through the black insulating tube fixed to the appliance.
- Ensure the house electricity supply is off at the fuse board.
- If removing an existing fitting, first note down all wiring connections.
- Remove mounting bracket from the fitting by removing the retaining screws and washers, retain for later.
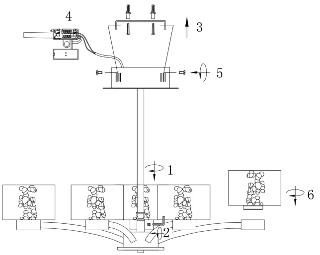
- Attach the main stem by screwing it into the lamp holder section of the fitting as shown as a figure1 in the assembly diagram. Once tight, use the hex key provided to tighten the single grub screw located on the stem receiving collar to lock into place2
- Using the mounting bracket as a template, mark and then drill the fixing holes in the ceiling (ensure holes are drilled into a secure joist). Take care not to damage wiring.
- Attach the mounting bracket to the mounting surface using suitable fixings. Do not attach the fitting to the mounting bracket at this stage. Make sure no wires are trapped in the process3
- Lever open the terminal block box cover with a screwdriver then feed supply cable through rubber sleeving and make electrical connections as follows4:Connect supply live (normally brown or red) to fitting life (marked “L”) on Connect supply neutral (normally blue or black) to fitting neutral (marked “N”) on the terminal block.
NO EARTH must be connected to any part of this fitting. If there are any earth wires present in the ceiling these must be terminated into a separate terminal block (not supplied) to ensure continuity of the earth circuit is maintained.
Ensure electrical connections are tight and no loose strands of wire are left out of the connector block and the rubber sleeve is seated correctly. - The excess cable must be carefully located inside the ceiling cup or within the ceiling void. Carefully offer fitting over mounting bracket then secure in place with the screws and washers removed earlier5
- To fit the shades: Offer the shade up to the threaded underside of the lamp holder as shown in figure 6 of the diagram. Carefully screw the shade in place taking care, not to over tighten as this may cause damage to the fitting. Ensure that the shades are fully secured before leaving unattended.
Once installation is complete, the house electricity may be restored at the
fuse box.
Care instructions
Wipe clean with a clean dry cloth, when product is switched off and has
cooled down.
Specifications
Max. Power: 17.5W
Voltage: 220-240V, 50Hz
Weight: 3.4kg

Please retain these instructions for future reference.
John Lewis Partnership
171 Victoria Street
London SW1E 5NN
johnlewis.com
Made in China
Issue 2 12/16



















