John Lewis Linton Wall Light

Thank you for purchasing this Linton wall light. Please read the instructions carefully before use to ensure safe and satisfactory operation of this product.
Warnings!
This is a Class II product and must NOT be earthed. For your safety, this product must be installed in accordance with local Building Regulations. If in any doubt, or where required by the law, consult a competent person who is registered with an electrical self-declaration scheme. Further information is available online or from your Local Authority. To prevent electric shock switch off at mains supply before installing or maintaining this fitting. Ensure other persons cannot restore the electrical supply without your knowledge. This light fitting should be connected to a 5 amp fused circuit. This product is suitable for installation on surfaces with normal flammability e.g. wood, plasterboard, masonry. It is not suitable for use on highly flammable surfaces (e.g. polystyrene, textiles). Ensure the correct fixings are used for the installation surface. For your safety, always switch off the supply before cleaning or adjusting. This product is not dimmable.
Parts list
Assembly
Refer to assembly drawing opposite. Carefully unpack the carton, making sure all the parts are present before assembly.
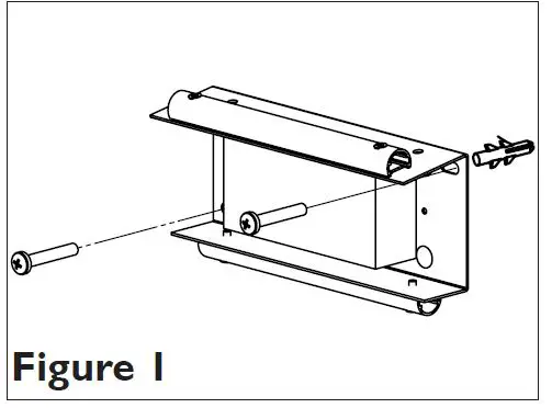
Step 1
Before removing the existing fitting, carefully note the position of each set of wires.
Step 2
Remove the 2 hex screws at the top of the product using the supplied hex key to detach the wall back. Keep screws safe for refitting later.
Step 3
See Figure 1. Using the wall back as a template, mark the position of the fixing holes. Make sure the wall back is correctly oriented as per the UP arrow. Drill holes and fit supplied wall plugs (suitable for masonry only – for other surfaces use appropriate fixings). Take care not to damage any concealed wiring or pipes. Fix the wall back to the wall using the supplied screws.
Step 4
Having identified the household wiring from your existing light fitting, connect to the connection block inside the product as shown. When completed, ensure that there are no bare or loose strands of wire exposed.
Check that
You have correctly identified the house wires. The connections are tight. No loose strands have been left out of the connection block.
Step 5
See Figure 2. Refit the shade to the wall back.
Step 6
Replace fuse or circuit breaker and switch on. Your light is now ready for use.
Care instructions
We recommend cleaning with a soft dry cloth. Do not use abrasive materials as these will damage the finish.
Recommended bulb
2 x 4.5 Watt energy efficient LED
This product contains a non-replaceable LED Module. If the LEDs become damaged then the whole product must be replaced. When moving or cleaning, always switch off at the mains and allow the module to cool before handling.
Specifications
- Max. power: 2×4.5W
- Voltage: 240V, 50Hz
- IP rating: IP20
- Weight: 0.54kg
- 835 lumen output
- Colour temperature: Warm white (3000K)
This symbol indicates that this product should not be treated as normal household waste and it should be recycled. John Lewis do not operate instore take back, but as members of the Distributor Trade Back scheme have funded the development and upgrade of recycling facilities across the UK. Please take it to your nearest collection facility or for further details contact your local council or visit www.recycle-more.co.uk
We have taken great care to ensure that this product reaches you in perfect condition. However, should any parts be damaged or missing please contact the Product Helpline on (01202) 690945.
John Lewis Partnership
171 Victoria Street
London SW1E 5NN
johnlewis.com
Made in China


















