IL1182
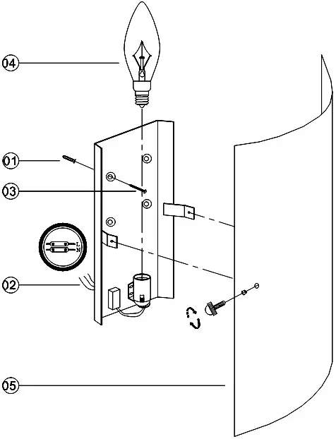
SCROLL GLASS WALL LIGHT
Thank you for buying this Scroll glass wall light.
Please read the instructions and warnings carefully before use to ensure safe and satisfactory
operation of this product.
This product is Class I and must be earthed.
Warnings
- It is recommended that this fitting is installed by a qualified electrician.
- This fitting should be fitted in accordance with IEE Wiring Regulations and the Building Regulations.
- To prevent electrocution switch off at the mains supply before installing or maintaining this fitting. Ensure other persons cannot restore the electricity supply without your knowledge.
- If you are in doubt please consult a qualified electrician.
- To avoid damage to concealed wiring during installation, establish the direction of the supply cable before drilling fixing holes.
- This fitting should be fitted to a lighting supply with a protected 5 amp fuse or equivalent circuit breaker.
Indicates that the fitting is suitable for mounting on normally flammable surfaces.- Always be sure to use the correct type and wattage of bulbs as indicated on the fitting. Never exceed the wattage stated.
- When changing the bulb, always switch off at the mains and allow the old bulb to cool down before handling. Dispose of used bulbs carefully.
Instructions for use

- Ensure the house electricity supply is off at the fuse board.
- Before removing the existing fitting, carefully note the position of each set of cables. If there are loop in cables that are not connected to the light these must be terminated in a separate terminal block not connected to the fitting.
- Using the backplate as a template, hold it against the wall and mark and then drill the fixing holes. (1) Ensure holes are drilled into a solid wall or another suitable mounting.
- Undo the connector block box cover with a screwdriver, take care not to lose screws.
(1) Make electrical connections as follows. Connect supply live (normally brown or red) to fitting life (marked “L”) on the terminal block. Connect supply neutral (normally blue or black) to fitting neutral (marked “N”) on the terminal block. Connect supply earth (normally green/yellow or unsheathed) to earth (marked “
”) on the terminal block.
NOTE: Ensure electrical connections are tight and no loose strands of wire are left out of the connector block. The close connector blocks and install in-wall recess as shown (right).
Caution! Ensure excess cable does not create a shadow or is likely to touch the light bulb.
- Fit the bulb, type, and wattage as indicated on the wall light. (4) The wattage indicated must not be exceeded.
- Offer glass in place by gently sliding over supports on the backplate then align fixing holes. (5) Secure glass in place with 2 thumb screws + rubber washers supplied. Note: take care not to mark the wall with glass during fitting or to over-tighten thumb screws as this would crack the glass.
- Switch on the electricity supply at the fuse board.
Please retain this information leaflet for future reference
GENERAL INFORMATION
This fitting is designed for internal use only
Do not use polish or abrasive cleaner – just a soft dry cloth.

John Lewis Partnership 171 Victoria Street London SW1E 5NN
www.johnlewis.com
Issue 4 07/13



















