BFT N733066 00002 Left Bearing Foundation Instruction Manual

This product is supplied with a “Warnings” leaflet and an “Instruction Manual”. These should both be read carefully as they provide important information about safety, installation, operation and maintenance.
DIMENSIONS

Figure 1
FOUNDATION CASE INSTALLATION
Make a hole in the ground at the foot of the gatepost which is large enough to house the FCS case (Fig.1). Make sure that water is always drained away adequately. Make a concrete base on which the case can rest so that adjustment can be carried out (Fig.2). The case should be positioned so that the centre of the bushing is in a perfect line with the hinge of the gate leaf. In order to prevent any unwanted cement from penetrating inside, proceed to close all gaps and unused holes.
Check the axis of the gate leaf with a plumb line and both sides of the box with a level (Fig.2). Position the drain for the water and the raceways for connections. In order to prevent any unwanted cement from penetrating inside, proceed to close all gaps and unused holes. Fill the hole. In order to prevent curving of the foundation case walls during casting, we recommend to insert a wooden strut in between.
N.B. The edge of the case should protrude by about 8-10 mm from ground level so that the cover can be fitted correctly.

GATE LEAF ASSEMBLY
Once the concrete has hardened, the leaves of the gate can be assembled as follows: Grease the bushing and brass carefully.
Right leaf (seen from the inside – Fig.4)

- Insert the bush “Y” into the appropriate seat (Fig.4A).
- Rest the gate leaf on the bushing in GATE CLOSED position, check the alignment of the leaf (bushing – leaf hinge) as when positioning the case.
- Accurately line the bushing notch up with the notch “DX” in the case.
- Weld the bushing securely to the leaf. 3.2) Left leaf (seen from the inside – Fig.4)
- Carry out all the operations as in point 3.1, aligning however the bush notch with the “SX” notch on the box.
CONTROLLER ASSEMBLY
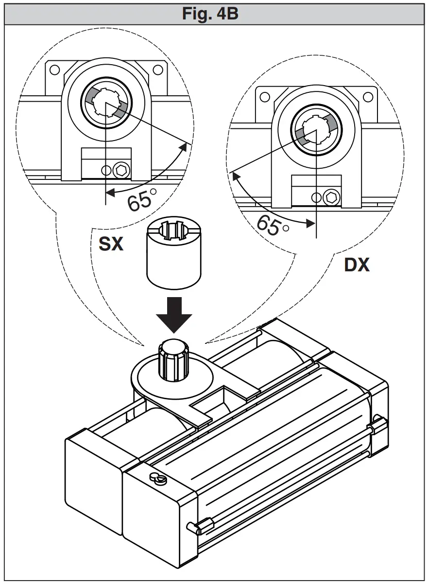
- Fit the grooved joint onto to motor shaft (Fig.4B).

- Fit the raiser cone using the two three-lobed screws M3x8 and appropriate washers (Fig.3).
- Release the operator using the appropriate triangular key and rotate the output shaft in the leaf closing direction along the entire stroke. To rotate the output driving shaft, you can use an adjustable spanner to be placed on the hollow of the grooved joint. Fig.4B shows the different positions of the splined joint after it has been mounted on the operator, depending on whether the leaf is mounted on the right (DX) or on the left (SX).
- Rotate the splined joint tooth towards the opening direction, until it is brought parallel with the operator (Fig.4C).
- Abundantly grease the threaded holes in the bottom of the case.
- Open the leaf so as to have enough room to insert the operator (Fig. 5/A).
- Start to screw dowel M12x20 into the respective threaded hole found in the grooved joint (Fig.4C).

- Insert the operator following the movements indicated in figure 5, until the lower plate becomes inserted between the walls of the case, and bring the operator to the intermediate position shown in Fig. 5/C.

- Close the leaf until the bush notch is located in the centre, i.e. halfway between the right and left marks. In this position, the joint tooth can be inserted in the bush; in the case where the bush cannot be inserted straight away, the leaf must be moved further.
- Slightly lift the operator by holding it from the front (Fig.5/D) and push it against the stop plate as in Fig. 5/E. You can be sure of correct positioning when the holes “K” in the plate are aligned with the nut welded on the bottom of the case (Fig. 5/F).
- Now screw dowel M12x20 in fully.
- Insert the M12x130 screws into holes “K” and tighten them (Fig.6).

- Close and fix the cap with the 2 short self-threading screws, then fix the cover with the 2 long screws. Connect the operator and test the system.
Support

BFT Spa
Via Lago di Vico, 44 ITALY
36015 Schio (VI)
Tel +39 0445 69 65 11
Fax +39 0445 69 65 22
SPAIN
BFT GROUP ITALIBERICA DE AUTOMATISMOS SL
Cami de Can Bassa, 6, 08401
Granollers, Barcelona, Spagna
FRANCE
AUTOMATISMES BFT FRANCE SAS
50 rue jean zay
69800 Saint-Priest, Francia
GERMANY
BFT ANTRIEBSSYSTEME GMBH
Faber-Castell-StraBe 29, 90522 Oberasbach, Germania
UNITED KINGDOM
BFT AUTOMATION UK LTD
Unit C2-C3 The Embankment Business Park, Vale Road Heaton Mersey Stockport Cheshire SK4 3GLUnited Kingdom
BFT AUTOMATION (SOUTH) LTD
Enterprise House Murdock Road, Dorcan, Swindon, England, SN3 5HY
PORTUGAL
BFT PORTUGAL SA
Urb. Pedrulha lote 9 – Apartado 8123, 3025-248 Coimbra Portugal
POLSKA
BFT POLSKA SP ZOO
Marecka 49, 05-220 Zielonka,Polonia
IRELAND
BFT AUTOMATION IRELAND
Unit D3 City Link Business Park, Old Naas Road, Dublin
CROATIA
BFT ADRIA DOO Obrovac 39, 51218, Draiice, Croazia
CZECH REPUBLIC
BFT CZ SRO
Ustecka 533/9, 184 00 Praha 8, Czech
TURKEY
BFT OTOMASYON KAPI
5erifali Mahallesi, no, 34775 Umraniye/Istanbul, Turchia
USA
BFT AMERICAS INC.
1200 S.W. 35th Avenue Suite B Boynton Beach FL 33426
AUSTRALIA
BFT AUTOMATION AUSTRALIA PTY
29 Bentley St, Wetherill Park NSW 2164, Australia
EMIRATES
BFT MIDDLEEAST FZCO
FZS2 AA01 -PO BOX 262200, Jebel All Free Zone South Zone 2 , Dubai – United Arab
NEW ZEALAND
BFT AUTOMATION NEW ZEALAND
224/A Bush Road, Rosedale, Auckland, New Zealand






















