

Installation and Operation Instructions
Vented Gas Log and Burner Set
DUALBURNER24N Vented Gas Log and Burner Set
![]() www.nficertified.org | We recommend that our gas hearth products be installed and serviced by profes-sionals who are certified in the U.S. by the National Fireplace Institute® (NFI) as NFI Gas Specialists. |
| EIS Models | |
| DUALBURNER24N | BOTH VTDEISKITN AND DUALBURNER ARE REQUIRED TO COMPLETE THIS SYSTEM IN ORDER TO SATISFY THE Z21.60 STANDARD. FOR USE WITH NATURAL GAS ONLY! |
| DUALBURNER30N | |
| DUALBURNER36N | |
| VTDEISKIT24N |
| For use with log sets | ||
| ASHTONWHITEBIRCH24 | OZARKCHARREDOAK24 | SMOKYWEATHEREDOAK24 |
| ASHTONWHITEBIRCH24 | OZARKCHARREDOAK30 | SMOKYWEATHEREDOAK30 |
| ASHTONWHITEBIRCH36 | OZARKCHARREDOAK36 | SMOKYWEATHEREDOAK36 |
INSTALLER: Leave this manual with the appliance.
CONSUMER: Retain this manual for future reference.
WARNING: This appliance is for installation only in a solid-fuel burning masonry or UL127 factorybuilt fireplace, constructed of noncombustible material, and connected to a working flue. (See page 6 for minimum flue opening.)
WARNING: If the information in this manual is not followed exactly, a fire or explosion may result causing property damage, personal injury or loss of life.
– Do not store or use gasoline or other flammable vapors and liquids in the vicinity of this or any other appliance.
– WHAT TO DO IF YOU SMELL GAS
- Do not try to light any appliance.
- Do not touch any electrical switch; do not use any phone in your building.
- Immediately call your gas supplier from a neighbor’s phone. Follow the gas supplier’s instructions.
- If you cannot reach your gas supplier, call the fire department.
– Installation and service must be performed by a qualified installer, service agency or the gas supplier.
This appliance may be installed in an aftermarket permanently located, manufactured (mobile) home, where not prohibited by local codes. This appliance is only for use with the type of gas indicated on the rating plate.
This appliance is not convertible for use with other gases.
* Aftermarket: Completion of sale, not for purpose of resale, from the manufacturer
Thank you for your purchase. We appreciate your business!
Please carefully read and follow all instructions in this manual. Pay special attention to all warnings and safety information.
Following these safety, care, and operation instructions will help ensure many years of dependable and enjoyable service from your fireplace.
Please read and understand these instructions before installing or operating.
Safety
WARNING: This appliance is for installation only in a solid-fuel-burning masonry or UL127 factory-built fireplace.
WARNING: This product can expose you to chemi- cals including Carbon Black, which is known to the State of California to cause cancer, and Carbon Monoxide, which is known to the State of California to cause birth defects or other reproductive harm. For more information go to www.P65Warnings.ca.gov.
IMPORTANT: Read this owner’s manual carefully and completely before trying to assemble, operate or service this appliance. Improper use of this fireplace can cause serious injury or death from burns, fire, explosion, elec- trical shock and carbon monoxide poisoning.
WARNING: Any change to this appliance or its controls can be dangerous.
Due to high temperatures, the appliance should be located out of traffic and away from furniture and draperies.
Clothing or other flammable materials shall not be hung from the appliance or placed on or near the appliance. Never place any objects on the fireplace.
Appliance base assembly becomes very hot when running appliance.
DANGER: Carbon monoxide poisoning may lead to death!
Carbon Monoxide Poisoning: Early signs of carbon monoxide poisoning resemble the flu, with headaches, dizziness or nausea. If you have these signs, the fireplace may not be working properly. Get fresh air at once! Have heater serviced. Some people are more affected by carbon monoxide than others. These include pregnant women, people with heart or lung disease oranemia, those under the influence of alcohol and those at high altitudes.
Natural Gas: Natural gas is odorless. An odor-making agent is added to the gas. The odor helps you detect a gas leak. However, the odor added to the gas can fade. Gas may be present even though no odor exists. Make certain you read and understand all warnings. Keep this manual for reference. It is your guide to safe and proper operation of this fireplace.
WARNING: Do not place log scraps or volcanic stone on burner.
Children and adults should be alerted to the hazards of high surface temperatures and should stay away to avoid burns or clothing ignition. Appliance will remain hot for a time after shutdown. Allow surfaces to cool before touching.
Installation and repair should be done by a qualified service person. The appliance should be inspected before use and at least annually by a qualified service person. More frequent cleaning may be required as necessary. It is imperative that the control compartment, burners, and circulating air passageways of the appliance are kept clean.
WARNING: Young children should be carefully su-pervised when they are in the area of the appliance. Toddlers, young children and others may be susceptible to accidental burns. A physical barrier is recommended if there are at-risk individuals in the house. To restrict access to a fireplace or stove, install an adjustable safety gate to keep toddlers, young children and other at-risk individuals out of the room and away from hot surfaces.
Carefully supervise young children when they are in the room with fireplace. When using the remote control, keep selector switch in the OFF position to prevent children from turning on burners with remote.
Keep the appliance area clear and free from combustible materials, gasoline and other flammable vapors and liquids.
WARNING: This appliance shall not be installed in a room or space unless the required volume of indoor combustion air is proved by the method described in the National Fuel Gas Code, ANSI Z223.1/NFPA 54, the International Fuel Gas Code.
Any part removed for servicing the appliance must be replaced prior to operating the appliance.
When installing as a vented appliance in a manufactured home or mobile home, the installation must conform with the Manufactured Home Construction and Safety Standard, Title 24 CFR, Part 3280 or when standard is not applicable, with Manufacture Home Installations Standard, ANSI/NCSBCS A225.1/NFPZ 501A.
WARNING: DO NOT INSTALL IN SLEEPING ROOM OF MOBILE HOMES.
You must operate this appliance with the fireplace screen in place. Make sure fireplace screen are in place before running appliance. The fireplace screen shall have openings for introduction of combustion air.
- WARNING: This appliance is only for use with the type of gas indicated on the rating plate. This appliance is not convertible for use with other gases.
- If you smell gas
• shut off gas supply
• extinguish any open flame
• do not touch any electrical switch; do not use any phone in your building
• If odor continues, leave the building immediately
• immediately call your gas supplier from a neighbor’s phone. Follow the gas supplier’s instructions
• if you cannot reach your gas supplier, call the fire department - This gas log set may not be installed in a bedroom or bathroom in the Commonwealth of Massachusetts.
- Before installing in a solid fuel-burning fireplace, the chimney flue and firebox must be cleaned of soot, creosote, ashes and loose paint by a qualified chimney cleaner. Creosote will ignite if highly heated. A dirty chimney flue may create and distribute soot within the house. Inspect chimney flue for damage. If damaged, repair flue and firebox before operating appliance.
- Make sure there are no obstructions across openings of fireplace.
- To prevent the creation of soot, follow the instructions in Cleaning and Maintenance, Page 12.
- Before using furniture polish, wax, carpet cleaner or similar products, turn appliance off. If heated, the vapors from these products may create a white powder residue within burner box or on adjacent walls and furniture.
- Do not burn solid fuel in the fireplace after installation of this log set.
- Do not operate appliance
• where flammable liquids or vapors are used or stored
• under dusty conditions - Do not use this appliance to cook food or burn paper or other objects.
- Do not use this appliance if any part has been under water. Immediately call a qualified service technician to inspect the appliance and to replace any part of the control system and any gas control that has been under water.
- Do not operate appliance if any log is broken.
- Turn appliance off and let cool before servicing, installing or repairing. Only a qualified service person should install, service or repair appliance.
- This appliance must not be connected to any external electrical source.
- Provide adequate clearances around air openings.
LOCAL CODES
Install and use appliance with care. Follow all local codes. In the absence of local codes, use the latest edition of The National Fuel Gas Code, ANSI Z223.1/NFPA 54*.
The appliance when installed, must be electrically grounded in accordance with local codes, or in the absence of local codes, with the National Electrical Code, ANSI/NFPA
70*. *Available from:
American National Standards Institute, Inc.
25 West 43rd Street, 4th floor
New York, NY 10036
National Fire Protection Association, Inc.
1 Batterymarch Park
Quincy, MA 02169-7471
In the Commonwealth of Massachusetts:
- This appliance must be installed by a licensed plumber or gas fitter.
- The chimney flue damper, when used with gas logs, will be welded open or completely removed.
- A CO detector shall be installed in the room where the appliance is installed.
PRODUCT IDENTIFICATION
![]() | ![]() | ![]() |
UNPACKING
- Remove logs and appliance base assembly from carton(s).
- Remove all protective packaging applied to logs and appliance for shipment.
- Check appliance for any shipping damage. If appliance is damaged, promptly inform dealer where you purchased the appliance
CAUTION: Do not remove the data plates from the grate assembly. The data plates contain important warranty and safety information.
PRODUCT INFORMATION
This appliance is listed as a vented decorative gas appliance to ANSI Z21.60 for use indoors in wood burning fireplaces. it shall be installed indoors in a site built wood burning fireplace or a UL 127 listed wood burning fireplace.
BOTH VTDEISKITN AND DUALBURNER ARE REQUIRED TO COMPLETE THIS SYSTEM IN ORDER TO SATISFY THE Z21.60 STANDARD.
FOR USE WITH NATURAL GAS ONLY!
INSTALLATION
WARNING: A qualified service person must install appliance. Follow all local codes.
WARNING: Make sure the selector switch is in the OFF position before installing appliance.
WARNING: Never install the appliance
- in a recreational vehicle
- where curtains, furniture, clothing or other flammable objects are less than the minimal distances required by the manufacturer
- in high traffic areas
- in windy or drafty areas
CHECK GAS TYPE
Gas type will be indicated on the burner and the box. Do not use a natural gas burner with propane. If your gas supply is not the correct gas type, do not install appliance. Call dealer where you bought appliance for proper type appliance.
WARNING: This appliance assembly contains burner orifices specifically for the input gas specified on the burner and box, as well as the BTU rating specified in this manual. Modifying or failure to use the factory orifice may cause property damage, personal injury or loss of life.
WARNING: This appliance is equipped for natural gas. Gas type is indicated on the rating plate. Field conversion is not permitted.
WARNING: Maintain the minimum clearances. If you can, provide greater clearances from floor, ceiling and adjoining wall.
NOTICE: Surface temperatures of adjacent walls and mantels become hot during operation. Walls and mantels above the firebox may become hot to the touch. If installed properly, these temperatures meet the requirement of the national product standard. Follow all minimum clearances shown in this manual.
NOTE: When installing your gas logs into a manufactured firebox, follow firebox manufacturer’s instructions for minimum clearances to combustible materials.
| LOG SET | MINIMUM FIREPLACE SIZE | |||
| WIDTH | DEPTH | HEIGHT | ||
| FRONT | REAR | |||
| ASHTONWHITEBIRCH24 OZARKCHARREDOAK24 SMOKYWEATHEREDOAK24 | 36″ | 24″ | 18″ | 24″ |
| ASHTONWHITEBIRCH30 OZARKCHARREDOAK30 SMOKYWEATHEREDOAK30 | 42″ | 30″ | 18″ | 24″ |
| ASHTONWHITEBIRCH36 OZARKCHARREDOAK36 SMOKYWEATHEREDOAK36 | 48″ | 36″ | 18″ | 24″ |
INSTALLING DAMPER CLAMP ACCESSORY FOR VENTED OPERATION
NOTE: Appliance must be installed only in a solid-fuel-burning fireplace with a working flue and constructed of noncombustible material.
This unit may not be installed in a vented fireplace with a chimney height less than the minimum required by the manufacturer.
Appliance may be installed as a vented decorative appliance in compliance with ANSI Z21.60.
A permanent free opening must be provided by either the fireplace chimney or chimney damper to vent carbon monoxide and other flue gases. Any chimney damper must be fixed in a manner which will maintain the permanent free opening at all times. Use the Tables found on Page 6 (For Factory Built Fireplaces and For Masonry Built Fireplaces Free Opening Area of Chimney Damper for Venting Combustion Products From Decorative Appliances For Installation in Solid Fuel Burning Firplaces) to determine the minimum permanent free opening based on chimney height and the appliance BTU rating. The Damper Clamp (see Figure A) with bolt is provided as a means to prevent the full closure of the damper blade. The clamp is easily attached to most damper blades with pliers or a wrench, and must be permanently installed. The clamp is designed to prevent accidential closure of the damper when installed as pictured. Should the clamp not fit, or fail to provide the required permanent vent opening, do any of the following:
- Have a permanent stop installed
- Remove the damper blade
- Install a screw or bolt on the edge of the damper
- Weld damper in place

| For Factory Built Fireplaces Free Opening Area of Chimney Damper for Venting Combustion Products From Decorative Appliances For Installation In Solid Fuel Burning Fireplaces | ||||||||||||
| Appliance Input Rate (kBTU/hr) | ||||||||||||
| 20 | 30 | 40 | 50 | 60 | 70 | 80 | 90 | 100 | 110 | 120 | ||
| Chimney Height* (ft) | Minimum Opening** (sq. in.) | Max. Input*** | ||||||||||
| 10 | 11.3 | 16.6 | 22.1 | 28.3 | 35.3 | 44.2 | — | — | — | — | — | 77.6 |
| 15 | 8.6 | 12.6 | 17.3 | 21.2 | 26.4 | 32.2 | 38.5 | 45.4 | — | — | — | 98.2 |
| 20 | 7.5 | 10.8 | 14.5 | 18.1 | 22.1 | 26.4 | 31.2 | 37.4 | 43.0 | — | — | 114.2 |
| 25 | 6.6 | 9.6 | 12.6 | 15.9 | 18.1 | 22.9 | 27.3 | 31.2 | 36.3 | 43.0 | 50.3 | 121.0 |
| 30 | 6.2 | 9.1 | 11.3 | 14.5 | 17.3 | 20.4 | 24.6 | 28.3 | 33.2 | 37.4 | 44.2 | 130.1 |
| 35 | 5.7 | 8.0 | 10.8 | 13.2 | 15.9 | 18.9 | 22.1 | 25.5 | 30.2 | 34.2 | 39.6 | 141.2 |
| 40 | 5.3 | 7.5 | 10.2 | 12.6 | 15.2 | 18.1 | 20.4 | 23.8 | 27.3 | 31.2 | 35.3 | 158.5 |
* Height is from hearth to top of chimney and the minimum height is 10 fee.
** Chart shows mainimum opening (sq. in.) for the given height and input rate.
*** Column marked (“Max input” corresponds to the maximum allowable input rate (kBTU/hr) for the given height.
| For Masonry Built Fireplaces Free Opening Area of Chimney Damper for Venting Combustion Products From Decorative Appliances For Installation In Solid Fuel Burning Fireplaces | |||||||||||
| Appliance Input Rate (kBTU/hr) | |||||||||||
| 20 | 30 | 40 | 50 | 60 | 70 | 80 | 90 | 100 | 110 | 120 | |
| Chimney Height* (ft) | Minimum Opening** (sq. in.) | ||||||||||
| 6 | 17.6 | 25.7 | 33.8 | 41.7 | 49.2 | 56.6 | 64.0 | 71.4 | 78.8 | 86.2 | 93.5 |
| 8 | 16.5 | 23.7 | 31.2 | 38.7 | 45.5 | 52.4 | 59.7 | 66.9 | 74.1 | 81.3 | 88.6 |
| 10 | 15.1 | 21.7 | 28.7 | 35.2 | 41.7 | 48.2 | 54.3 | 60.2 | 66.1 | 72.0 | 77.9 |
| 15 | 14.1 | 19.9 | 26.1 | 32.0 | 37.7 | 43.2 | 48.8 | 54.1 | 59.4 | 64.6 | 69.9 |
| 20 | 12.9 | 18.5 | 23.7 | 28.8 | 34.3 | 39.8 | 44.4 | 49.1 | 53.8 | 58.4 | 63.0 |
| 30 | 12.2 | 16.9 | 21.6 | 26.5 | 31.2 | 35.9 | 40.3 | 44.5 | 48.6 | 52.7 | 56.6 |
* Height is from hearth to top of chimney and the minimum height is 10 fee.
** Chart shows mainimum opening (sq. in.) for the given height and input
For Massachusetts Residents Only: Installation of this gas log set as a vented indoor appliance in the Commonwealth of Massachusetts requires the damper be permanently removed or welded in the fully open position.
You must install the damper clamp accessory. This will ensure vented operation (see Figure A on Page 5). The damper clamp will keep damper open.
See chart on Page 6 for minimum permanent flue opening you must provide. Attach damper clamp so the minimum permanent flue opening will be maintained at all times.
INSTALLING APPLIANCE BASE ASSEMBLY
Clear fireplace of all debris. Center burner inside the fireplace left to right and push burner in the back as far back in the fireplace as possible.

CONNECTING TO GAS SUPPLY
WARNING: This appliance requires a 1/2″ NPT (National Pipe Thread) inlet connection to the pressure regulator.
WARNING: A qualified service person must connect appliance to gas supply. Follow all local codes.
WARNING: Never connect this appliance to private (non-utility) gas wells. This gas is commonly known as wellhead gas and does not have odorants and may have impurities, and variations in BTU content. The use of well-head gas will void the manufacturer’s warranty to this appliance.
When an appliance is for connection to a fixed piping system, the installation must conform with local codes, or in the absence of local codes with the National Fuel Gas Code, ANSI Z223.1 • NFPA 54; National Fuel Gas Code.
Installation Items Needed
Before installing appliance, make sure you have the items listed below.
- external regulator (supplied by installer)
- piping (check local codes)
- sealant
- equipment shutoff valve *
- test gauge connection *
- sediment trap
- tee joint
- pipe wrench
- approved flexible gas line with gas connector (if allowed by local codes) (not provided)
* An equipment shutoff valve with 1/8″ NPT tap is an acceptable alternative to test gauge connection. Purchase the optional equipment shutoff valve from your dealer.
CAUTION: Use only new, black iron or steel pipe. Internally-tinned copper tubing may be used in certain areas. Check your local codes. Use pipe of 1/2″ diameter or greater to allow proper gas volume to appliance. If pipe is too small, undue loss of volume will occur.
Installation must include an equipment shutoff valve, union and plugged 1/8″ NPT tap. Locate NPT tap within reach for test gauge hook up. NPT tap must be upstream from appliance (see Figure B).
IMPORTANT: Install equipment shutoff valve in an accessible location. The equipment shutoff valve is for turning on or shutting off the gas to the appliance.
Check your building codes for any special requirements for locating equipment shutoff valve to appliances.
Apply pipe joint sealant lightly to male NPT threads. This will prevent excess sealant from going into pipe. Excess sealant in pipe could result in clogged appliance valves.

* Purchase the optional equipment shutoff valve from your dealer.
**Minimum inlet pressure for purpose of input adjustment.
Figure B – Gas Connection
Install in piping system between fuel supply and appliance. Locate sediment trap where trapped matter is not likely to freeze. A sediment trap traps moisture and contaminants. This keeps them from going into appliance controls. If sediment trap is not installed or is installed wrong, appliance may not run properly.
CAUTION: Avoid damage to gas control. Hold gas control with wrench when connecting it to gas piping and/or fittings.
CHECKING GAS CONNECTIONS
WARNING: Test all gas piping and connections, internal and external to unit, for leaks after installing or servicing. Correct all leaks at once.
WARNING: Never use an open flame to check for a leak. Apply a noncorrosive leak detection fluid to all joints. Bubbles forming show a leak. Correct all leaks at once.
PRESSURE TESTING GAS SUPPLY PIPING SYSTEM
The appliance and its appliance main gas valve must be disconnected from the gas supply piping system during any pressure testing of that system at test pressures in excess of 1/2 psi (3.5 kPa).
The appliance must be isolated from the gas supply piping system by closing its equipment shutoff valve during any pressure testing of the gas supply piping system at test pressures equal to or less than 1/2 psi (3.5 kPa).
Test Pressures In Excess Of 1/2 PSIG (3.5 kPa)
- Disconnect appliance with its appliance main gas valve (control valve) and equipment shutoff valve from gas supply piping system. Pressures in excess of 1/2 psig will damage appliance regulator.
- Cap off open end of gas pipe where equipment shutoff valve was connected.
- Pressurize supply piping system by opening main gas valve located on or near gas meter for natural gas or using compressed air.
- Check all joints of gas supply piping system. Apply noncorrosive leak detection fluid to all joints. Bubbles forming show a leak.
- Correct all leaks at once.
- Reconnect appliance and equipment shutoff valve to gas supply. Check reconnected fittings for leaks.
Test Pressures Equal To or Less Than 1/2 PSIG (3.5 kPa)
- Close equipment shutoff valve (see Figure C).
- Pressurize supply piping system by opening main gas valve located on or near gas meter for natural gas or using compressed air.
- Check all joints from gas meter to equipment shutoff valve for natural gas. Apply noncorrosive leak detection fluid to all joints.
Bubbles forming show a leak. - Correct all leaks at once.
PRESSURE TESTING APPLIANCE GAS CONNECTIONS
- Open equipment shutoff valve (see Figure C).
- Open main gas valve located on or near gas meter for natural gas.
- Make sure control knob of appliance is in the OFF position.
- Check all joints from gas meter to equipment shutoff valve for natural gas. Apply noncorrosive leak detection fluid to all joints. Bubbles forming show a leak.
- Correct all leaks at once.
- Light appliance (see Remote Lighting, Page 11). Check all other internal joints for leaks.
- Turn off appliance (see Shutting Down, Page 11).


INSTALLING LOGS AND MEDIA PLACEMENT
WARNING: Failure to position the parts in accordance with these diagrams or failure to use only parts specifically approved with this appliance may result in property damage or personal injury.
LOG/MEDIA PLACEMENT
It is very important to install these logs exactly as instructed. Do not modify logs. Please refer to specific Log Placement Guides placed inside each Log Set.
| DUALBURNER24/30/36N BURNER SYSTEM LOG COMPATIBILITY CHART | |
| Burner System Model | Log Sets For Use With This Burner System |
| DUALBURNER24N | ASHTONWHITEBIRCH24 OZARKCHARREDOAK24 SMOKYWEATHEREDOAK24 |
| DUALBURNER30N | ASHTONWHITEBIRCH30 OZARKCHARREDOAK30 SMOKYWEATHEREDOAK30 |
| DUALBURNER36N | ASHTONWHITEBIRCH36 OZARKCHARREDOAK36 SMOKYWEATHEREDOAK36 |
MEDIA PLACEMENT – NATURAL GAS
Tear ember material into pieces the size of a corn kernel and place fingernail deep. Use either a comb or brush to achieve this. The smaller the piece, the better the ember glow. Spread the embers across the front burner and fill up the pan. The front burner should be completely covered. Dump lava rock around the burner covering the hearth.

EIS BOX INSTALLATION
BOTH CONTROL BOX AND BURNER ARE REQUIRED TO COMPLETE THIS SYSTEM IN ORDER TO SATISFY THE Z.21.60 STANDARD.
FOR USE WITH NATURAL GAS ONLY!
BOX INSTALLATION
- The EIS box comes with a 120″ pilot assembly lead. Therefore, the box must be mounted within 9′ of the fireplace.
- Attach the metal enclosure to the studs using standard building materials. The metal enclosure must be mounted in a location that can be accessed in the future for additional connections and future servicing.

For remote and wall switch wiring, refer to Page 12.
GAS LINE INSTALLATION
- Installation and sevicing of gas appliances and ignition systems must only be performed by qualified personnel.
- Turn off gas and electricity before starting installation or service.
- Make sure gas piping is pressure tested before control is connected. High pressure can damage the control casuing a hazardous condition.
- Make sure piping is clean and free from burrs. Apply a small amount of good quality pipe thread compound or plumbers’ tape suitable for the gas being used. Thread compound should be used sparingly on male threads only, leaving the first two threads clean.
- It is recommended that a safety shut off valve is installed on either the gas in or gas out side of the valve.
- It is recommended to hard pipe in the connections with unions installed inside the box.

PILOT INSTALLATION
- Un-coil the pilot tubing and the spark ignitor using proper aluminum tubing bending techniques.
- Insert the pilot hood w/assembly into the fireplace being careful not to clog the head of the pilot assembly or damage the spark ignitor.
- Securely screw the pilot assembly to the pilot mounting bracket on the back or side of the burner. Screwing the pilot to the burner completes the electrical circuit.
- With the opposite end of the pilot assembly, plug the orange spark ignitor into the module according to the wiring diagram(s) found on Page 17 and insert the pilot tubing into the right side of the valve where the compression nut is located. Once the pilot tubing is inserted into the compression nut, using a wrench, tighten the nut so that the pilot tubing cannot be pulled out.
OPERATION
ELECTRONIC LIGHTING INSTRUCTIONS
FOR YOUR SAFETY, READ BEFORE LIGHTING
WARNING: If you do not follow these instructions exactly, a fire or explosion may result causing property damage, personal injury or loss of life.
A. This appliance is equipped with an ignition device that automatically lights the pilot. DO NOT attempt to light the pilot by hand.
B. BEFORE OPERATING, smell all around the appliance area for gas. Be sure to smell next to the floor because some gas is heavier than air and will settle on the floor.
WHAT TO DO IF YOU SMELL GAS
• Do not light any appliance.
• Do not touch any electric switch; do not use any phone in your building.
• Immediately call your gas supplier from a neighbor’s phone. Follow the gas supplier’s instructions. If you cannot reach your gas supplier, call the fire department.
C. Use only the remote to light the pilot. This valve will not operate if the pilot is not lit and stable.
D. Do not use this appliance if any part has been under water. Immediately call a qualified service technician to inspect the appliance and to replace any part of the control system and any gas control which has been under water. Attempted operation may result in fire or explosion resulting in property damage, personal injury or loss of life.
REMOTE LIGHTING
CAUTION: DO NOT attempt to light the pilot by hand.
Note: If the remote does not function, and batteries with an adequate power level are installed, refer to the TRANSMITTER FUNCTION section.
Note: Step 1 may not be required if previously done during an earlier lighting.
- Locate the 3-position switch on the remote receiver and slide the switch to the REMOTE position.
- Locate the remote transmitter and press the ON button. The ignition sequence will begin. The remote receiver will emit an audible “beep”; then the igniter will begin to spark. After the pilot lights and is established, the valve will automatically open and the burner will light.
Note: The ignition sequence will take approximately 5 seconds.
WARNING: If the pilot fails to light or if the burner fails to light (within 5 seconds of pilot lighting), press the OFF button on the remote transmitter and/or slide the switch to the OFF position. Allow five (5) minutes for any gas in the unit to dissipate, then repeat steps 1 and 2 above.
IF YOU SMELL GAS, SEE STEP B ABOVE.
If the pilot fails to light after several tries, turn all control/remote system components to OFF and contact a qualified professional service technician.

SHUTTING DOWN
For remote shut down, press the OFF button on the remote transmitter.
If remote is unavailable, slide the switch on the remote receiver to the OFF position.
PILOT APPEARANCE
Periodically check the pilot for proper flame pattern. The pilot flame should encircle the generator tip, and is reset at the factory.
If the pilot flame burns incorrectly; shut down completely and contact a qualified professional technician.

ELECTRONIC MODELS
Page 11 provides detailed lighting instructions along with the information below.
Electronic 24V systems have two ways to operate the burner, with the remote OR wall switch.
For Use with a Remote:
- Locate the RED wire on the low voltage side of the transformer inside the Electronic Ignition Box. RED wire is connected to the GRAY wire with a wire nut. Remove the wire nut disconnecting the RED/GRAY wires
- Locate the (2) wires on the back of the receiver. In no specific order, connect the RED wire to one of the receiver wires and the GRAY wire to the other receiver wire
- Insert the AA Batteries (qty 4) into the receiver
- Locate the switch on the front of the receiver
- Locate the RED Lever on the top of the valve and move this lever to “ON” position
- Slide the switch from “OFF” to “REMOTE” mode, this now allows ON/OFF operations with the hand-held remote
- Follow remote instructions for battery placement and how to sync remote to receiver
For Use with a Wall Switch:
- Locate the RED wire on the low voltage side of the transformer inside the Electronic Ignition Box. RED wire is connected to the GRAY wire with a wire nut. Remove the wire nut disconnecting the RED/GRAY wires
- Locate the (2) wires (field supplied) from the wall switch. In no specific order, connect the RED wire to one of the wall switch and the GRAY wire to the other wire of the wall switch
- Locate the RED Lever on the top of the valve and move this lever to the “ON” position.
- Once 110V of power is connected to the transformer, use the wall switch to turn the system “ON/OFF”
WARNING: Glass doors shall be fully open when appliance is in operation.
CLEANING AND MAINTENANCE
WARNING: Turn off appliance and let cool before cleaning.
CAUTION: You must keep control areas, burners and circulating air passageways of appliance clean. Inspect these areas of appliance before each use. Have appliance inspected yearly by a qualified service person.
WARNING: Failure to keep the primary air opening(s) of the burner(s) clean may result in sooting and property damage.
BURNER INJECTOR HOLDER AIR INLET HOLE
The primary air inlet holes allow the proper amount of air to mix with the gas. Keep these holes clear of dust, dirt, lint and pet hair. Clean these air inlet holes prior to each heating season. Blocked air holes will create soot. We recommend that you clean the unit every three months during operation and have appliance inspected yearly by a qualified service person. We also recommend that you keep the burner tube clean and free of dust and dirt. To clean these parts we recommend using compressed air no greater than 30 PSI. Your local computer store, hardware store or home center may carry compressed air in a can. If using compressed air in a can, please follow the directions on the can. If you don’t follow directions on the can, you could damage the pilot assembly.
- Shut off unit. Allow unit to cool for at least thirty minutes.
- Inspect burner, and primary air inlet holes on injector holder for dust and dirt.
- Blow air through the ports/slots and holes in the burner.
- Check injector holder located at end of burner tube again. Remove any large particles of dust, dirt, lint or pet hair with a soft cloth or vacuum cleaner nozzle.
- Blow air into the primary air holes on the injector holder.
- In case any large clumps of dust have now been pushed into the burner repeat steps 3 and 4.Additional cleaning may be needed for proper operation based on use/lack of use.
LOGS
- If you remove logs for cleaning, refer to Installing Logs and Media Placement, Page 9, to properly replace logs.
- Replace log(s) if broken or chipped (dime-sized or larger).
MAIN BURNER
Periodically inspect all burner flame holes with appliance running. All slotted burner flame holes should be open with flame present. All round burner flame holes should be open with a small blue flame present. Some burner flame holes may become blocked by debris or rust, with no flame present. If so, turn off appliance and let cool. Remove blockage, blocked burner flame holes will create soot.
The burner must be replaced prior to the appliance being put into operation if it is evident that the burner is damaged (use only factory original replacement burner).
At least once a year, the vent system for the fireplace in which this appliance is installed shall be inspected, cleaned, and repaired as necessary by a qualified service person.
SPECIFICATIONS
| Models | Natural Gas |
| High Rate | |
| DUALBURNER24N | 55,000 |
| DUALBURNER30N | 70,000 |
| DUALBURNER36N | 80,000 |
WIRING DIAGRAM INSTALLATION
• Electronic ignition Systems come fully wired acccording to the manufacturers recommendations and the below wiring diagram.
• It is the job of the electrician to read the wiring diagram according to RoberShaw specifications.
WIRING DIAGRAM FOR TYPICAL EIS BOX
CAUTION: Label all wires prior to disconnection when servicing controls. Wiring errors can cause improper and dangerous operation. Verify proper operation after servicing.
TRANSMITTER
The transmitter operates on (2) 1.5V AAA batteries. It is recommended that ALKALINE batteries atlArays be used for this product Be sure the batteries are installed with the (+) and (-) ends facing the correct direction, and are fully charged.
LCD – LIQUID CRYSTAL DISPLAY

- Display Indicates current room temperature.
- Fahrenheit or Celsius Indicates degrees Fahrenheit or Celsius.
- Flame Indicates appliance is ON.
- Room Appears when LCD screen is ON.
- Temperature Appears during manual operation.
- Set Appears when adjusting the desired timer setting.
SETTING °FAHRENHEIT / °CELSIUS SCALE
The factory setting for temperature is °F To change the displayed temperature scale, press the ON and OFF keys at the same time. Follow this same procedure to return to °F
MANUAL FUNCTION
ON OPERATION:
Press the ON key to turn the appliance ON. (The flame icon will appear on the LCD screen)

OFF OPERATION:
Press the OFF key to turn the appliance OFF. (The flame icon will disappear from the LCD screen)
TIMER FUNCTION

- Press the ON button to start the appliance.
- Press the TIMER button. The LCD screen will show the word set.
- Press the SET button until the desired time is reached (15 min. -180 min. in Anal increments). The max setting time is 3 hours
- NOTE: The LCD display will flash the set time for 6-seconds, then start the countdown
- Press the OFF button to turn OFF the timer, and the appliance.
LEARNING TRANSMITTER TO RECEIVER
Each transmitter uses a unique security code. It will be necessary to press the LEARN button on the receiver to accept the transmitter security code upon initial use, if batteries are replaced, or if a replacement transmitter is purchased from your dealer or the factory. In order for the receiver to accept the transmitter security code, be sure the slide button on the receiver is in the REMOTE position; the receiver will not LEARN if the slide switch is in the ON or OFF position. The LEARN button in located on the front face of the receiver; inside the small hole labeled LEARN. Using a small screwdriver or end of a paperclip gently press and release the black LEARN buttoninside the hole. When you release the LEARN button the receiver will emit an audible “beep”. After the receiver emits the beep press the transmitter ON button and release. The receiver will emit several beeps indicating that the transmitter’s code has been accepted into the receiver.
TROUBLESHOOTING
WARNING: Turn off appliance and let cool before servicing. Only a qualified service person should service and repair appliance.
NOTE: All troubleshooting items are listed in order of operation.
| OBSERVED PROBLEM | POSSIBLE CAUSE | REMEDY |
| Delayed ignition of burner | 1. Manifold pressure is too low 2. Burner orifice clogged | 1. Contact local natural or propane/LP gas company 2. Clean burner (see Cleaning and Maintenance, Page 12) or replace burner orifice(s) |
| Burner backfiring during combustion | 1. Burner orifice is clogged or damaged 2. Damaged burner | 1. Clean burner (seeCleaningandMaintenance,Page 12) or replace burner orifice 2. Replace damaged burner |
| Slight smoke or odor during initial operation | 1. Residues from manufacturing pro- cesses and logs curing | 1. Problem will stop after a few hours of operation |
| Appliance produces a whistling noise when burners are lit | 1. Air in gas line 2. Air passageways on appliance blocked 3. Dirty or partially clogged burner ori-fice. 4. Flex line has kink | 1. Operate burners until air is removed from line. Have gas line checked by local natural or propane/ LP gas company 2. Observe minimum installation clearances (see Page 6) 3. Clean burner (see Cleaning and Maintenance, Page 12) or replace burner orifice(s) 4. Straighten flexible connector |
| White powder residue forming within burner box or on adjacent walls or furniture | 1. When heated, vapors from furniture polish, wax, carpet cleaners, etc. may turn into white powder residue | 1. Turn appliance off when using furniture polish, wax, carpet cleaners or similar products |
| Remote does not function | 1. Batteries are not installed. Battery power is low | 1. Replace batteries in battery pack and in hand-held remote |
WARNING: If you smell gas
- Shut off gas supply.
- Do not try to light any appliance.
- Do not touch any electrical switch; do not use any phone in your building.
- Immediately call your gas supplier from a neighbor’s phone. Follow the gas supplier’s instructions.
- If you cannot reach your gas supplier, call the fire department.
IMPORTANT: Operating appliance where impurities in air exist may create odors. Cleaning supplies, paint, paint remover, cigarette smoke, cements and glues, new carpet or textiles, etc., create fumes. These fumes may mix with combustion air and create odors. These odors will disappear over time.
| OBSERVED PROBLEM | POSSIBLE CAUSE | REMEDY |
| Appliance produces unwanted odors | 1. Appliance burning vapors from paint, hair spray, glues, cleaners, chemicals, new carpet, etc. (See IMPORTANT statement above) 2. Gas leak. See Warning: If you smell gas statement above | 1. Open window to ventilate room. Stop using odor causing products while appliance is running 2. Locate and correct all leaks (see Checking Gas Connections, Page 8) |
| Appliance shuts off in use | 1. Low line pressure | 1. Contact local natural gas company |
| Gas odor even when control knob is in OFF position | 1. Gas leak. See Warning: If you smell gas statement above 2. Control valve or gas control defective | 1. Locate and correct all leaks (see Checking Gas Connections, Page 8) 2. Replace control valve or gas control |
| Gas odor during combustion | 1. Gas leak. See Warning: If you smell gas statement above | 1. Locate and correct all leaks (see Checking Gas Connections, Page 8) |
| OBSERVED PROBLEM | POSSIBLE CAUSE | REMEDY |
| Electronic Ignition System Thermostat on, no spark, no pilot gas | 1. No main power 2. Faulty transformer 3. Faulty thermostat 4. Faulty limit 5. Faulty ignition control unit | 1. Verify wiring and power supply 2. Replace components 3. Replace components 4. Replace components 5. Replace components |
| Electronic Ignition System Have spark, no pilot gas flow | 1. Main gas supply turned off 2. Manual valve on gas valve turned off 3. Faulty primary valve in the gas valve 4. Faulty wire connection 5. Faulty ignition control unit | 1. Turn gas supply on 2. Turn gas supply on 3. Replace components 4. Verify wiring 5. Replace components |
| Electronic Ignition System Have pilot gas, no spark | 1. Defective ignitor/sensor and/or its wiring 2. Faulty ignition control unit | 1. Replace/Verify wiring 2. Replace components |
| Electronic Ignition System Have pilot flame, main burner will not turn on | 1. Faulty main valve coil in the gas valve 2. Faulty ignitor/sensor and/or its wiring 3. Ground wire not attached to furnace chassis 4. Flame rectification signal from pilot to ignition control unit weak 5. Faulty ignition control unit | 1. Replace components 2. Replace components 3. Verify wiring 4. Verify wiring 5. Replace components |
| Electronic Ignition System Short-cycling of main burner. Main burner turns off before the thermostat is satisfied | 1. Draft condition pulls pilot flame away from ignitor/sensor rod 2. Pilot flame gets smaller when main burner comes on 3. Faulty limit control | 1. Verify log placement 2. Verify inlet supply pressure 3. Replace components |
| Appliance produces a clicking/ticking noise just after burners are lit or shut off | 1. Metal expanding while heating or contracting while cooling 2. Igniter Assembly is out of position 3. Wind is disturbing the burner flame and the igniter assembly is relighting the burner 4. Wire connection loose or wire broken | 1. This is normal with most appliances.If noise is excessive, contact qualified service person 2. Check igniter position and adjust if needed. 3. Should wind disturb the burner flame, the igniter will automatically spark to relight the burner. This is normal when the appliance is installed outdoors in windy conditions 4. Check wiring connections (see wiring diagram, Page 13). Replace wire harness if necessary |
REPLACEMENT PARTS
See Pages 21-22 for a complete replacement parts list. Use only parts supplied from the manufacturer. Normally, all parts should be ordered through your IHP distributor
or dealer. Parts will be shipped at prevailing prices at time of order.
When ordering repair parts, always give the following information:
- The model number of the appliance.
- The serial number of the appliance.
- The part number.
- The description of the part.
- The quantity required.
- The installation date of the appliance.
If you encounter any problems or have any questions concerning the installation or application of this appliance, please contact your dealer
IHP
1769 East Lawrence Street
Russellville, AL 35654
Visit us at ihp.us.com
SERVICE HINTS
When Gas Pressure Is Too Low
- pilot will not stay lit
- burners will have delayed ignition
- appliance will not produce specified heat
You may feel your gas pressure is too low. If so, contact your local propane/LP or natural gas supplier.
TECHNICAL SERVICE
You may have further questions about installation, operation, or troubleshooting. Please contact your IHP dealer for any questions or concerns. When contacting your dealer please have your model and serial numbers of your appliance ready. You can also visit our web site at ihp.us.com.
ACCESSORIES
| CAT. NO. | MODEL | DESCRIPTION |
| H8860 | RC-S-1 | REMOTE, TWO BUTTON, TIMER, ON/OFF OR TIMER MODE |
| 85L87 | FWSK | WALL SITCH KIT – WHITE |
PARTS
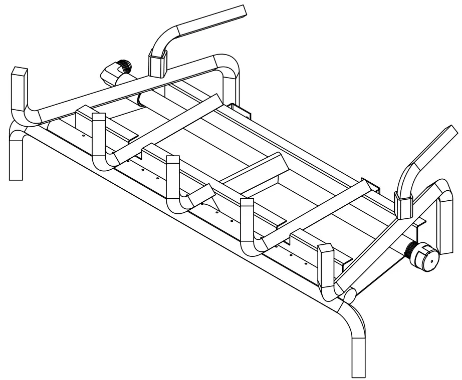
MODELS: DUALBURNER24N, DUALBURNER30N, AND DUALBURNER36N.
WARNING: Failure to position the parts in accordance with these diagrams or failure to use only parts specifi- cally approved with this heater may result in property damage or personal injury.
| Cat. No. | Model |
| F4742 | DUALBURNER24N |
| F4746 | DUALBURNER30N |
| F4750 | DUALBURNER36N |

PARTS
MODELS: DUALBURNER24N, DUALBURNER30N, AND DUALBURNER36N.
This list contains replaceable parts used in your appliance. When ordering parts, follow the instructions listed under Replacement Parts on Page 20 of this manual.
WARNING: Contact an IHP dealer to obtain any of these parts. Never use substitute materials not approved by IHP. Use of non-approved parts can result in poor performance and safety hazards.
ITEMS LISTED BLEOW ARE FOR UNITS CONVERTED USING THE EIS (110V) KIT.
KEY
| NO. | CAT. NO. | DESCRIPTION | Qty. |
| 1 | F4794 | PILOT, NG 110V ELECTRONIC MODELS | 1 |
| 2 | F4796 | TRANSFORMER, 110V ELECTRONIC MODELS | 1 |
| 3 | F4797 | VALVE, NG 110V ELECTRONIC MODELS | 1 |
| 4 | F4799 | MODULE, 110V ELECTRONIC MODELS | 1 |

LOG SET MODELS
ASHTONWHITEBIRCH24, ASHTONWHITEBIRCH30, ASTONWHITEBIRCH36, OZARKCHARREDOAK24, OZARKCHARREDOAK30, OZARKCHARREDOAK36, SMOKYWEATHEREDOAK24, SMOKYWEATHEREDOAK30, AND SMOKYWEATHEREDOAK36
This list contains replaceable parts used in your appliance. When ordering parts, follow the instructions listed under Replacement Parts on Page 20 of this manual.
| CAT. NO. | MODEL | DESCRIPTION |
| F4739 | ASHTONWHITEBIRCH24 | 24″ ASHTON WHITE BIRCH LOGS 7 PCS SET |
| F4740 | ASHTONWHITEBIRCH30 | 30″ ASHTON WHITE BIRCH LOGS 8 PCS SET |
| F4741 | ASHTONWHITEBIRCH36 | 36″ ASHTON WHITE BIRCH LOGS 9 PCS SET |
| F4736 | OZARKCHARREDOAK24 | 24″ OZARK CHARRED OAK LOGS 8 PCS SET |
| F4737 | OZARKCHARREDOAK30 | 30″ OZARK CHARRED OAK LOGS 9 PCS SET |
| F4738 | OZARKCHARREDOAK36 | 36″ OZARK CHARRED OAK LOGS 10 PCS SET |
| F4733 | SMOKYWEATHEREDOAK24 | 24″ SMOKY WEATHERED OAK LOGS 7 PCS SET |
| F4734 | SMOKYWEATHEREDOAK30 | 30″ SMOKY WEATHERED OAK LOGS 8 PCS SET |
| F4735 | SMOKYWEATHEREDOAK36 | 36″ SMOKY WEATHERED OAK LOGS 9 PCS SET |
Warranty
Innovative Hearth Products
Gas Log Set
Limited Three Year Warranty
THE WARRANTY
Innovative Hearth Products Limited Three Year Warranty (“IHP”) warrants your IHP Gas Log Set (“Product”) to be free from defects in materials and workmanship at the time of manufacture. The logs and grate carry the Limited Three Year Warranty. After installation, if covered components manufactured by IHP are found to be defective in
materials or workmanship during the Limited Three Year Warranty period and while the Product remains at the site of the origi nal installation, IHP will, at its option, repair or replace the covered components. If repair or replacement is not commercially practical, IHP will, at its option, refund the purchase price or wholesale price of the IHP product, whichever is applicable. IHP will also pay IHP prevailing labor rates, as determined in its sole discretion, incurre d in repairing or replacing such components. THERE ARE EXCLUSIONS AND LIMITATIONS to this Limited Three Year Warranty as described herein.
COVERAGE COMMENCEMENT DATE
Warranty coverage begins on the date of purchase. In the case of new home construction, warranty coverage begins on the date of first occupancy of the dwelling or six months after the sale of the Product by an independent IHP dealer, whichever occurs earlier. The warranty shall commence no l ater than 24 months following the date of product shipment from IHP, regardless of the installation or occupancy date.
EXCLUSIONS AND LIMITATIONS
This Limited Three Year Warranty applies only if the Product is installed in the United States or Canada and only if operated and maintained in accordance with the printed instructions accompanying the Product and in compliance with all applicable installation and building codes and good trade practices.
This warranty is non-transferable and extends to the original owner only. The Product must be purchased through a listed supplier of IHP and proof of purchase must be provided. The following do not carry the Limited Three Year Warranty but are warranted as follows:
Gas components – Repair or replacement for one year from the date of installation.
Remote control – Repair or replacement for one year from the date of installation.
Labor coverage – Prevailing IHP labor rates apply for the warranty period of the component.
Parts not otherwise listed carry a 90 day warranty from the date of installation.
Whenever practicable, IHP will provide replacement parts, if available, for a period of 10 years from the last date of manufacture of the product.
IHP will not be responsible for: (a) damages caused by normal wear and tear, accident, riot, fire, flood or acts of God; (b) damages caused by abuse, negligence, misuse, or unauthorized alteration or repair of the Product affecting its stability or performance (The Product must be subjected to nor mal use. The Product is designed to burn either natural or propane gas only. Burning conventional fuels such as wood, coal or any other solid fuel will cause damage to the P roduct, will produce excessive temperatures and could result in a fire hazard.); (c) damages caused by failing to provide proper maintenance and service in accordance with the instructions provided with the Product; (d) damages, repairs or inefficiency resulting from faulty installation or application of the Product.
This Limited Three Year Warranty covers only parts and labor as provided herein. In no case shall IHP be responsible for materials, components or con struction which are not manufactured or supplied by IHP or for the labor necessary to install, repair or remove such materials, co mponents or construction. Additional utility bills incurred due to any malfunction or defect in equipment are not covered by this warranty. All replacement or repair components will be shipped F.O.B. from the nearest stocking IHP factory.
LIMITATION ON LIABILITY
It is expressly agreed and understood that IHP’s sole obligation and the purchaser’s exclusive remedy under this warranty, un der any other warranty, expressed or implied, or in contract, tort or otherwise, shall be limited to replacement, repair, or refund, as specified herein.
In no event shall IHP be liable for any incidental or consequential damages caused by defects in the Product, whether such da mage occurs or is discovered before or after replacement or repair, and whether such damage is caused by IHP’s negligence. IHP has not made and does not make any representation or warranty of fitness for a particular use or purpose, and there is no implied condition of fitness for a particular use or purpose.
IHP makes no expressed warranties except as stated in this Limited Three Year Warranty. The duration of any implied warranty is limited to the duration of this expressed warranty.
No one is authorized to change this Limited Three Year Warranty or to create for IHP any other obligation or liability in connection with the Product. Some states and provinces do not allow the exclusion or limitation of incidental or consequential damages, so the above limitations or exclusions may not apply to you. The provisions of this Limited Three Year Warranty are in addition to and not a modification of or subtraction from any statutory warranties and other rights and remedies provided by law.
INVESTIGATION OF CLAIMS AGAINST WARRANTY
IHP reserves the right to investigate any and all claims against this Limited Three Year Warranty and to decide, in its sole discretion, upon the method of settlement.
To receive the benefits and advantages described in this Limited Three Year Warranty, the appliance must be installed and repaired by a licensed contractor approved by IHP.
Contact IHP at the address provided herein to obtain a listing of approved dealers/distributors. IHP shall in no event be responsible for any warranty work done by a contractor that is not approved without first obtaining LHP’s prior written consent.
HOW TO REGISTER A CLAIM AGAINST WARRANTY
In order for any claim under this warranty to be valid, you must contact the IHP dealer/distributor from which you purchased the product. If you cannot locate the dealer/distributor, then you must notify IHP in writing. IHP must be notified of the claimed defect in writing within 90 days of the date of failure. Notices should be directed to the IHP Warranty Department at 1769 East Lawrence Street; Russellville, AL 35654 or visit our website at WWW.IHP.US.COM.
ihp.us.com
Record the following important information about your appliance:
| Appliance model number | |
| Appliance serial number | |
| Date appliance was Installed | |
| Type of gas appliance uses | |
| Dealer name |

Innovative Hearth Products (IHP) reserves the right to make changes at any time, without notice, in design, materials, specifications, prices and also to discontinue colors, styles and products. Consult your local distributor for fireplace code information.
Printed in U.S.A. © 2021 Innovative Hearth Products P/N 901176-00 Rev. NC 07/2021
1769 East Lawrence Street • Russellville, AL 35654





















