Churro Stuffer
Models: 177CS11V, 177CS15V, 177CS20V, 177CS20VKIT,
177CS30V, 177CS30VKIT, 177CS7V
User Manual
177CS11V Churro Stuffer
Please read and keep these instructions. Indoor use only
www.AvantcoEquipment.com.
General Safety Regulations
WARNING: The warnings, cautions, and instructions discussed in this instruction manual cannot cover all possible conditions or situations that could occur. It must be understood by the operator that common sense and caution are factors that cannot be built into this product, but must be supplied by the operator.
Please use this machine according to these cautions. The user should understand all rules. Please carefully read them before you operate the machine. This machine may cause harm to the health of the operator if the user removes or changes equipment in the machine.
We are not responsible for any injuries resulting from improper operation of this machine. Please operate according to “Operation Method” instructions and follow the proper operation procedures while using. Take care while assembling and operating in order to avoid scratching skin. Please read the instruction manual.
- CHECK FOR DAMAGED PARTS. Before using the stuffer, check that all parts are operating properly and perform the intended functions. Check for binding of moving parts, mounting, and any other conditions that may affect the operation.
- The Manufacturer declines any responsibility in the case of improper use of the stuffer. Improper use of the stuffer will VOID the warranty.
- Repair must be done by an authorized dealer. Use only factory original parts and accessories. Modification of the stuffer will VOID the warranty.
- Be sure the stuffer is stable during use.
- NEVER operate the stuffer with the gear housing cover open or removed.
- WEAR EYE PROTECTION! Everyday eye glasses are not safety glasses. Safety glasses conform to ANSI Z87.1 requirement. Note: Approved safety glasses have Z87 printed or stamped on them.
- Do not use outdoors.
- SAVE THESE INSTRUCTIONS.
Assembly and Installation
PLUNGER ASSEMBLY
- Slide the Plunger Seal onto the Plunger (figure 1).
- Assemble the Pressure Release Valve Kit onto the Plunger. From the top of the Plunger, place the Washer onto the Valve Hole, then insert the Screw through the Washer and into the Valve Hole. From the underside of the Plunger, place the Spring onto the end of the Screw, then place the Valve Cap onto the end of the Screw and twist to secure.
- Screw the Plunger Bolt onto the Plunger Shaft (figure 2).

- Place the assembled Plunger onto the end of the Plunger Shaft (figure 3).
STUFFER ASSEMBLY - Attach the Handle by sliding it onto either the Fast or the Slow Gear (figure 4).

- Crank the Handle to bring the Plunger to the top of the Stuffer.
STUFFER ASSEMBLY continued - Rest Canister’s Bottom Brackets onto the Canister Mounts inside the Housing of the Stuffer. Pivot the Canister fully into the Stuffer Housing, snapping the Top Brackets into the Canister Mounts (figure 5).

- Insert the Stuffing Funnel of choice through the Front Ring Nut. Screw the Front Ring Nut and Stuffing Funnel onto the mouth of the Canister until snug. DO NOT OVERTIGHTEN the Front Ring Nut, as it may damage the Funnel (figure 6).
- Thoroughly coat the inside of the Canister with a foodgrade lubricant prior to use (figure 7).

Disassembly and Cleaning
NOTE: BE SURE TO CLEAN ALL PARTS IMMEDIATELY AFTER USE.
- Remove the Stuffing Funnel by unscrewing the Front Ring Nut and pulling the Funnel out.
- Turn the Handle until the Plunger comes up and out of the Canister.
- Pivot the Canister outward, then pull the Canister up to remove the Canister from the Stuffer Housing.
- Unscrew the Plunger from the Plunger Shaft.
- Disassemble the pressure release valve from the plunger.
- Remove the plunger seal from the plunger.
- Wash all parts that have come in contact with churro mixture in hot soapy water.
- Rinse and thoroughly dry all parts immediately.
- Sterilize as needed.
- Fully lubricate the Shaft, Canister, Pressure-Release Valve components, and the Front Ring Nut with a food-grade lubricant before and after each use.
Stuffing Instructions
CAUTION! When the plunger is pulled out of the Canister, RELEASE THE HANDLE SLOWLY! Pressure or gravity could cause the Handle to spin back slightly and cause injury.
NOTE: Apply a food-grade lubricant to the inside of the Canister before filling with the churro mixture.
- Tilt out the Canister.
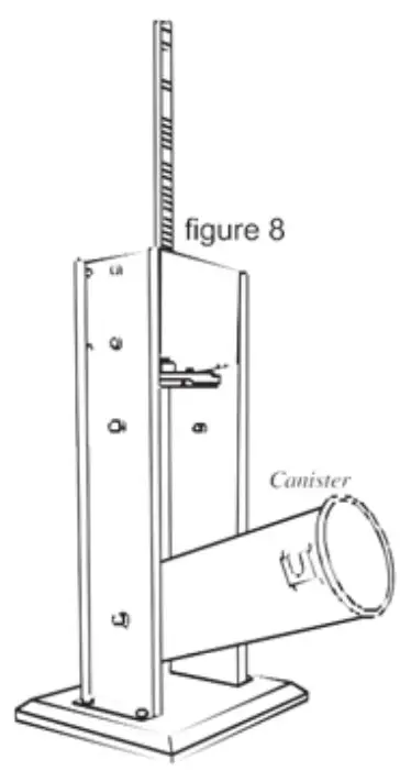
- Fill the Canister with the churro mixture and seasoning mixture (figure 8).
- Press the mixture down into the Canister firmly to release any trapped air.
- Pivot the Canister back into the upright position and snap the Top Brackets onto the Canister Mounts.
- Turn the Handle until the Plunger comes in contact with the churro mixture and the mixture is ready to extrude out of the end of the Stuffing Funnel.
- Continue turning until extruded Churro mixture is desired length.

Exploded Diagram and Parts List
| Part # | Description |
| 1 | Handle |
| 2 | Plunger |
| 3 | Plunger Seal |
| 4 | Pressure Release Valve (4 Piece Set) |
| 5 | (1) Hollow Churro Tube |
| 6 | Stainless Steel Canister |
| 7 | Front Ring Nut |
| 8 | Canister Mounting Hardware Kit (4 Sets) |
| 9 | Plunger Shaft |
| 10 | Plunger Bolt |
| 11 | Gear Housing Cover with Hardware Kit |
| 12 | Gear Housing Cover Bottom Plate with Hardware Kit |
| 13 | Gear Housing with Hardware Kit |
| 14 | Main Driving Gear |
| 15 | Slow Speed Control Gear |
| 16 | Fast Speed Control Gear |
| 17 | Rubber Foot (4 Piece Set) |
| 18 | Butterfly Screw |
| 19 | (1) 11/16″ Non-Hollow Churro Tube |
| 20 | (1) 5/16″ Non-Hollow Churro Tube |
| 21 | (1) 1″ Non-Hollow Churro Tube |























