BORMANN BAG2200 Handsaw

SYMBOLS
![]() | Carefully read the operator’s manual. |
![]() | WARNING! Instructors or symbols which, if not observed, could result in damage and/or injury. |
![]() | This power tool must not be disposed of with household waste. Follow the disposal instructors in this manual. |
![]() | Wear hearing protection! |
![]() | Wear safety glasses! |
![]() | Wear a dust mask! |
![]() | Wear good quality gloves! |
SAFETY PRECAUTIONS
When using any equipment, certain safety precautions must be taken to avoid injury and/or damage. Please read this manual carefully before using the tool. Keep this operator’s manual for future reference. In case this tool is borrowed, transferred or moved, make sure that the instruction manual remains with it. The manufacturer accepts no liability for damage or accidents caused by failure to comply with these safety instructions.
CAUTION: Read all safety regulations and instructions. Not following all safety precautions may result in electric shock, fire and/or serious injury.
The term “power tool” used in this manual refers to power tools powered by electricity (with a power cord) and battery-powered power tools (without a power cord).
Workplace safety
a) Keep your workplace clean and well lit. Untidy or poorly lit workplaces can result in accidents.
b) Do not use the power tool in an environment where there is a risk of explosion and where there are flammable liquids, gases or dust. Power tools produce sparks that could ignite dust or vapours.
c) Do not allow bystanders, children or animals into your work area. If there is a distraction, you may lose control of the appliance.
Electrical safety
a) The plug from the power tool must be plugged into a properly grounded installed outlet. Never modify the plug in any way. Never use adaptor plugs with grounded power tools. Unaltered plugs and correct sockets reduce the risk of electric shock.
b) Avoid body contact with grounded surfaces like refrigerators, pipes and radiators when using electric powered tools. This will reduce the likelihood of shock.
c) Do not expose electric power tools to rain or wet conditions. Wet tools increase the likelihood of electric shock.
d) Do not abuse the cord. Never use the cord for carrying, pulling or unplugging the power tool. Damaged or entangled cables increase the risk of an electric shock.
e) Keep power cords away from heat, water, oil, sharp edges and moving parts. They can damage the insulation and cause a shock.
f) If you are working outdoors with an electric tool, only use extension cables which are designed and marked specifically for this purpose.
g) If operation of the electric tool in a damp environment can not be avoided, use an earth-leakage circuit breaker (ELCB) to reduce the risk of an electric shock.
Personal safety
a) Be alert, watch your movements and use a power tool with care. Do not use the tool if you are tired or under the influence of medication, alcohol or other substances. A moment of negligence when using the power tool can result in serious injury.
b) The use of personal protective equipment (such as dust masks, non-slip safety shoes, safety helmet or earplugs depending on the type and use of the power tool) reduces the risk of injury. Always wear safety goggles.
c) Make sure the tool cannot start accidentally. Make sure that the electric tool is switched off before you connect it to the power supply and/or insert the battery, or when picking it up or carrying it. Plugging the appliance in when it is switched on, or moving the power tool with your finger on the power switch, may accidentally start the tool and lead to accidents.
d) Remove keys and wrenches before switching on the electric tool. A tool or key coming into contact with rotating parts of the tool can result in damage or injury.
e) Do not overreach. Keep proper footing and balance at all times. This enables better control of the power tool in unexpected situations.
f) Wear suitable work clothes. Keep hair, clothes and gloves away from moving parts. Do not wear loose clothing or jewellery. Loose clothing, jewellery or long hair can get caught in moving parts.
g) If vacuum and drainage devices can be fitted on the tool, make sure that they are correctly connected and used. The use of a dust extraction system can reduce dust-related hazards.
Power tool safety
a) Do not overstrain the tool. Use the right tool for each task. You will be able to work better and more safely within the specified performance parameters.
b) Do not use a power tool with a defective power switch. A power tool that cannot be switched on or off is dangerous and must be repaired.
c) Unplug the tool and/or remove the battery before making any adjustments to the tool, switching attachments or putting the tool down or in storage. This safety measure prevents the power tool from starting up unintentionally.
d) Keep the electric tool out of the reach of children and untrained users. Only people who have read and understand completely all safety instructions can use the power tool. Power tools can be dangerous if used by inexperienced users.
e) Clean your power tool carefully. Check that the moving parts work properly and do not jam and that there are no parts broken or damaged to such an extent that the operation of the power tool is affected. Contact an authorised service centre for any repairs needed before using the tool. Poorly maintained power tools can cause serious damage or harm.
f) Keep any cutting tools sharp and clean. Carefully maintained cutting tools with sharp cutting edges are less likely to jam and are easier to control.
g) Use the power tools, accessories, attachments, etc. in accordance with these instructions. Take into account the conditions of your workplace and the task at hand. Using power tools for any purpose other than that for which they are intended can lead to dangerous situations.
Service
Have your power tool repaired only by trained personnel using only authentic spare parts. This will ensure that your power tool is always safe to use.
a) This power tool is intended to function as a grinder or cut-off tool. Read all safety warnings, instructions, illustrations and specifications provided with this power tool. Failure to follow all instructions listed below may result in electric shock, fire and/or serious injury.
b) This power tool cannot be used for polishing or as a sander. If the power tool is used for work for which it is not designed, danger and damage and/or injury may occur.
c) Do not use accessories which are not specifically designed and recommended by the tool manufacturer. Just because an accessory can be attached to your power tool, that does not assure safe operation.
d) The rated speed of an accessory must be at least equal to the maximum speed marked on the power tool. Accessories running faster than their rated speed can break and fly apart.
e) The outer diameter and thickness of your component must be within the specified dimensions of your power tool. Incorrectly sized accessories cannot be properly guarded or controlled.
f) The arbor size of wheels, flanges, backing pads or any other accessory must properly fit the spindle of the power tool. Accessories with arbor holes that do not match the mounting hardware of the power tool will run out of balance, vibrate excessively and may cause loss of control.
g) Wear personal protective equipment. Depending on each application, use a face shield, safety goggles or safety glasses. When needed, wear a dust mask, hearing protection, gloves and a workshop apron capable of stopping small abrasive fragments. Your safety goggles must be capable of stopping flying debris generated by various operations. The dust mask or respirator must be capable of filtrating any dust generated by your operation. Prolonged exposure to high intensity noise may cause hearing loss.
h) Keep bystanders at a safe distance from the work area. Anyone entering the work area must wear personal protective equipment. Flying shrapnel or debris from the workpiece can cause injury beyond your immediate work area.
i) Hold the power tool only by the insulated handles when performing an operation where the cutting accessory may come in contact eith hidden wiring or its own cord. Contact with a “live” wire will also make exposed metal parts of the power tool “live” and shock the operator.
j) Position the cord clear of any spinning accessories. If you lose control of the power tool, the cord may be cut or snagged and your hand or arm may be pulled into the spinning accessory.
k) Never lay the power tool down until the accessory has come to a complete stop. The spinning accessory may grab any surface and pull the power tool out of your control.
I) Do not run the power tool while carrying it at your side. Accidental contact with the rotating accessory can become caught in your clothing, pulling the accessory against your body.
m) Regularly clean the power tool’s air vents. The motor’s fan will draw the dust inside the housing and excessive accumulation of powdered metal may cause electrical hazards.
n) Do not operate the power tool near flammable materials. Sparks could ignite these materials.
o) Do not use accessories that require liquid coolants. Using water or other liquid coolants may result in electric shock.
Kickback is a sudden reaction to a pinched or snagged rotating wheel, backing pad, brush or any other accessory. Pinching or snagging causes rapid stalling of the rotating accessory which in turn causes the uncontrolled power tool to be forced in the direction opposite of the accessory’s rotation at the point of the binding. For example, if an abrasive wheel is snagged or pinched by the workpiece, the edge of the wheel that is entering into the pinch point can dig into the surface of the material causing the wheel to kick out. The wheel may either jump toward or away from the operator, depending on direction of the wheel’s movement at the point of pinching. Abrasive wheels may also break under these conditions. Kickback is the result of power tool misuse and/or incorrect operating procedures or conditions and can be avoided by taking proper precautions as given below.
a) Maintain a firm grip on the power tool and position your body and arm to allow you to resist kickback forces. Always use the additional handle, if provided, for maximum control over kickback reaction during start-up. The operator can control kickback forces, if proper precautions are taken.
b) Never place your hand near the rotating accessory. The accessory may recoil on your hand.
c) Do not position your body in the area where the power tool will move if kickback occurs. Kickback will propel the tool in the direction opposite to the wheel’s movement at the point of snagging.
d) Use special care when working corners, sharp edges, etc. Avoid bouncing and snagging the accessory. Corners, sharp edges or bouncing have a tendency to snag the rotating accessory and cause loss of control or kickback.
e) Do not attach a saw chain, woodcarving blade or toothed saw blade. Such blades create frequent kickback and loss of control over the power tool.
Additional safety instructions
a) Use only wheel types that are recommended for your power tool and the specific guard designed for the selected wheel. Wheels for which the power tool was not designed for cannot be adequately guarded and are unsafe.
b) The guard must be securely attached to the power tool and positioned for maximum safety, so the least amount of wheel is exposed towards the operator. The guard helps to protect operator from broken wheel fragments and accidental contact with wheel.
c) Disc must be used only for recommended applications. For example: do not grind with the side of the cut-off disc. Abrasive cut-off disc are intended for peripheral grinding; side forces applied to these discs may cause them to shatter.
d) Always use undamaged disc flanges that are of correct size and shape for your selected disc. Proper disc flanges support the disc thus reducing the possibility of disc breakage. Flanges for cut-off disc may be different from grinding disc flanges.
e) Do not use worn down discs from larger power tools. Discs intended for larger power tools are not suitable for the higher speed of a smaller tool and may burst.
f) Do not “jam” the cut-off disc or apply excessive pressure. Do not attempt to make an excessive depth of cut. Overstressing the disc increases the loading and susceptibility to twisting or binding of the disc in the cut and the possibility of kickback or disc breakage.
g) Do not position your body in line with and behind the rotating disc. When the disc, at the point of operation, is moving away from your body, the possible kickback may propel the spinning disc and the power tool directly at you.
h) When the disc becomes blocked or when interrupting a cut for any reason, switch off the power tool and hold the power tool in place until the disc comes to a complete stop. Never attempt to remove the cut-off disc from the cut while the disc is in motion, otherwise kickback may occur. Investigate and take corrective action to eliminate the cause of disc jamming.
i) Do not restart the cutting operation in the workpiece. Let the disc reach full speed and carefully reenter the cut. The disc may get jammed or kickback if the power tool is restarted in the workpiece.
j) Support panels or any oversized workpiece to minimize the risk of disc pinching and kickback. Large workpieces tend to sag under their own weight. Supports must be placed under the workpiece near the line of cut and near the edge of the workpiece on both sides of the wheel.
k) Use extra caution when making a “pocket cut” into existing walls or other blind areas. The protruding disc may cut gas or water pipes, electrical wiring or objects that can cause kickback.
INTENDED USE
The angle grinder is designed for grinding and cutting materials without using water or other liquid coolants. For cutting operations, a special protective guard must be used.
This equipment complies with the safety regulations required for electrical equipment.
Carefully read the instructions and understand all safety precautions before using the tool. Users not familiar with the equipment may not operate the tool.
Children and underage operators are not allowed to use the tool.
The equipment must be used only for its intended purpose. Any other use is considered a case of misuse. Improper use can lead to personal injury or property damage. The operator, not the manufacturer, is responsible for any damage or injury of any kind caused as a result of misuse of the tool.
SPECIFICATIONS
Main Parts (Images 1 – 6)
- Spindle lock
- Safety switch
- ON/OFF switch
- Side handle
- Protective guard
- Wrench
- Adjusting angle lever
| Technical Data | |
| Model | BAG2200 |
| Voltage | 230V/50hz |
| Power | 2200W |
| No-load speed | 6500rpm |
| Disk Diameter | 230mm |
| Cable Length | 2m |
| Includes | Soft start system, lpcs grinding guard, lpcs side handle, lpcs wrench |
* The manufacturer reserves the right to make minor changes to product design and technical specifications without prior notice unless these changes significantly affect the performance and safety of the products. The parts described/ illustrated in the pages of the manual that you hold in your hands may also concern other models of the manufacturer’s product line with similar features and may not be included in the product you just acquired.
* To ensure the safety and reliability of the product and the warranty validity, all repair, inspection, repair or replacement work, including maintenance and special adjustments, must only be carried out by technicians of the authorized service department of the manufacturer.
* Always use the product with the supplied equipment. Operation of the product with non-provided equipment may cause malfunctions or even serious injury or death. The manufacturer and the importer shall not be liable for injuries and damages resulting from the use of non-conforming equipment.
BEFORE OPERATION
Note: Before you connect the equipment to the power supply make sure that the data on the rating plate are identical to the mains data
Installing the side handle (Image 2)
The angle grinder must not be used without the side handle (4).
The side handle can be secured in any of 3 positions (A, B, C).
| Tool side | Suitable for |
| Left (Position A) | Left hand operation |
| Right (Position B) | Right hand operation |
| Middle (Position C) | Left/ Right hand operation |
Setting the guard (Image 3)
- Switch off the tool. Pull the power plug.
- Adjust the guard (S) to protect your hands so that the material being ground is directed away from your body.
- The position of the guard (5) can be adjusted to any specific working conditions. Undo the screw (a) and turn the cover (5) into the required position.
- Make sure that the guard (5) correctly covers the gear wheel casing.
- Retighten the screw (a).
- Ensure that the guard (5) is secure.
Caution! Never use the angle grinder without the guard.
Caution! When replacing the protective guard, the screw can not be removed
Testing new discs
Allow the angle grinder to run in idle speed for at least 1 minute with the grinding or cutting disc fitted in place. Vibrating discs must be replaced immediately.
OPERATION
Switching ON/OFF (Image 4)
The angle grinder comes with a safety switch which is designed to prevent accidents.
To switch on: Press the safety switch (2) and then press ON/OFF switch (3).
To switch off: Release the ON/OFF switch (3).
Wait until the machine has reached its top speed. You can then position the angle grinder on the workpiece and start working on it.
Adjusting the working angle
For easy use, the head can be rotated by 90″ to the right or left.
- Press the lever (7) and turn the head into the desired position.
- Release the lever (7), the head locks into place.

Changing discs (Image 6)
Switch off the power tool and disconnect it from the power supply before attaching, adjusting, replacing or removing accessories to avoid the risk of electric shock or accidental starting.
Only ever press the spindle lock when the motor and grinding spindle are at a standstill.
Use the wrench (6) supplied to change the wheels.
Change the disc using the spindle lock:
- Press the spindle lock and allow the grinding disc to latch in place.
- Open the flange nut with the wrench (6).
- Change the grinding or cutting disc and tighten the flange nut with the wrench.

Note: You must keep the spindle lock pressed while you change the disc. For grinding or cutting disc up to approx. 3 mm thickness, screw on the flange nut with the flat side facing the grinding or cutting disc
Disc mounting (Images 7-10)
Flange arrangement when using a depressed centre or straight grinding disc (1mg. 8):
a) Clamping flange
b) Flange nut
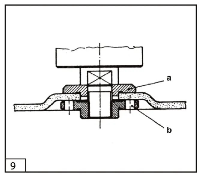
Flange arrangement when using a depressed centre cutting disc (1mg. 9):
a) Clamping flange
b) Flange nut
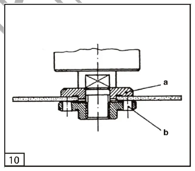
Flange arrangement when using a straight cutting disc (1mg. 10):
a) Clamping flange
b) Flange nut




Motor
It is vital for the motor to be well ventilated during operation. Make sure to keep the ventilation openings clean at all times.
Discs
Never use a grinding or cutting disc bigger than the specified diameter.
Before using a grinding or cutting disc, check its rated speed. The disc’s rated speed must be higher than the idle speed of the angle grinder.
Use only grinding and cutting discs that are approved for a minimum speed of 11500 rpm and a peripheral speed of 80 m/sec.
Check the direction of rotation when you use a diamond cutting disc. The directional arrow on the diamond cutting disc must point in the direction in which the tool rotates.
Rough grinding
For the best rough grinding results, hold the grinding disc at an angle of between 30′ and 40′ to the workpiece surface and guide back and forth over the workpiece in steady movements
Never use a cutting disc for rough grinding!
It is prohibited to use the tool on asbestos materials!
CLEANING AND MAINTENANCE
Switch off the power tool and disconnect it from the power supply before carrying out any maintenance or cleaning work to avoid the risk of electric shock or accidental starting.
Cleaning
It is recommended that you clean the device immediately each time you finish using it.
- Keep all safety guards, air ducts and the engine housing as free of dirt and dust as possible.
- Wipe the equipment with a clean cloth or blow it with compressed air at low pressure.
- Clean the equipment regularly with a dump cloth and some soft soap. Do not use any cleaning agents or solvents that could damage the plastic parts of the equipment. Make sure that no water can leak into the device.
Carbon brushes
In case of excessive sparking, have the carbon brushes checked by a qualified electrician.
Important! The carbon brushes should only be checked and replaced by a qualified electrician.
Power cable
If the power cable of the tool is worn or damaged, contact an authorised service center. Cables and plugs must only be replaced by authorised personnel to avoid damage or harm (electric shock).
There are no other parts inside the power tool that require additional maintenance.
Other repairs and service
There are no other parts of this power tool that can be serviced or repaired by the user. Never try to repair the power tool yourself. In cases of malfunction, always contact an authorised service center. Only use accessories and spare parts recommended by the manufacturer
ENVIRONMENTAL DISPOSAL
In order to avoid damages on transportation, the tool has to be delivered in solid packaging. Packaging as well as the unit and accessories are made of recyclable materials and can be disposed accordingly. The tool’s plastics components are marked according to their material, which makes it possible to remove e1nvir.onmental .friendly and differentiated because of available collection facilities.
Only for EU countries
Do not dispose of electric tools together with household waste material!
In observance of European Directive 2002/96/EC on waste electrical and electronic equipment and its implementation in accordance with national law, electric tools that have reached the end of their life must be collected separately and returned to an environmentally compatible recycling facility.






























