BEHA PV Smart Heaters User Manual
The heaters may be used without mobile app control.
Use of heaters via app control:
The intention of using the app is to save energy. The app has a built-in programme,which activates automatically when the heater is linked up to your router. You can then change the factory set programme to your preferred settings.
When you use the heater for the irst time, it will be ready for router connection for 3 minutes. We recommend that you wait to connect power to the heater until the mobile app is downloaded and you have established an account. Please keep your router password ready.
Please read the manual carefully before use of the heaters, and save it forlater reference. This manual is also available at http://beha.no/brukermanualer
SAFETY IMPORTANT
Safety information
When using any electrical appliance, basic precautions should always be followed to reduce the risk of fire and injuries. Please read the entire user manual before using heater.
- Before use, remove all packaging.
- Turn the switch to OFF and remove the plug from the wall ocket when the heater is not in use and when cleaning.
CAUTION! Parts of this product will become hot and may cause burns. Pay especially attention where children and vulnerable people are present.
- Children aged from 3 years and less than 8 years shall only switch on/off the appliance provided that it has been placed or installed in its intended normal operating position and they have been given supervision or instruction concerning use of the appliance in a safe way and understand the hazards involved. Children aged from 3 years and less than 8 years shall not plug in, regulate and clean the appliance or perform user maintenance.

Warning: In order to avoid overheating, do not cover the heater.
- This appliance can be used by children aged from 8 years and above and persons with reduced physical, sensory or mental capabilities or lack of experience and knowledge if they have been given supervision or instruction concerning use of the appliance in a safe way and understand the hazards involved. Children shall not play with the appliance. Cleaning and user maintenance shall not be made by children without supervision.
- Children of less than 3 years should be kept away unless continuously supervised.
- Furthermore, do not use the heater in areas where gasoline, paint, or flammable liquids are used or stored.
- The wall socket in which the heater is connected to should be visible and accessible.
- The heater must not be located immediately below a wall socket.

- Do not operate any heater with a damaged cord or plug. The cable must not come into contact with hot surfaces of the heater during operation.
- Do not cover the cord with carpets. Do not step on the cable.
- Ensure that no foreign objects are placed in the heater’s air outlets as it can cause electrical failure or fire.
- The heater should not be repaired, dismantled or modified.
Electrical connection and use
Before connecting, please ensure that the voltage is 220-240V ~ 50Hz. The heater should be connected to a socket in the room it is intended to be used. Do not connect the heater to sockets in adjacent rooms using an extension cable.
Distance
The heater should be located away from furniture, curtains or other mmable objects. Mounting fla distances are stated on.
Care and Maintenance
- Remove power connection and make sure the heater is cooled down before cleaning.
- Clean the outside with a damp cloth.
- Never use abrasive cleaners or submerse the heater in water or other liquids.
- When cleaning or relocating the heater should be turned off and the cord unplugged. In that order. Do not remove the plug from the socket by pulling the cord. Remove the plug from the socket by gripping the plug and gently pull it out of the wall socket.
- Do not touch the heater with wet hands.
Easy cleaning:
The heater tilts forward on the ixing f bracket for the ease of cleaning behind.
INSTALLATION
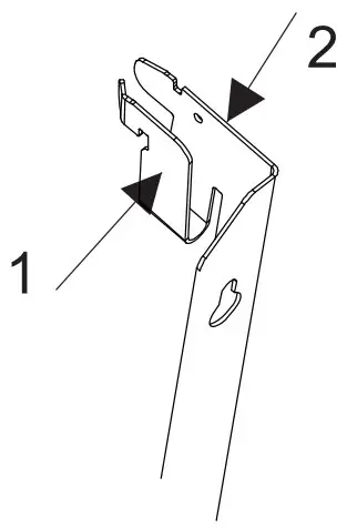
Removing wall bracket:
Remove wall bracket from heater by pressing lip 1 and push lightly downwards on lip 2.
Pull the bracket out gently.
Protection and safety lid:
- Remove the lid by pressing the two sides together and pull out.
- When placing the lid the mark shall point towards the front of the heater


Fixing the wall bracket:
Insert a screw in the lower key hole approx. 13 cm above the loor. Level the bracket and insert the other 3 screws. When the h f eater is installed the distance below should be approx. 10 cm.
At the bottom of the back plate there are two small triangle tracks. Place the heater onto the tracks and push the heater towards the lips on top of the bracket in an upright position.
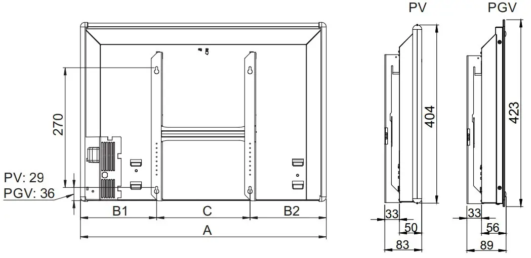
Heater sizes
| Type | Watt | A mm | B1 /B2 mm | C mm |
| PV | 400 | 431 | 147/73 | 210 |
| 600 | 555 | 172 | 210 | |
| 800 | 679 | 184 | 310 | |
| 1000 | 803 | 246 | 310 | |
| 1:250 | 927 | 158 | 610 | |
| 1500 | 1175 | 282 | 610 | |
| 2000 | 1423 | 406 | 610 | |
| LV | 500 | 803 | 246 | 310 |
| 750 | 1051 | 220 | 610 | |
| 1000 | 1299 | 344 | 610 | |
| 1250 | 1671 | 380 | 910 |
| Type | Watt | A mm | B1 /B2 mm |
| PGV | 400 | 440 | 152/78 |
| 600 | 564 | 177 | |
| 800 | 688 | 189 | |
| 1000 | 812 | ‘2_51 | |
| 1250 | 936 | 163 | |
| LGV | 750 | 1060 | 225 |
| 1000 | 1308 | 349 |
PV * Wi-Fi
PGV * Wi-Fi
LV * Wi-Fi
LGV * Wi-Fi
Use of the heater
Switch on the heater. The heater is factory set at 22 C. Scrolling the thermostat wheel changes the temperature setting. When the selected temperature is shown for the irst time it will be displayed on the loor for 3 minutes. When adjusting the temperature later it will be displayed for 10 seconds.
After a power outage or the power is switched off and then on again, the Wi-Fi symbol will be displayed on the loor together wit f h the temperature for 3 minutes. After a power outage the heater will restart at the set temperature.
Using the heater with mobile app control:
Do not switch on the heater before the app is installed on your smartphone/tablet. The reason is that the heater is set to link-up mode for 3 minutes at irst time use. The Wi-Fi symbol will pulsate onto the loor for 3 minutes searching for router connection.
Creating app control account:
To control the heaters by using the mobile app a wireless network must be available on your premises. This enables online control of your heaters.
The irst time you connect, your device must be connected to the same wireless network as the heater.
Network 2,4 GHz has to be used (not 5GHz).


Open the app. Create an account with password or log in with your Facebook account. If you are logging in with facebook there may only be one user.
Create your account by typing in your e-mail address. Tap on A code will be sent to your e-mail address. This code you Send verify code. key in to the field . Tap on . Verification code Verify code
Then create your personal password in the field New Password.
Password:
The password must include 8 characters or more .
If you are multiple users, you need the same password to log in with e-mail address and .
Display Name: Every single user enter his name.
Further information is available at: http://beha.no/brukermanualer/
TECHNICAL
Factory setting is 22 . °C
The thermostat can be adjusted downwards to 5°C – Frost guard level.
When the thermostat is connected, a small, red dot is shown on the loor. f
By power outage:
Without app:
The heater returns to chosen temperature.
Cold draft/Open window function:
When opening a window and the temperature drops more than 5°C within 40 sec the cold draft function is activated. The heater changes between chosen temperature for 10 seconds, and 5 degrees for 30 seconds. The function is active for max. 15 minutes.
BEHA heaters PV Wi-Fi and LV Wi-Fi are IP24 tested and approved for installation in bathrooms and utility rooms.
This apparatus is in compliance with the following EU directive:
2014/30/EU (EMC) electromagnetic noise
2014/35/EU (LVD)
2011/65/EU (ROHS) use of dangerous substances
The product must be treated in compliance with EU directive 2012/19/EU.
The apparatus must not be disposed of together with regular house waste but be handled to an approved waste dump for separation and recovery station. A defect product must be treated correctly, in order to prevent health or environment risks.
Information about energy consumption:
The product complies with the EU regulations on the Ecodesign Directive (2009/125/EC) for energy-related products (ErP).
The symbol
on the product or on the documents accompanying the product, indicates that this product may not be treated as household waste. Handing it over to a authorized for the recycling of electrical and electronic equipment. Pick must be in accordance. he T local waste regulations. For further information treatment, recovery and recycling of this product, contact your local council, waste disposal service or the shop where you purchased it.
Helpful hints
Do not connect the heater to the power outlet until the app informs you to do so.
ROUTER
In order to ensure best possible signal the router should be located in the central part of your living area. Wireless signal is getting weaker when the distance is long. Walls and other objects may influence on the signal.
The alternative is to install a Wi-Fi extender. The password on the extender must be exactly the same as for the router.
If the router is of the dual band type it is necessary to split the signal in the phone settings to 2,4GHz during link-up of the heaters. The app will not accept 5GHz. If your router does not give you the possibility to split the signal frequency you may link up via the extender or contact your network provider for splitting the bands.
Location on your phone:
When the app installed in your phone makes sure it has access to your location, go to Settings / Apps / BEHA SmartHeater. If you have an iOS phone it will be necessary to activate Location Accurate Location. and
Apps running in the background:
If you have several apps open and running in the background they need to be closed during the link up process.
Connecting the heater:
Create three different names for PLACE – ROOM – HEATER.
When you are requested to enter password, it is the password of the router you have to enter.
When the heater is being linked up the Wi-Fi symbol is pulsating on the floor.
UPg displayed on the floor:
If UPg is displayed on the floor after the heater is connected to the app DO NOT SWITCH OFF THE POWER SUPPLY. UPg means the heater is being upgraded.
Your account in the Cloud:
You will find your account at: https://privacy.devicedrive.com
Here you will find all heaters connected to your User.
Here you can change your password.
Here you can delete your account and heaters. Afterwords you need to reset the heater to factory setting.
Router firewall:
If you get the message «YOU ARE DONE» but do not get in contact with your heaters, most likely it is a firewall in your router stopping you. Contact your network provider and ask to open gates 8883 and 443.
When the app does not find the heater:
It may be due to a weak Wi-Fi signal where the heater is installed. A solution may be to hook the heater off the wall bracket and move it temporarily closer to the router for link-up.
VPN
The VPN on the phone must be turned off.
GET STARTED
APP CONTROL
When connecting the heater to your phone/tablet it is important that your device and router are connected to the same network. The Wi-Fi setting of your smartphone MUST be switched on.
When connecting the heater to wireless network 2,4 GHz . the , router frequency has to be on the phone If your router is using both 5GHz and 2,4GHz signal you should go to Settings on your smartphone under Wi-Fi and select the network that is NOT designated as 5 GHz. Turn on 5 GHz after all heaters are linked-up.
App needs access to in Android and in iOS. «position» «location services»
Please have your internet router password ready.
Do not switch on the heater before the app is installed on your smartphone/tablet. The reason is that the heater is set to link-up mode for 3 minutes at irst time use. The Wi-Fi symbol will pulsate onto the loor for 3 minutes searching for router connection. Switching off/on the heater will restart the search for another three minutes.
CONNECTING THE FIRST SMARHEATER
The first time you use the app it will start with , P and R ADD HEATER YOUR LACES (e.g. HOME) OOM (e.g. LIVING ROOM).
- Connecting the heater to the internet router. Tap on plus +.
- The Wi-Fi on the phone must be switched on and connected to 2,4 GHz. Then tap NEXT.
- Name the heater. e.g. PV 12 – 1250W. Tap on Tap on.
- ADD PLACE e.g. HOME. Tap on DONE. Tap on SAVE.

- ADD ROOM where the heater is installed, e.g. LIVING ROOM. Tap on Done. SAVE.
- Write in your router password. Tap on NEXT.
- Make sure power is connected and power switch is in ” ON ” position. Tap on NEXT. Wi-Fi symbol must pulsate on the floor. The heater is now searching for the router.
- The heater is now searching for the router.

- This picture shows that the heater is successfully connected to the App. Tap on GO TO DASHBOARD. If this screen is not shown something is wrong,
- If there are more heaters to connect in LIVING ROOM tap on ADD HEATER. NB! Each heater must have different name. When all heaters are connected tap on the arrow in upper left corner to get back to YOUR PLACES.

MY PROGRAMS
When all heater in the room are connected you program for all the heaters i the room.
EDIT:
It is possible to change name and delete selections when three dots are shown in the upper right corner.
ADD MORE ROOMS IN HOME AND CONNECT HEATERS
- YOUR PLACES will show number of rooms, number of heaters and average temperature in each place. Tap on HOME.
- Creating more rooms. Tap on ADD ROOM where the heater is installed.
- ADD ROOM e.g. KITCHEN. Tap on SAVE.
- Tap on KITCHEN.

- Tap on . ADD HEATER The Wi-Fi on the phone must be turned on and set to 2,4GHz. Tap NEXT.
- Name the heater. e.g. PV 20. Tap on
- Write in your router password. Tap on NEXT.

- Make sure power is connected and power switch is in ” ON ” position. Tap on NEXT. Wi-Fi symbol must pulsate on the floor. The heater is now searching for the router. See page 8 for link-up modus.
- This picture shows that the heater is successfully connected to the App. Tap on GO TO
- The app is now returning to the room level.
Next step is to make program for Work, Home and Away. Tap on EDIT.
CREATE PROGRAM FOR E.G. LIVING ROOM
The app has three programs: , and The temperature in each room must be set for this program.
- Define weekly program:
Make separate programs for Work, Home and Away.
Mark and tap on Work the arrow. - If you want to change the app suggestions tap on e.g. the text . Choose Work day e.g. and tap Home day SAVE.
Make dayprograms: Tap on arrow for Home day. - All Home day will have the same program. You may create alternative DAY PROGRAMS by tapping on “+ “.
Tap on the arrow for Home day. - Setting hour and temperature for Home day. Adding times tapping on ” + ” . Deleting and changing times by tapping on ” – ” in upper right corner. Tap on . Repeat for Work day SAVE and Away day.
In this picture you change set temperature permanently.
DAY PROGRAMS made here for LIVING ROOM is only avalilable for LIVING
Picture 1
Picture shows which program is activated rooms , created with numbers of and average temperature. heaters installed Change program for all rooms in HOME at the same time:
When tap you can change between three in on ” ” modes EDIT HOME.
- Work
- Home
- Away
The mode you in select will be valid for all rooms HOME.
Picture 2
Tap on in LIVING ROOM Picture 1.
ROOM LEVEL
If you want to change the set temperature for a short period of time
drag the up or down. TARGET TEMPERATURE Status will automatically be update to . The new set d from ACTIVE Manual tem will be valid for 24 hours.
If you want to go back to original setting use the program button.
Child Proof and Frost Guard functions can be activated for all heaters at room level, all heaters can be switched off.
Picture 3
Tap on in 2: EDIT Picture
HEATER
In this picture the temperature settings of this heater can be changed and will be valid for 24 hours. The heater can also bee turned OFF and ON.
Picture 4
If you tap the following options on ” ≡ ” (upper right corner) in Picture 3 will appear:
- Reconnecting the heater when changing the router. (Tap on “ReinkUp”)
- Change name of heater
(Tap on Pencil symbol (upper right)). - Moving the heater to another room without re linking the heater – (Tap on . “Move to place“ and “Move to place” Tap on Move to place Move to room SAVE).
- Deleting heater the (Tap on “Delete“).

DO NOT CONNECT THE HEATER TO THE POWER OUTLET UNTIL THE APP INFORMS YOU TO DO SO.
When connecting the heater to your phone/tablet it is important that your device and router are connected to the same network. The Wi-Fi setting of your smartphone MUST be switched on.
IF THE APP DOES NOT FIND THE HEATER
CONNECTING THE SMARTHEATER TO YOUR PHONE / TABLET:
Wi-Fi setting on the phone
- “Settings” “Wi-Fi” Go to on your phone. Select . If the router has two networks – select the network that is NOT designated as 5 GHz.
- Download the app BEHA SmartHeater from the App Store (iPhone) or Google Play (Android).
Heater – Place – Room
The first time you use the app it will start with ADD HEATER, YOUR PLACES and ROOM. - ADD HEATER: If there are more heaters in the same room, they must have different names. You can name the heaters what you want – e.g. HEATER SOUTH WALL. Remember to . save You can only connect one heater at the time.
- ADD PLACE: Enter where to use the heater, e.g. Home or Cabin. Remember to . save
- ADD ROOM: Add the room where the heater is installed, e.g. Kitchen, Living Room, John`s room. Remember to save.
Connect the heater to the router - Write in your router password. Make sure that you enter the correct numbers uppercase and lowercase letters and signs.
- Connect power to the heater and check that the Wi-Fi symbol is pulsating on the floor. *
- Press “Next” (press the top of the screen first to make the image of the keyboard disappear). Now the app search for the heater through the router. Wait will for the message: . The app is not “YOUARE DONE” attached to the heater until you receive this message. If you o not get the message d “YOU ARE DONE» turn off the heater and start from point 6.
Weak Wi-Fi signal
In case the phone does not communicate with the heater, the Wi-Fi signal may be too weak. Optional solution: Connect the heater to the phone in the same room where the router is located. Then move the heater back to the original . location C e hang the temperature in the app at the room level. Adjust the TARGET- TEMPERATURE up and down. If there is contact, the temperature change will appear on the floor.
If the signal is still too week a router repeater unit may be necessary
* How to put the heater in link-up modus
Switch the heater ON and then OFF. If the Wi-Fi symbol is pulsating the heater is in link-up modus. If the Wi-Fi symbol is continuously lit, the heater is connected to the . router
To set the heater electronics in link-up modus: Turn the thermostat wheel down to 5,0 °C, then ” is ” rES blinking on the floor. Turn the thermostat wheel further down until the text The steady light ” rES ” is steady. will be on for 10 sec. During the period of steady light you turn the ON/OFF switch to “OFF” and then back to “ON” again The Wi-Fi symbol will immediately. start pulsating for 3 minutes searching for router connection.
(If not , repeat the same connection is achieved procedure again.)
- The heater can be operated manually without using the app. The ON/OFF switch and thermostat wheel is located in the lower right corner of the heater.

- When replacing the router, the heaters have to be relinked.
- If the heater is moved to a new user it has to be deleted from the App.
- Factory setting is 22 C. 0
- The thermostat can be set at min. 5 C (Frost guard). 0
- When the thermostat is connected (power on) a small red dot will show on the floor.
- You may connect virtually unlimited an number of places, rooms and heaters to the App.
- Updating of the App is automatic. The app is updating the measured temperature every 5 minutes.
- If a heater should lose contact with the router it will continue to follow the program but it will not be possible to control the heater the App. from
- If the Wi-Fi symbol is continuously lit, the heater is connected to the app.
- BEHA heaters PV Wi-Fi and LV Wi-Fi are IP24 tested and approved for installation in bathrooms and utility rooms. They can be installed according to current regulations.
After power outage:
Without app: The heater returns to chosen temperature.
With app: The heater continues with selected program and temperature.
Cold draft/Open window function:
When opening a window and the temperature drops more than 5°C within 40 sec the cold draft function is activated. The heater changes between chosen temperature for 10 seconds, and 5 degrees for 30 seconds. The function is active for max. 15 minutes.
Wi-Fi symbol
The number of lines in the Wi-Fi light indicates the signal strength. In caseof poor signal, repeaters can be used to achieve a stronger signal. The repeater must have the same password as the router.
Multiple users:
One user account. One login. Common username and password. Everyone has full rights. Each user must create a weekly program. See page 20.
Which user’s program the heater is running on is shown by this user’sprogram button being green. Other users have gray program button at Room level
To activate program press the change button
, select program and save. your
Under YOUR PLACES: All rooms change.
At room level: Only room is changed.
CREATING MORE PLACES
If you have a cottage with Wi-Fi heaters you can also control it from the Beha Smarheater app. Provided there is a wireless network available. Tap on and give your cottage a name. Add room and connect heaters ADD PLACE the same way as in .
































