VIGO VG6043 Luca Adjustable Frameless Sliding Shower Door Installation Guide

Model No. VG6043
VIGO LUCA Adjustable Frameless Sliding Shower Door

PRODUCT FEATURES
- Built-in horizontal adjustability makes this shower door easy to install
- Includes all mounting hardware
- Constructed from ANSI Z97.1 and 16 CFR 1201-certified tempered glass for added safety
- RollerDisk™ Technology allows for up to 3/8″of adjustabilily as walls shift over time
- High-quality stainless steel and solid brass hardware resist corrosion and tarnishing
- All VIGO Shower Doors feature a quality assured Limited Lifetime Warranty
CERTIFICATE & WARRANTY
ANSI Z97.1 and 16 CFR 1201-certified glass
All VIGO Shower Door have a Limited Lifetime Warranty
![]()
NOTE
VIGO reserves the right to modify/update all hardware and glass components based on bettering the product for the end user’s experience. If you have any questions contact VIGO Tech Support at 1-866-591-7792.
Register Your Product
In order to activate your warranty, you must register your product.

Activate Now
SAFETY PRECAUTIONS
This Installation Guide uses the following symbols to indicate important information. Always observe the instructions indicated by these symbols.
WARNING
Instructions that, If Ignored, could result In death or serious personal Injury caused by Incorrect handling or Installation of the product. These Instructions must be observed for safe installation.
IMPORTANT
Maintenance and other important non-personal injury and non-material damage instructions or statements that should be observed.
IT IS HIGHLY ADVISED TO DRY FIT THE UNIT PRIOR TO ANY INSTALLATION.
V1GO Product Support (866) 591-7792 (Option 2) Monday- Friday 9.30am – 5 30pm EST
INSTRUCTIONS FOR SHOWER DOOR
Parts List

GLASS THICKNESS 3/8″
NOTE: INSTALLATION MUST BE DONE BY A QUALIFIED, LICENSED PROFESSIONAL.

Dimensions

- VIGO strongly recommends this installation be completed by a licensed professional. Installation of door unit requires at least two people.
- A, B & C dimensions were measured after shower enclosure was completely installed.
Required tools
- Square and/or Phillips #1 and #2 screwdriver.
- Flat head screwdriver.
- Electric drill; 3/32″, 1/8 11 or 3/16 11 drill bit (According to wall).
- Level.
- Measuring tape.
- Clear silicone caulking transparent.
- Utility knife.
- Hacksaw.
Important
- Handle fragile items with care to prevent personal injury or material damage.
- The glass panels are tempered and cannot be cut. Never attempt to do so .
- Always rest glass on a level surface.
Before starting
Compare items on your invoice with what you have received. Carefully review the Parts List on page 2. If any items are missing, please call VIGO Industries at 1-866-591-7792. Please check our website at www.vigoindustries.com for additional information or instructional videos.
Important
Fiberglass, acrylic or sheetrock construction might not be sufficiently strong enough to support the shower door enclosure. You should use the wood framing from behind the face edge of the stall to provide a secure mounting to the door . Apply a bead of silicone between the walls and base of the stall. For optimum performance, you should install the shower door perfectly level on a level surface. By not leveling the unit during construction the unit may leak causing possible water damage.
Left – Right Installation
The clear glass model has a reversible door and can be installed to the right or left side. The matte glass model is not reversible and the direction of installation is specific to the model number. The textured side of the matte glass unit should always be installed on the outside of the unit. (see configuration diagram below).
FIG . 1A (GLASS CONFIGURATION DIAGRAM)

Important
- Verify that the overall size of the shower door opening is appropriate for the shower enclosure .
- Due to individual site variations, exact guidelines for every situation cannot be supplied . The recommended framing and dimensional requirements are shown for a typical application and may vary depending on the site requirements.
- To prevent damage to the finish, you should protect the shower cabin bottom with a cardboard protector before beginning the installation.
- Ensure that there is sufficient structural support behind the shower wall to hold the weight of the shower door . If there is insufficient enough support, then reinforce the shower walls with wooden studs prior to shower door installation. [SEE FIG. 1]
Make sure to cut the rail on the door side only.

Installation Steps
NOTE: Prior to any installation, mark lines on the floor and wall for proper dry fit. Proper planning is imperative for proper installation. The measurements of 70 7/16″ or 62 3/8″ should just be used as a guide. Your actual dimensions may vary.
A. Installing the structural rail
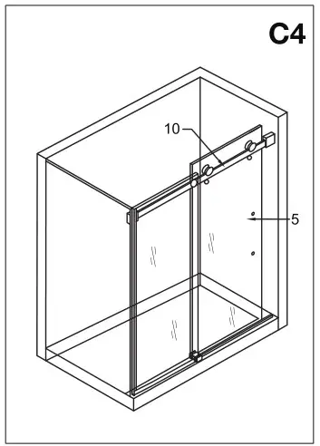
A1. Place the door panel (#5) into the shower first making sure to rest the glass in a manner that the glass or base/tub does not incur damage.

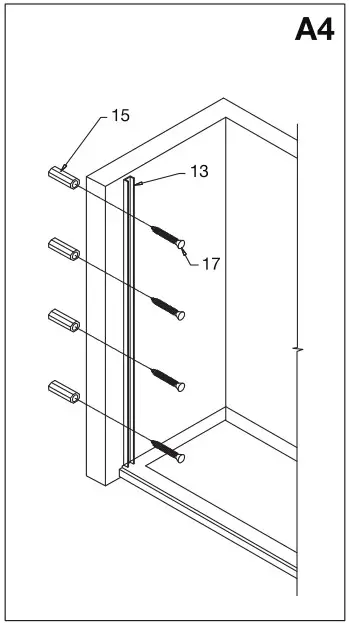
A2. Position the vertical rail against the wall, making sure the bottom rests on the floor or base or tub for tub model. Use a level to be sure the rail is straight. Mark holes on the wall for the 4 mounting screws.

A3. Remove the vertical rail and drill holes. Place plastic anchors (#15) inside them.

A4. Replace the vertical rail and screw it into the plastic anchors with the Philips screws (#17).

Preferred method of installation negates anchors and has the installation going right into the studs. There is a 5mm adjustment on the vertical rail (based off the depth of the track) for any minor adjustments.
A5. Place the fixed panel with the pre-installed vertical seal strip into the vertical rail. Lightly lift and slide the bottom door guide (#7) half way under the fixed panel making sure that the glass is level and plumb.

B. Installing the structural rail
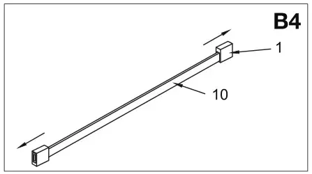
B1. Place the wall mount brackets (#1) on both ends of the structural rail and lightly lighten for dry fit purposes. Place rail into the cabin opening. If the rail is too long, cut it with a hacksaw to fit the opening.

Make sure to cut the rail on the door side only.
B2. Remove the fixed panel holder cover. Place the fixed panel holder through the hole in the fixed panel, replace the cover and tighten. Note: There is a 5mm horizontal adjustment in the structural If adjustments are needed, remove the fixed panel holder cover to expose the hollow hex screw. Using an alien key, make your adjustments.

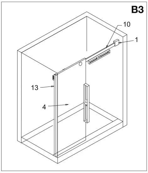
B3. Position the fixed panel (#4) and the structural rail assembly (#10) correctly using a level. Mark the location of the wall mount brackets on the wall.

Make sure to cut the rail on the door side only.
B4. Remove the rail from the dry fit and remove the wall mount brackets from the structural rail.

B5. Line the outside of the wall mount brackets with the markings on the wall. With the with the markings on the wall. With the brackets mark the wall at the center portion of the plate.

Note: There is a 5mm adjustment in the wall mount bracket plates. It is important to perform a dry fit prior to install. Once everything is level and plumb then you can begin your drilling.
B6. Untighten the plates from the wall mount brackets and center the plates to the wall markings. When installing, the center dimension of the wall mount bracket plate to the curb is •75 1/2″ for the shower door model and •55 3/4″ for the tub door model and the center dimension of the wall mount bracket plate to the center of the vertical rail is 7/8″.

Note: The measurements of 55 3/4″, 761/2″ and 7/8″ should just be used as a guide. Your actual dimension may vary.
B7. Install the plate by drilling holes at your markings and place the white plastic anchors (#16) inside them. Replace the plates and screw them into the plastic anchors with the hex screws (#19) .

Note: Preferred method of installation negates anchors and has the installation going right into the studs.
B8. Slide the bracket body in position on the structural rail. Align the plates to the rail and slide the bracket body over the plate. Lock the bracket body to the plate with the supplied alien key (note the screws should be at the top of the tail). Cover set screws with the supplied screw covers (#22) . Make sure the structural rail is level. If the rail is not level then loosen the bracket body, slide out of the way and adjust the plate as needed. There is a 5mm adjustment built in.

B9. Install the plate by drilling holes at your markings and place the white plastic anchors (#16) inside them. Replace the plates and screw them into the plastic anchors with the hex screws (#19) .
Note: Preferred method of installation negates anchors and has the installation going right into the studs.
C. Installing the door
C1. Remove the rollers (#3) from the box, note that these are fully assembled. Carefully unthread the cap with a small head alien key. You will see a big hex screw, this is referred to as the roller height adjustment screw.

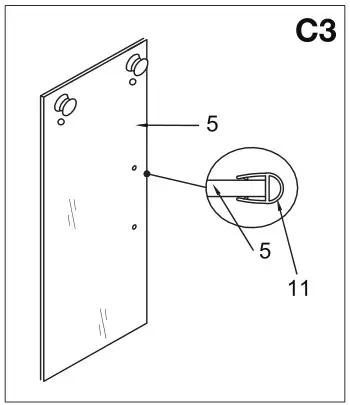
C2. Use the provided alien key to unscrew the adjustment screw and dismantle the roller. Place the screw through door panel top holes and attach the two top rollers onto the door panel (#5).

C3. Attach side seal strip (#11) to handle side of the door. Start at the bottom of the glass and work your way up, using the heel of your hand to firmly press the seal strip onto the glass.

C4. Place the two top rollers and the door panel (#5) assembly onto the structural rail (#10) .
Note that the rollers have a built-in mechanism that will provide adjustment for walls that are not 100% perpendicular to the floor. If necessary, loosen the adjustment screw and rotate the individual roller. This will raise or lower the height that the roller sits on the structural rail. Please refer to pages 20-21 for Roller Adjustments to Accommodate Out of Square Openings Once the rollers are properly adjusted and the door sits flush against the wall in the closed position, the adjustment will be complete. Fully tighten the adjustment screws and re-install the roller caps.

C5. Verify that the bottom of the door rests in the back notch of the bottom door guide (#7).

C6 . Screw the two bottom roller guides (#20) to the door panel (#5) using the alien key supplied.

D. Installing the threshold
D1. Place the threshold (#8) into the bottom door guide (#7). Note that the end of the threshold should go halfway inside the bottom door guide. If the threshold is too long, cut it with a hacksaw until it fits the opening.

D2 . Remove the threshold. Apply silicone to the underside of the threshold. Place the threshold back into its shower base location. Align the threshold and press firmly down. Apply silicone to the threshold around the inside and outside of the shower base. Remove any excess silicone from the threshold.

E. Installing the handle
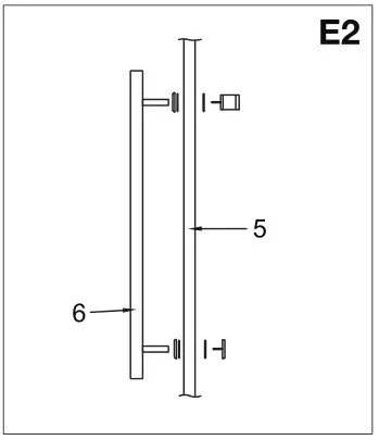
E1 . Unscrew the handle holders from the handle assembly (#6) .

E2 . Place the handle to the position on the door . Place plastic washers (supplied) on each side of the door.

E3 . Tighten the handle nuts from inside the shower.

Note: Preferred method of installation negates anchors and has the installation going right into the studs.
F. Installing the water seal strip
F1 . Attach the seal strip (#12) to the fixed panel. Start at the bottom and work your way up, using the heel of your hand to firmly press the seal strip onto the glass. Attach the door panel seal strip (#21) to the door glass with the flange pointing away from the shower.

F2 . Trim the flange on the seal strip so that there is enough clearance for the door to roll without the seal strip hitting against the rollers.

G. Applying the silicone
G1 . Apply clear silicone caulking along the wall and floor of the shower enclosure interior. Apply clear silicone caulking along the fixed panel and threshold of the shower enclosure interior.
Roller adjustments to accommodate out of square openings
NOTE
There is a 3/8″ adjustment in the roller to use in the case that your walls are not plumb and level. Using an alien key, you will be able to adjust the roller to accommodate for the variance.
- Loosen the hex screw to allow for movement. Then place the alien key in the small hex hole as shown and roll it to the right or left to make the adjustment. [See Fig. 1]
- Fig. 1A displays the 3 different positions.
- If your walls are plumb and level, follow the configuration in Fig. 2.
- If your wall is off on the top, the rollers should be adjusted as shown in Fig. 3.
- If your wall is off on the bottom, the rollers should be adjusted as shown in Fig. 4.

SCAN TO WATCH THE ROLLERDISK™ TECHNOLOGY VIDEO


NOTE: These adjustments are approximate. You may need to adjust the direction of the small hex hole to meet your needs.
Roller adjustments to accommodate out of square openings






V1GO Product Support (866) 591-7792 (Option 2) Monday- Friday 9.30am – 5 30pm EST















