AUSTRALIAN MONITOR XRS10 Loudspeaker

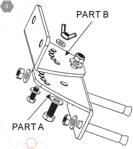
XRS10 INSTALLATION








XRS12 INSTALLATION









AUSTRALIAN MONITOR XRS10 Loudspeaker


















Download manual
Here you can download full pdf version of manual, it may contain additional safety instructions, warranty information, FCC rules, etc.