RUN BISON HT-G2D3D-6C-927-1-51 Mount LED Disk Downlight

PACKAGE CONTENT

| PARTS | QTY | |
| A | Screws | 2 |
| C | Mounting bracket | |
| E | Disk lamp | 1 |
| F | Wire Nut | 3 |
| PARTS | QTY | |
| B | E26 Socket | |
| C | Mounting bracket | |
| D | Spring Bracket | 2 |
| E | Disk lamp | |
| G | Screws | 2 |
| H | connector | 1 |
SAFETY INSTRUCTION
Please read and understand all instructions before operating or install the product. Failure to do so may lead to electric shock , fired or other injuries that could be be hazardous or even fatal.
- Shut off the electricity to the wires that you are working on.
- Do not open,no user serviceable parts inside . Any changes or modifcations and applications not expressly approved by the manufacturer could void the user’s authority to operate the equipment and warranty.
WARNING
Risk of fire or electric shock. LED retrofit kit installation requires knowledge of luminaires electrical systems . Do not attempt installation if not qualifed. Contact a qualifed electrician
- Install this kit only in the luminaires that have the construction features and dimensions shown in the photographs and / or drawings.
- Do not exceed the input rating of theluminaire.
- Do not make or alter any open holes in an enclosure of wiring or electrical components during kit installation.
- To prevent wiring damage or abrasion, do not expose wiring to edges of sheet metal or other sharp objects.
- This device is not intended for use with emergency exits
- This luminaire has not been modified to operate LED Lamp . Do not attempt to install or operate incandescent lamps or CFL in this luminaire.
- This retrofit kit is accepted as a component of a luminaire where the suitability of the combination shall be determined by authorities having jurisdiction.
CAUTION
Connect fixture to a 120v / 60HZ power source . Any other connection voids the warranty. This device complies with Part 15 of the FCC rules. Operation is subject to the following two conditions
- this device may not cause harmful interference
- this device must accept any interference received ,including interference that may cause undesired operation.
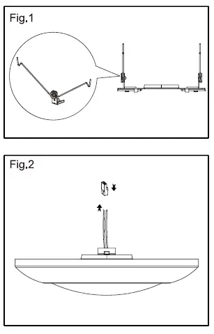
SURFACE MOUNT INSTALLATION
Surface Monuting


- Use the provided screws (A) to install the mounting bracket ( C) to the junction box.
- Use the provided wire nuts(F) to connect the light(E) and electrical wire.
- Use the toggle switch to select your desired lamp color temperature-soft White ( 2700K) , Warm White ( 3000K ) , Bright White ( 3500K ) , Cool White( 4000K ) or Daylight ( 5000K ). Push all the wires and cables into the J-box. Snap the disk light into the mounting brake! (C)firmly.
- Make sure the disk light is secured to complete the installation.
RECCESSED HOUSING INSTALLATION
Recessed Mount


- Use the provided screw(G) to mount the spring bracket(D) to mounting bracket(C).
- Plug the wire into the connector(H).
- Connect the two parts of connector (B&H)together.
- Mount the mounting bracket(C) on the disk light.Use the toggle switch to select your desired lamp color temperature-soft White ( 2700K ) , Warm White ( 3000K ) , Bright White ( 3500K ) , Cool White( 4000K ) or Daylight ( 5000K)
- Thread the socket adapter (B) Into the socket

- Push all the wires into the housing. Snap the disk light into the housing firmly.
- Make sure the disk light is secured to complete the installation.
DIMMER COMPATIBILITY LIST
recommended dimmers
| Lutron | Leviton | EATON |
| DVCL-153PR | DVCL-153PR | SAL06 P- LA-K |
| CTCL-153PDH-WH | CTCL-153PDH-WH | |
| TGCL-153PH-WH P-PKGIW=WH-R | TGCL-153PH-WH P-PKGIW=WH-R |

















