Maxax F70 65 Inch Gold Tray Table Floor Lamp With Glass Shade

Assembly & Installation Instructions
Dear Customer:
Thank you for your business!
If you have any questions or problems, please send us an email to [email protected] or call us at 870-949-8466. We will do everything possible to make you completely satisfied with your purchase. Product reviews help future customers to make their purchase decision. You are encouraged to share your experience by leaving a short product review on the platform where you bought this product.
Thank you!
Zgear Team
Warning: If any special control devices are used with this fixture, follow the instructions carefully to assure full compliance with N.E.C. requirements. If there are any questions, contact a qualified electrical contractor.
Warning: California Residents Proposition 65 This product contains lead, a chemical known to the state of California to cause cancer and birth defects or other reproductive harm. Do not place the product in your mouth. Wash your hands after handling this product.
Caution: It is highly recommended to get an electrician to install this light. Please make sure to turn the electricity off at the main circuit breaker before beginning installation. All glass is fragile. Use care when handling glass component(s) and/or lamp(s)
WIRE CONNECTION DIAGRAM
Wires meeting safety standards are required to connect the electrical circuit
CAUTION: Risk of fire
Please read all instructions carefully. Before you proceed to install, make sure that the power supply is turned off and remains off until installation is completed.
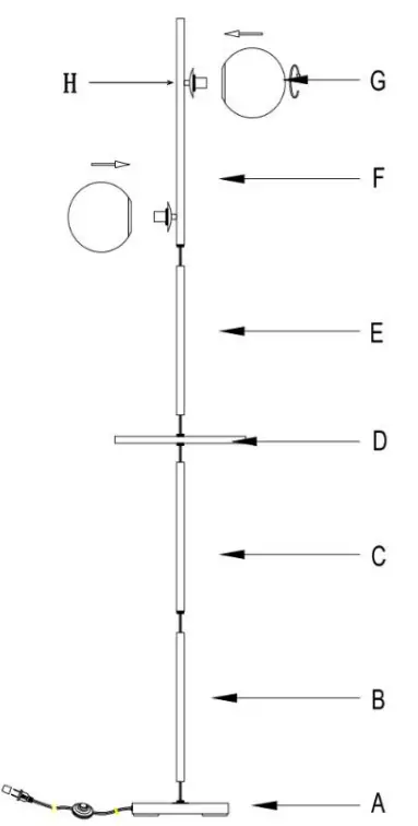
PARTS INCLUDED


- Unpack all parts from cartons carefully.
- Carefully pull-out excess power cord from the lamp base while assembling to prevent the cord from becoming twisted.
- Tighten the tube(B)into the base(A)until tight
- Tighten the tube(C)into the tube(B)until tight.
- Tighten the table plate(D)into the tube(C) until tight.
- Tighten the tube(E)into the table plate(D) until tight.
- Tighten the tube(F)into the tube(E) until tight.
- Tighten the shades(G)into the lamp sockets(H) until tight

















