T26-CL 22.75-Inch Clear Glass Table Lamp Set
Instruction Manual
WIRE CONNECTION DIAGRAM
Wires meeting safety standards are required to connect the electrical circuit
CAUTION: Risk of fire
Please read all instructions carefully. Before you proceed to install, make sure that the power supply is turned off and remains off until installation is completed.
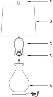
PARTS INCLUDED
| Code | Part description | QTY |
| A | Body | 1 |
| B | Lamp socket | 1 |
| C | Harp | 1 |
| D | Shade | 1 |
| E | Finial | 1 |

- Unpack all parts from cartons carefully.
- Carefully pull-out excess power cord from the lamp base while assembling to prevent the cord from becoming twisted.
- Tighten the lamp socket(B)into the body (A)until tight.
- Place the harp(C)onto the lamp socket(B).
- Place the shade(D)onto the harp(C
- Tighten the finial(E)into th
Assembly & Installation Instructions
Dear Customer:
Thank you for your business!
If you have any questions or problems, please send us an email at support@4modernhomes4asir or call us at 870-949-8466. We will dofilPirng possible to make you comperatisfied with your purchase. Product reviews help future customers to make their purchase decision. You are encouraged to share your experience by leaving a short product review on the platform where bought this product.
Thank you!
Gear Team
Warning: If any special control devices are used with this fixture, follow the instructions carefully to assure full compliance with N.E.C. requirements. If there are any questions, contact a qualified electrical contractor. Warning: California Residents Proposition 65 This product contains lead, a chemical known to the state of California to cause cancer and birth defects or other reproductive harm. Do not place the product in your mouth. Wash your hands after handling this product. Caution: It is highly recommended to get an electrician to install this light. Please make sure to turn the electricity off at the main circuit breaker before beginning installation. All glass is fragile. Use care when handling glass component(s) and/or lamp(s)
















