RoadFocus PLUS
RPN/RPS/RPM/RPL
Installation Instructions
IP-54
RPN RoadFocus PLUS LED Cobra Head
READ THESE INSTRUCTIONS CAREFULLY BEFORE INSTALLING THIS FIXTURE
CAUTION: THE ELECTRICAL POWER MUST BE DISCONNECTED BEFORE OPENING THE FIXTURE. FAILURE TO FOLLOW THE INSTALLATION DOCUMENTATION OR OPERATING THIS PRODUCT OTHERWISE THAN FOR ITS INTENDED USE VOIDS THE WARRANTY.
- Pull the latch to release the access door.
- Install the bird guard for ø1.9” or ø1.66” OD tenons before sliding the fixture onto the tenon. See the important note below.
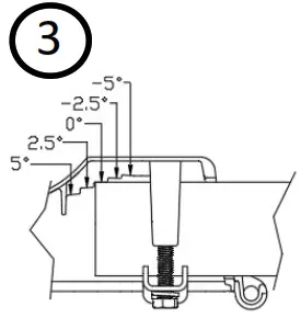
- Disconnect power and slide the fixture onto the tenon. See table for approximate penetration. The horizontal angle can be adjusted in 2.5° steps.
- Evenly tighten all 3/8-16 bolts of the bracket. IMPORTANT: Tighten the bolts at 135 lbs.in (11.25 lbs.ft). The number of bolts may vary depending on fixture size.
- Connect the service leads to the terminal block. Tighten the set screws between 20 and 25 lbs. in.
- Set FAWS to position 10 if using other dimming or controls. Only available on RPS/RPM/RPL series.


Angle adjustment


| Tenon penetration | |||
| Angle: | RPN: | RPS-RPM: | RPL: |
| -5° | 2-1/2″ | 4″ | 5-1/2″ |
| -2.5° | 3″ | 4-1/2″ | 5-7/8″ |
| 0° | 3-1/4″ | 4-7/8″ | 6-1/4″ |
| 2.5° | 3-5/8″ | 5″ | 6-1/2″ |
| 5° | 4″ | 5-1/2″ | 7″ |
4. 135 lbs.in (11.25 lbs.ft)
The number of bolts may vary depending on fixture size.
To change the orientation of the socket, just pull up the receptacle and rotate it directly
3 POLES TERMINAL BLOCK
2-14 AWG
FAWS (option)
Only available on RPS/RPM/RPL series.
IMPORTANT:
Install the bird guard for ø1.9″ or ø1.66“ OD tenons.
For ø1.9″ tenon, unfold the bird guard as shown and break away the smaller diameter lid at the folding line
FAILURE TO DO SO VOIDS THE WARRANTY

FCC Part 15 Class A Products FCC Markings
NOTE: This equipment has been tested and found to comply with the limits for a Class A digital device, pursuant to part 15 of the FCC Rules. These limits are designed to provide reasonable protection against harmful interference when the equipment is operated in a commercial environment. This equipment generates, uses, and can radiate radio frequency energy and, if not installed and used in accordance with the instruction manual, may cause harmful interference to radio communications. Operation of this equipment in a residential area is likely to cause harmful interference in which case the user will be required to correct the interference at his own expense.
CAN ICES-005 (A) / NMB-005 (A)
www.lumec.com
442295429871



















