KARCHER BR 30-15 C Carpet Extractor

Introduction
Please read and comply with these original instructions prior to the initial operation of your appliance and store them for later use or subsequent owners
Environmental protection
The packaging material can be recycled. Please do not place the packaging into the ordinary refuse for disposal, but arrange for the proper recycling.
Old appliances contain valuable materials that can be recycled. Please arrange for the proper recycling of old appliances. Please dispose your old appliances using appropriate collection systems.
Notes about the ingredients (REACH) You will find current information about the ingredients at: www.kaercher.com/REACH
Safety Instructions
Before initial start-up it is definitely necessary to read the safety information no. 5.956-251.0!
Danger or hazard levels
DANGER
Immediate danger that can cause severe injury or even death.
WARNING
Possible hazardous situation that could lead to severe injury or even death.
CAUTION
Pointer to a possibly dangerous situation, which can lead to minor injuries.
ATTENTION
Pointer to a possibly dangerous situation, which can lead to property damage.
Proper use
This appliance is intended for commercial use as a wet cleaning appliance for carpets as depicted in these operating instructions as well as in the descriptions and safety notes in the enclosed brochure “Safety indications for brush cleaning appliances and spray extraction appliances”.
Function
The appliance sprays cleaning solution from the fresh water tank onto the carpet to be cleaned, works the detergent into the carpet with a brush roller and vacuums the dirt and used detergent into the waste water reservoir. If required, an accessors (such as a hand nozzle) can be attached..
Control elements
- Push handle
- Key detergent solution
- Dome
- waste water tank
- Dome lock.
- Fresh water tank
- Vacuum bar
- Cleaning head
- Lock of pushing handle
- Cleaning head screw
- Detergent hose coupling
- Drainage hose for fresh water
- Suction hose
- Operating field

Operating field
- Fuse for brush drive
- Fuse for suction turbine
- Power switch
A Normal operation
B OFF – Appliance is switched off.
C Operation with hand nozzle
Start up
Swivel the dome lock to the front.
Lift up the waste water tank and put it aside.
Fill the fresh water tank with hot water (max. 60°C, capacity 15 liters).
Pour in detergent.
- Carpet cleaning RM 764 liquid
- Defaming RM 761
If you require further information please request the product information sheet and the DIN safety data sheet for the respective cleaning agent.
WARNING
Health risk, risk of damage. Observe all indications on the detergent used. For considerate treatment of the environment use detergent economically.
Insert the waste water tank back onto the appliance.
Replace the lid of the waste water tank and align it.
Swivel the dome lock to the rear.
Operation
Vacuum loose dirt with a vacuum cleaner prior to cleaning.
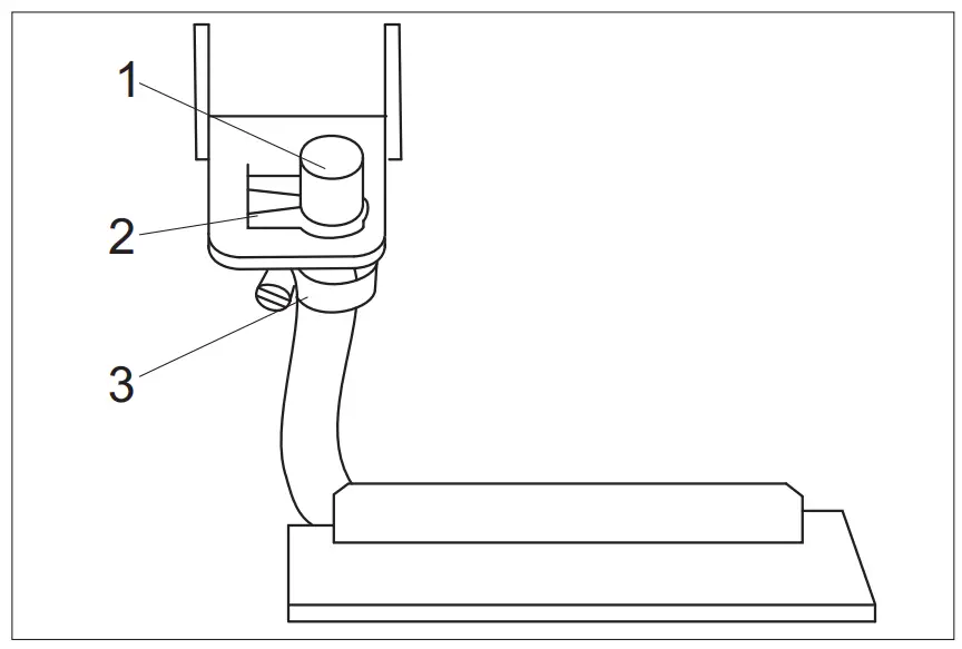
Swivel the pushing handle lock to the outside, set the desired pushing handle height and close the lock.
Insert the mains plug into the socket.
ATTENTION
Risk of damage. Check the object to be cleaned prior to using the appliance in an inconspicuous place for colour fastness and water resistance.
DANGER
Risk of electric shock.
Do not let the mains cable come in contact with the rotating brushes or rotating pads.
Set the appliance switch to normal operation – start the suction turbine and the brush drive.
Use the detergent solution key on the push bow to spray on detergent solution.
Run across the surface to be cleaned in overlapping paths. Pull the appliance backwards during this procedure (do not push).
Emptying the waste Water tank
If the waste water tank is filled to 3/4 of its capacity, switch the appliance switch to “OFF”.
Swivel the dome lock to the front.
Lift the waste water tank off the appliance and empty it.
WARNING
Please observe the local provisions regarding the wastewater treatment.
NOTICE
If the waste water tank is full, dirty water will flow back onto the carpet, as soon as the appliance is switched off.
Operation with accessory tools
Only use accessories and spare parts which have been approved by the manufacturer. The exclusive use of original accessories and original spare parts ensures that the appliance can be operated safely and trouble free.
Connect the provided adapter to the detergent hose of the accessory tools.
Pull the suction hose out of the dome.
Insert the suction hose of the accessory tool into the dome instead of the suction hose.
Connect the coupling of the detergent hose on the appliance to the detergent hose of the accessory tool.
Set the appliance switch to operation with manual nozzle – the suction turbine will start.
Use the lever on the accessory tool to spray on detergent solution.
Important
When unplugging the accessory tools, the adapter must be removed from the appliance, so that the water output on the appliance is closed.
Recommendation: Leave the adapter on the hose of the accessory tool.
Cleaning tips
- Highly soiled spots should be presoaked and the detergent solution should soak 5 to 10 minutes.
- Always work from the light to the shade (from the window to the door).
- Always work from the cleaned to the uncleaned surface.
- The more sensitive the surface (oriental rugs, berbers, upholstery material) the lower the cleaning solution concentration should be.
- Rugs with jute backing can shrink if too much water is used and can bleed colors.
- Brush high-fiber rugs in the direction of the weave after cleaning (using a fiber brush or a scrubber).
- Do not step on cleaned surfaces until they have dried and do not place furniture on them to avoid pressure spots or rust stains.
- When cleaning previously shampooed carpets, foam will be generated in the dirt water reservoir. In such a case add Foam ex RM 761 to the dirt water reservoir.
Shutting down
Set the appliance switch to “OFF”.
Empty the dirt water reservoir.
Pull the drain hose for the fresh water off the hose nipple an drain the detergent solution.
Cleaning the device
Fill the fresh water tank with approx. 2 liters of hot water (max. 60°C) and flush the spray system by pressing the detergent solution key.
Disconnect the mains plug from the socket.
Pull the drain hose for the fresh water off the hose nipple an drain the detergent solution.
Clean the sieves on the fresh water tank and inside the dome.
Rinse the waste water tank with clear water.
Tilt the appliance backwards and clean the cleaning head and the vacuum bar..
Frost protection
In case of danger of frost:
Empty the fresh and dirt water reservoirs.
Store the appliance in a frost-protected room.
Transport
CAUTION
Risk of injury and damage! Observe the weight of the appliance when you transport it.
Use the pushing handle to push the appliance.
When transporting in vehicles, secure the appliance according to the guidelines from slipping and tipping over.
Storage
CAUTION
Risk of injury and damage! Note the weight of the appliance in case of storage. This appliance must only be stored in interior rooms.
Care And Maintenance
DANGER
Danger of injury by electric shock. First pull out the plug from the mains before carrying out any tasks on the machine
Maintenance intervals
Daily before use
Check high power cable, extension cables and hoses for damage every time before use.
Check spray pattern of the nozzle.
CAUTION
Risk of damage. Never use a wire or a needle to clear plugged nozzles, but rinse them with hot water (see “Troubleshooting”).
Every 25 operating hours
Check hoses and seals to see if there are damages. Have defective parts replaced by Customer Service.
Check the brushes for wear, replace if required. The brushes are considered worn, if the bristles have the same length as the yellow indicator bristles.
Maintenance Works
Replace the nozzle
Empty the fresh water tank and waste water tank.
Tilt the appliance backward and store it on the pushing handle.
Unscrew and remove the left and right screws on the cleaning head.
Remove the cleaning head.
- Nozzle
- Fastening clip
- Hose clip

Pull the fastener clip off to the side.
Pull the nozzle backwards out of the support plate.
Open the hose clip and pull the nozzle off the hose.
Insert the new nozzle into the hose.
Assemble it back in the reverse sequence.
NOTICE
When inserting the nozzle into the support plate, watch for the correct alignment of the nozzle.
Exchanging the brush
Empty the fresh water tank and waste water tank.
Tilt the appliance backward and store it on the pushing handle.
Unscrew and remove the left and right screws on the cleaning head.
Remove the cleaning head.
- Brush roller
- Brush storage screws
- Toothed belt cover
- Motor attachment nuts

Loosen the screw on the toothed belt cover screw and remove the cover.
Unscrew the nuts on the motor attachment and slide the motor to the brush.
Remove the toothed belt.
Loosen the threaded pin of the toothed gear pulley on the brush and remove the toothed gear belt.
Unscrew the screws of the brush bearings and pull the bearings from the brush shaft.
Lift the drive end of the brush roller out of the housing and pull the opposite side out of the bearing.
Install the new brush in reverse order.
Troubleshooting
DANGER
Danger of injury by electric shock. First pull out the plug from the mains before carrying out any tasks on the machine. Get the electrical components checked and repaired only by authorised customer service persons. Contact an authorised customer service person in case of problems not mentioned in this chapter or if you are in doubt or when you have been explicitly asked to do so.
Appliance is not working
Plug in the mains plug.
Check facility fuse.
Suction turbine does not run
Reset the suction turbine fuse on the control panel.
Insufficient vacuum performance
Clean the vacuum bar.
Check, clean or replace the seal on the dome.
Empty the waste water tank.
Insert the suction hose properly on the dome.
Check the suction hose for damages.
No water exiting from nozzle
Set the appliance switch to normal operation.
Fill the fresh water tank with hot water (max. 60°C) and rinse the nozzle. Replace the nozzle as applicable (see “Maintenance task/replace nozzle”).
Fill up fresh water reservoir.
Clean the sieve in the fresh water reservoir.
Brush does not turn
Set the appliance switch to normal operation.
Reset the brush drive fuse on the control panel.
Check the drive belt, replace if required.
Carpet gets too wet
Replace the worn nozzle with a new one (see “Maintenance task/replace nozzle”).
Technical specifications
| Power | |
| Nominal voltage | V/Hz 220…240/ 1~50/60 |
| Type of protection | IPX4 |
| Average power consumption | W 1300 |
| Suction engine output | W 1130 |
| Brush engine output | W 76 |
| Cleaning brushes | |
| Working width | mm 260 |
| Brush diameter | mm 65 |
| Brush speed | 1/min 1650 |
| Detergent pump pressure | MPa 0,4 |
| Detergent pump flow rate | I/min 1,4 |
| Max. water temperature | °C 60 |
| Vacuuming | |
| Cleaning power, air quantity | l/s 46 |
| Cleaning power, negative pressure | kPa 30,2 |
| Dimensions and weights | |
| Theoretical surface cleaning performance | m²/h 100 |
| Fresh/waste water tank volume | l 15/17 |
| Length | mm 920 |
| Width | mm 360 |
| Height | mm 750 |
| Typical operating weight | kg 52 |
| Noise emission | |
| Sound pressure level (EN 60704-1) | dB(A) 77 |
| Machine vibrations | |
| Vibration total value (ISO 5349) | m/s² 1,7 |
EU Declaration of Conformity
We hereby declare that the machine described below complies with the relevant basic safety and health requirements of the EU Directives, both in its basic design and construction as well as in the version put into circulation by us. This declaration shall cease to be valid if the machine is modified without our prior approval.
Product: Spray extraction device
Type: 1.008-xxx
Relevant EU Directives
2006/42/EG (+2009/127/EG)
2014/30/EU
2011/65/EU
Applied harmonized standards
EN 60335–1
EN 60335–2–68
EN 55014–1: 2017 + A11: 2020
EN 55014–2: 1977 + A1: 2001 + A2: 2008
EN 61000–3–2: 2014
EN 61000–3–3: 2013
EN 62233: 2008
EN IEC 63000: 2018
Applied national standards
The signatories act on behalf of and with of the authority of the company management.
- Chairman of the Board of Management

- Director Regulatory Affairs & Certification

Documentation supervisor: S. Reiser
Alfred Kärcher SE & Co. KG
Alfred-Kärcher-Straße 28-40
71364 Winnenden (Germany)
Tel.: +49 7195 14-0
Fax: +49 7195 14-2212
Declaration of Conformity
We hereby declare that the product described below complies with the relevant provisions of the following UK Regulations, both in its basic design and construction as well as in the version put into circulation by us. This declaration shall cease to be valid if the product is modified without our prior approval.
Product: Spray extraction device
Type: 1.008-xxx
Currently applicable UK Regulations
S.I. 2008/1597 (as amended)
S.I. 2016/1091 (as amended)
S.I. 2012/3032 (as amended)
Designated standards used
EN 60335–1
EN 60335–2–68
EN 55014–1: 2017 + A11: 2020
EN 55014–2: 1977 + A1: 2001 + A2: 2008
EN 61000–3–2: 2014
EN 61000–3–3: 2013
EN 62233: 2008
EN IEC 63000: 2018
National standards used
The signatories act on behalf of and with of the authority of the company management.
- Chairman of the Board of Management

- Director Regulatory Affairs & Certification

Documentation supervisor: S. Reiser
Alfred Kärcher SE & Co. KG
Alfred-Kärcher-Straße 28-40
71364 Winnenden (Germany)
Tel.: +49 7195 14-0
Fax: +49 7195 14-2212
Accessories and Spare Parts
Only use original accessories and spare parts, they ensure the safe and trouble-free operation of the device.
For information about accessories and spare parts, please visit www.kaercher.com.
Warranty
The warranty terms published by the relevant sales company are applicable in each country. We will repair potential failures of your appliance within the warranty period free of charge, provided that such failure is caused by faulty material or defects in manufacturing. In the event of a warranty claim please contact your dealer or the nearest authorized Customer Service center. Please submit the proof of purchase.
THANK YOU! MERCI! DANKE GRACIAS!
Register your product and benefit from many advantages.
![]()
Rate your product and tell us your opinion.
CUSTOMER SUPPORT
www.kaercher.com/dealersearch
Alfred Karcher SE & Co .. KCi
Alfred-Karcher-Sir. 28-40
71364 Winnenden (Germany)
Tel.: +49 7195 14-0
Fax: +49 7195 14-2212


























