
BRS 43/500 C



59785300 12/21

Register your product
www.kaercher.com/welcome
Please read and comply with these original instructions prior to the initial operation of your appliance and store them for later use or subsequent owners.
Safety instructions
Before using the appliance for the first time, read and observe these operating instructions and the accompanying brochure: Safety information for brush cleaning units, 5.956-251.0.
Symbols in the operating instructions
DANGER
Immediate danger that can cause severe injury or even death.
WARNING
Possible hazardous situation that could lead to severe injury or even death.
CAUTION
Possible hazardous situation that could lead to mild injury to persons or damage to property.
Function
The carpet detergent is applied with the spray system. Two opposite brush rollers work the detergent into the carpet. The carpet will dry within a relatively short time and can be walked on. After the drying process, the dirt picked up by the carpet detergent is vacuumed off with a brush vacuum cleaner. A working width of 430 mm and a capacity of 7.5 l of the detergent tank allow an effective cleaning.
The power supply operation allows a high capacity without a restriction of the working time.
Note
The appliance can be equipped with various accessories depending on the cleaning task.
Please request our catalogue or visit us on the Internet at www.kaercher.com.
Proper use
Use this appliance only as directed in these operating instructions.
- This carpet cleaning appliance is intended to clean loop carpets, velvet floors and needle fleece inside of buildings.
- The application temperature ranges from +5°C to +40°C.
- The appliance may only be equipped with original accessories and spare parts.
- The appliance has been developed for cleaning floors inside rooms and roofed areas.
- This device is exclusively meant for industrial and commercial use.
Environmental protection
The packaging materials are recyclable. Please do not throw packaging in the domestic waste but pass it on for recycling.
Old units contain valuable recyclable materials. Batteries, oil and similar substances may not be released into the environment. Therefore please dispose of old units through suitable collection systems.
Notes about the ingredients (REACH)
You will find current information about the ingredients at: www.kaercher.com/REACH
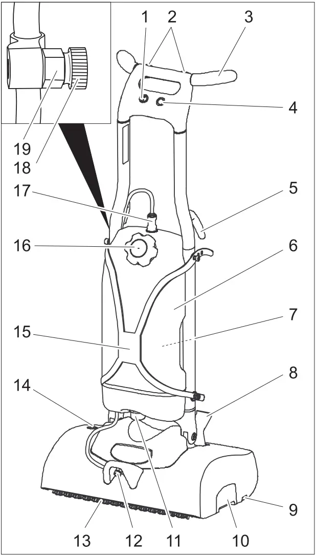
Control elements

- Power switch
- Key detergent solution
- Push handle
- Brush drive button
- Cable clamp
- Detergent Tank
- Spray bottle holder
- Lock of pushing handle
- Button for brush change
- Waste container
- Sieve
- Detergent solution outlet
- Brushing rollers
- Overload fuse for brush drive
- Detergent tank support
- Detergent tank lid
- Detergent hose coupling
- Nozzle, made available in delivery condition
- Nozzle holder
During first start-up
Figure 1, see cover page
Remove the appliance and the push handle from the packaging and assemble as shown in the illustration.
Figure 2, see cover page
Connect a cable between the appliance and the push handle.
Slide the connector into the push handle.
Figure 3, see cover page
When inserting the push handle into the appliance, adjust the cable through the slot in the push handle so that it is not pinched.
Figure 4, see cover page
Slide the push handle all the way onto the appliance.
Thread in the 4 included screws and tighten them.
Fill water into the detergent tank.
Insert the mains plug into the socket.
Set the appliance switch to “I”.
Press and hold the key for the detergent solution and flush the water system.
Set the appliance switch to “0”.
Disconnect the main plug from the socket.
Before Startup
Installing the Brushes
Place the slider vertically and arrest.
Tilt the appliance backward and store it on the pushing handle.
Place the brush roller onto the driver and lock into place on the opposite side.
Operation
DANGER
Danger of injury by electric shock.
Check the mains cables of the machine each time before using the machine to see that it is not damaged. Never operate a machine with damaged cables. Get the damaged cables replaced by an electrician. Risk of injury on account of electric shock caused by a damaged mains cable. Do not let the mains cable come in contact with the rotating brushes or pads.
NOTICE
To put the brush drive out of operation immediately, move the appliance switch to “0”.
Drive the machine
Place the slider vertically and arrest.
Tilt the appliance toward the back and drive it to the place of use on its transport wheels.
Filling in detergents
CAUTION
Risk of damage. Only use the recommended detergents. With respect to different detergents the operator bears the increased risk regarding the operational safety, accident risk and reduced product life of the appliance. Only use detergents that are free from solvents, hydrochloric acid and hydrofluoric acid.
Follow the safety instructions for using detergents.
Do not process any inflammable, explosive, corrosive or poisonous consumables.
NOTICE
Observe the dosing notes.
Recommended detergents:
| Application | Detergent |
| Intermediate carpet cleaning | RM 768 iCapsol |
Dosage 6%:
| Fill quantity water [litres] | Fill quantity of detergent – 768 [ml] |
| 1 | 60 |
| 2 | 120 |
| 3 | 180 |
| 4 | 240 |
| 5 | 300 |
| 6 | 360 |
| 7 | 420 |
Removing the detergent tank
To fill the detergent tank at a sink, the detergent tank can be removed from the appliance as follows:
Squeeze the detergent hose and pull it off the tank.
Unhook both upper ends of the detergent tank support from the appliance.
Lift off the detergent tank.
Fill detergent tank
Open the lid of the detergent tank.
Fill the detergent tank with water and leave sufficient room for the detergent.
Dose the detergent according to the provided product information.
Close the lid of the detergent tank.
Reattach the detergent tank to the appliance if necessary.
Cleaning
Vacuum loose dirt with a vacuum cleaner prior to cleaning.
Remove the nozzle from the nozzle holder and screw it into the detergent solution outlet.
Insert the mains plug into the socket.
Activate the lock of the slider and turn it to the back with your foot.
Set the appliance switch to “I”.
Press the brush drive button – the brushes will begin to rotate.
Press the detergent button – the detergent will be applied as long as the button is pressed.
Move the appliance over the surface to be processed by the slider.
CAUTION
Risk of damage to the floor covering. Do not operate the appliance on the spot.
NOTICE
Apply the detergent while in forward motion. After that, work the detergent into the carpet in a crisscross manner.
Finish operation
Place the slider vertically and arrest.
Place the appliance on a containment (preserves the brushes).
Carry out maintenance jobs “after work” (see section “Maintenance and Care”).
Set the appliance switch to “0”.
Disconnect the main plug from the socket.
Wrap the mains connection cable around the hooks on the slider.
Store the appliance in a dry room.
Transport
CAUTION
Risk of injury and damage! Observe the weight of the appliance when you transport it.
When transporting in vehicles, secure the appliance according to the guidelines from slipping and tipping over.
Storage
CAUTION
Risk of injury and damage! Note the weight of the appliance in case of storage.
This appliance must only be stored in interior rooms.
Care and maintenance
DANGER
Risk of injury!
Pull the plug from the mains before carrying out any tasks on the appliance.
CAUTION
Risk of damage to the appliance on account of water leakage. Remove the detergent tank before doing any work on the appliance.
Maintenance schedule
After the work
CAUTION
Risk of damage. Do not wash down the appliance with water and do not use aggressive detergents.
Check electrical cable and plug for damages. Get defective parts replaced by Customer Service.
Empty the detergent tank and rinse with hot water (max. 50 °C).
Fill a small amount of hot water into the detergent tank.
Reattach the detergent tank to the appliance.
Flush the nozzle by pressing the detergent button.
Remove nozzle, rinse under running water and insert in the nozzle holder on the push handle.
Empty detergent tank.
Cleaning the sieve
Remove the brushes and rinse with warm water.
Clean the brush tunnel.
Reinstall the brushes and exchange their positions to preserve them.
Detach the coupling in the detergent hose to prevent undesired water leaks on the nozzle.
Remove the waste container and clean it.
Clean the outside of the appliance with a damp cloth which has been soaked in mild detergent.
Check the brushes for wear, replace if required.
The brushes are considered worn, if the bristles have the same length as the yellow indicator bristles.
Weekly
Check appliance for damage, have damages repaired by customer service.
Check spray pattern of the nozzle. Clean or replace the nozzles as needed.
Yearly
Have the prescribed inspection carried out by the customer service.
Maintenance Works
Replacing the brush rollers
Place the slider vertically and arrest.
Tilt the appliance backward and store it on the pushing handle.
Press the brush change key toward the outside and simultaneously tilt the brush roller out.
Pull out the brush roller.
Place the new brush roller on the driver and lock into place.
Maintenance contract
To ensure a reliable operation of the appliance maintenance contracts can be concluded with the competent Kärcher sales office.
Troubleshooting
DANGER
Risk of injury!
Pull the plug from the mains before carrying out any tasks on the appliance.
CAUTION
Risk of damage to the appliance on account of water leakage. Remove the detergent tank before doing any work on the appliance.
In case of faults that cannot be remedied using the table below please contact the customer service.
Faults
| Fault | Remedy |
| Appliance cannot be started | Check if the mains plug is connected. |
| Reset the overload fuse by pressing it in. | |
| Check the brushes for blockage due to foreign particles, remove them if found. | |
| Too little or no detergent application | Clean sieve. |
| Remove the nozzle, rinse under running water and reinsert it. Replace the nozzle. | |
| Check the correct positioning of the coupling in the detergent hose. | |
| Insufficient cleaning result | Check the brushes for wear, replace if required. |
| Check the detergent dosing. | |
| Appliance vibrates. | Check if brushes are fitted properly. |
| Transpose the brush rollers. | |
| Submerge the brush rollers in hot water (approx. 80°C) for about 15 minutes |
Technical specifications
| Power | ||
| Nominal voltage | V/Hz | 230 / 1~50 |
| Average power consumption | W | 370 |
| Maximum allowed net impedance | Ohm | (0.326+j 0.204) |
| Cleaning brushes | ||
| Working width | mm | 400 |
| Brush diameter | mm | 90 |
| Brush speed | 1/min | 470 |
| Detergent pump pressure | MPa | 0,34 |
| Detergent pump flow rate | I/min | 0,38 |
| Dimensions and weights | ||
| Theoretical surface cleaning performance | m²/h | 300 |
| Volume detergent tank | l | 7,5 |
| Length | mm | 400 |
| Width | mm | 470 |
| Height | mm | 1160 |
| Transport weight | kg | 25 |
| Permissible overall weight | kg | 33 |
| Values determined as per EN 60335-2- 72 | ||
| Hand-arm vibration value | m/s² | <2,5 |
| Uncertainty K | m/s² | 1 |
| Sound pressure level LpA | dB(A) | 68 |
| Uncertainty KpA | dB(A) | 3 |
| Sound power level LWA | dB(A) | 79 |
| Uncertainty KWA | dB(A) | 6 |
EU Declaration of Conformity
We hereby declare that the machine described below complies with the relevant basic safety and health requirements of the EU Directives, both in its basic design and construction as well as in the version put into circulation by us. This declaration shall cease to be valid if the machine is modified without our prior approval.
Product: Spray extraction device
Type: 1.006-xxx
Relevant EU Directives
2006/42/EC (+2009/127/EC)
2014/30/EU
2011/65/EU
Applied harmonized standards
EN 55014-1: 2017 + A11:2020
EN 55014-2: 2015
EN 60335-1
EN 60335-2-68
EN 61000-3-2: 2014
EN 61000-3-3: 2013
EN 62233: 2008
EN IEC 63000: 2018
Applied national standards
–
The signatories act on behalf of and with of the authority of the company management.

H. Jenner
Chairman of the Board of Management

S. Reiser
Director Regulatory Affairs & Certification
Documentation supervisor:
S. Reiser
Alfred Kärcher SE & Co. KG
Alfred-Kärcher-Straße 28-40
71364 Winnenden (Germany)
Tel.: +49 7195 14-0
Fax: +49 7195 14-2212
Winnenden, 2021/02/01
Declaration of Conformity
We hereby declare that the product described below complies with the relevant provisions of the following UK Regulations, both in its basic design and construction as well as in the version put into circulation by us. This declaration shall cease to be valid if the product is modified without our prior approval.
Product: Spray extraction device
Type: 1.006-xxx
Currently applicable UK Regulations
S.I. 2008/1597 (as amended)
S.I. 2016/1091 (as amended)
S.I. 2012/2032 (as amended)
Applied harmonized standards
EN 55014-1: 2017 + A11:2020
EN 55014-2: 2015
EN 60335-1
EN 60335-2-68
EN 61000-3-2: 2014
EN 61000-3-3: 2013
EN 62233: 2008
EN IEC 63000: 2018
National standards used
–
The signatories act on behalf of and with the authority of the company management

H. Jenner
Chairman of the Board of Management

S. Reiser
Director Regulatory Affairs & Certification
Documentation supervisor:
S. Reiser
Alfred Kärcher SE & Co. KG
Alfred-Kärcher-Straße 28-40
71364 Winnenden (Germany)
Tel.: +49 7195 14-0
Fax: +49 7195 14-2212
Winnenden, 2021/02/01
Warranty
The warranty terms published by the relevant sales company are applicable in each country. We will repair potential failures of your appliance within the warranty period free of charge, provided that such failure is caused by faulty material or defects in manufacturing. In the event of a warranty claim please contact your dealer or the nearest authorized Customer Service center. Please submit the proof of purchase.
Accessories and Spare Parts
- Only use accessories and spare parts which have been approved by the manufacturer. The exclusive use of original accessories and original spare parts ensures that the appliance can be operated safely and trouble free.
- For additional information about spare parts, please go to the Service section at www.kaercher.com.
THANK YOU!
Register your product and benefit from many advantages.
Rate your product and tell us your opinion.
Alfred Kärcher SE & Co. KG
Alfred-Kärcher-Str. 28-40
71364 Winnenden (Germany)
Tel.: +49 7195 14-0
Fax: +49 7195 14-2212
2-2-NN-A5-GS-03323
References
materiais.com - This website is for sale! - materiais Resources and Information.
The domain name mogelijk.de is for sale
Make choice for purchasing this domain - Domeinenbank
Cleaning equipment and pressure washers | Kärcher International
Dealer Search | Kärcher International
Home Garden Warranty Registration Karcher North America USA | Kärcher
Reinigungsgeräte und Hochdruckreiniger | Kärcher
Cleaning equipment and pressure washers | Kärcher International
Painepesurit | imurit | lakaisukoneet | siivouskoneet | höyrypesurit | veden- ja pölynimurit | painehuuhtelulaitteet | Kärcher Oy



















