BROMIC HEATING BH3130010-1 Smart Heat Wireless Remotes User Manual
DESCRIPTION OF THE PRODUCT
UHF band remote with PLL controlled carrier frequency. This type of remote is used for controlling devices for domestic use, automatic openings, ON-OFF light control, dimming, etc. This appliance transmits a rolling code type signal to prevent duplication and guarantee maximum secrecy. The remote code can be stored in the receiver directly via the latter or via radio from the remote. With the second possibility you can add new remotes to an existing system without having to touch the receiver. This can be done directly by the end user (the installer’s help is not required). The code is stored in the receiver’s EEPROM memory that retains it even if power is cut temporarily.
SAFETY RULES
- Do not use the manual remote in places or where systems are sensitive to radio emissions (e.g. airports, hospitals).
- Keep the remote out of the reach of children and animals.
- Do not keep or use the remote in places that are damp, where there is steam, high air humidity, dust or where it is exposed to the direct rays of the sun or similar environmental conditions.
- Do not let the remote drop: it could be damaged or its range of action reduced.
- Changes or modification not expressly approved by the party responsible for compliance could void the user’s authority to operate the equipment.
USE
- The operator is in no way protected against interference from other telecommunication equipment or systems (e.g. authorised radio systems working on the same frequency range).
- If you are having problems with its range of action, fix the remote up high. Change the battery if necessary.
CHANGING THE BATTERY – BATTERY IS HAZARDOUS
- WARNING: Keep the batteries out of the reach of children, whether new or used.
- If swallowed, the lithium button battery can cause severe or fatal injuries in 2 hours or less if it is swallowed or placed inside any part of the body.
- Medical attention should be sought immediately if it is suspected the battery has been swallowed or placed inside any part of the body
- Explosion hazard if the battery is substituted incorrectly.
- Replace the battery with a CR 2430 type battery only.
- Always wrap the battery up, both when it is being stored and when it is being disposed of. The battery should not come into contact with other metal objects as it could cause the battery to run down, catch fire or be damaged.
- Dispose of damaged or finished batteries immediately in compliance with the law. To this end, contact the authorities for safeguarding the environment or the centre for disposing of waste materials in your area.
- Do not throw the battery away with household rubbish.
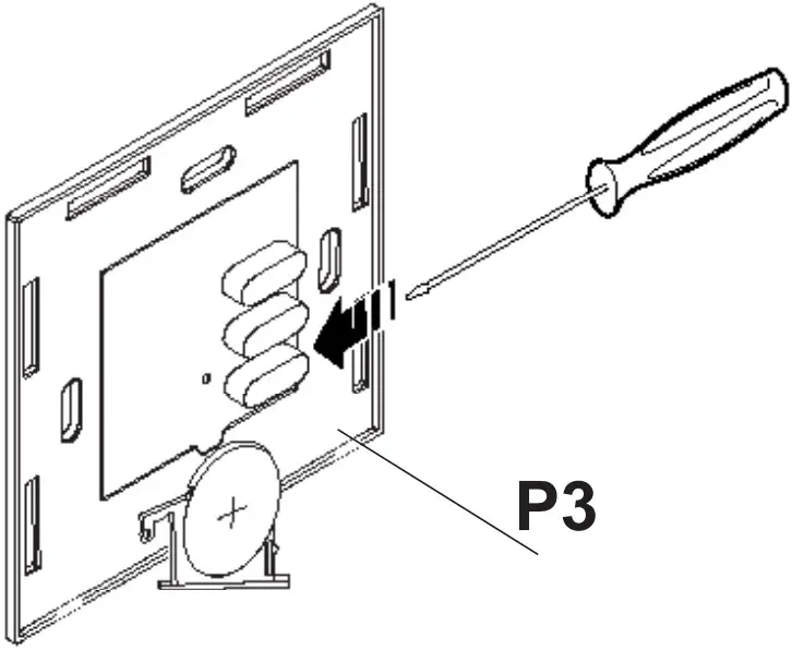
- Open the back cover (manual remote) or the battery housing (wall remote).
- Take the old battery out and put the new one in the same way.
Pay attention to correct polarity (+/-)!

REMOTE FIXING
If the remote is fixed on the wall with biadhesive, the maximum holding will be reached after 24 hours from the application. Application temperature min.+10°C (50°F).
GUARANTEE
The guarantee complies with the law. If the guarantee has to be used please refer to the specialized retailer. The right to the guarantee is applicable only for the country in which the manual remote was purchased. The batteries are not covered by the guarantee.
HOW TO STORE A REMOTE VIA RADIO WITHOUT ACCESSING THE RECEIVER BY MEANS OF A PREVIOUSLY STORED REMOTE
- Press the P3 button inside the already programmed remote. The active receiver will sound continuously. If there is no sound, the remote is not programmed into the receiver.
- Within 5 seconds, press a button of the already programmed remote, relative to the function to copy. The sound will be interrupted, and continue for another 5 seconds.
- During the sound, press a button of the new remote that requires to be programmed. The programming is indicated by an intermittent sound.
CONFORMITY
Bromic declares that the remotes supplied satisfy the following technical regulations:
- FCC (Federal Communications Commission) Part 15 (FCC ID: P59TVTXI916S; P59TVEVO916S)
- IC (Industry Canada) RSS-102 (IC: 11242A-TVTXI916S; IC: 11242A-TVEVO916S)
This device complies with part 15 of the FCC Rules. Operation is subject to the following two conditions (1) this device may not cause harmful interference, and (2) this device must accept any interference received, including interference that may cause undesired operation.
TECHNICAL DATA
| Model | Dimmer-Remote | On/Off-Remote | Dimmer-Master (42) Wireless Remote |
| Carrier Frequency | 916MHz (US/AU) / 868.3MHz (EU) | ||
| Modulation | FSK | ||
| Power Supply | 3V ±10%CR2430 battery | ||
| Consumption when transmitting | 10mA | ||
| Working Temperature | -10+55°C / 14+131°F | ||
| Range | 30m / 100ft | ||


DIMMER MASTER (42) WIRELESS REMOTE


SEL button: multi-remote function
Press the SEL buttons from left or right in order to select design zone.



Keep the remote away from Children

















