JOHN DEERE LP70692 Snow Blower Storage Dollies

Introduction
Using Your Operator’s Manual
Read this entire operator’s manual, especially the safety information, before operating.
This manual is an important part of your machine. Keep all manuals in a convenient location so they can be accessed easily.
Use the safety and operating information in the attachment operator’s manual, along with the machine operator’s manual, to operate and service the attachment safely and correctly.
If your attachment manual has a section called Preparing the Machine, it means that you will have to do something to your tractor or vehicle before you can install the attachment. The Assembly and Installation sections of this manual provide information to assemble and install the attachment to your tractor or vehicle. Use the Service section to make any needed adjustments and routine service to your attachment.
If you have any questions or concerns with the assembly, installation, or operation of this attachment, see your local John Deere dealer or call Agri-Fab at 1-800-448-9282 for assistance.
Warranty information on this John Deere attachment can be found in the warranty that came with your John Deere tractor or vehicle.
Product Compatibility
This kit is compatible with 47″ and 54″ quick hitch snow blowers.
Original instructions. All information, illustrations and specifications in this manual are based on the latest information available at the time of publication.
The right is reserved to make changes at any time without notice.
Note : Retain these installation instructions with the machine operators manual.
Safety
Read Safety in Machine Operator’s Manual
Read the general safety operating precautions in your machine installation instruction manual for additional safety information.
Operating Safely
- Read the machine and attachment operator’s manual carefully. Be thoroughly familiar with the controls and the proper use of the equipment. Know how to stop the machine and disengage the controls quickly.
- This attachment is intended for use in lawn and property maintenance applications. Do not use for use other than intended by the manufacturer.
- Do not modify machine or safety devices. Unauthorized modifications to the machine or attachment may impair its function and safety.
- Do not let children or an untrained person operate machine.
- Make any necessary adjustments before you operate. Never attempt to make any adjustments while the engine is running, unless if recommended in adjustment procedure.
- Look behind machine before you back up. Back up carefully.
- Do not let anyone, especially children, ride on machine or attachment. Riders are subject to injury such as being struck by foreign objects and being thrown off. Riders may also obstruct the operator’s view, resulting in the machine being operated in an unsafe manner.
- Disengage any power to the attachment when the machine is transported or not in use.
- Do not operate controls while outside of machine.
Parking Safety
- Stop machine on a level surface.
- Lock the park brake
- Stop the engine
- Remove the key
- Wait for engine and all moving parts to stop before you leave the operator’s seat
Practice Safe Maintenance
- Only qualified, trained adults should service this machine.
- Understand service procedure before doing work. Keep area clean and dry.
- Do not operate the engine in a confined space where dangerous carbon monoxide fumes can collect.
- Never lubricate, service or adjust the machine or attachment while it is moving. Keep safety devices in place and in working condition. Keep hardware tight.
- Keep hands, feet, clothing, jewelry, and long hair away from any moving parts, to prevent them from getting caught.
- Lower any attachment completely to the ground or to an existing attachment mechanical stop before servicing the attachment. Disengage all power and stop the engine. Lock park brake and remove the key. Let machine cool.
- Disconnect battery or remove spark plug wire (for gasoline engines) before making any repairs.
- Before servicing machine or attachment, carefully release pressure from any components with stored energy, such as hydraulic components and springs.
- Release hydraulic pressure by lowering attachment or cutting units to the ground or to a mechanical stop and move hydraulic control levers.
- Securely support any machine or attachment elements that must be raised for service work. Use jack stands or lock service latches to support components when needed.
- Never run engine unless park brake is locked.
- Keep all parts in good condition and properly installed. Fix damage immediately. Replace worn or broken parts. Replace all worn or damaged safety and instruction decals.
- Check all hardware at frequent intervals to be sure the equipment is in safe working condition.
- Do not modify machine or safety devices. Unauthorized modifications to the machine or attachment may impair its function and safety
- Wear Appropriate Clothing

- Wear Appropriate Clothing
- Always wear eye protection when operating the machine.
- Wear close fitting clothing and safety equipment appropriate for the job.
- While operating this machine, always wear substantial footwear and long trousers. Do not operate the equipment when barefoot or wearing open sandals.
- Wear a suitable protective device such as earplugs. Loud noise can cause impairment or loss of hearing.
Assembly
Parts in Kit

Main Components
| Description | Letter | Qty |
| Snow Blower Storage Dollies | A | 2 |
Installation
Assembling Dollies
- . Measure width of the bottom of the snowblower (including scraper bar) and adjust dollies accordingly. See Adjustment of Dollies.
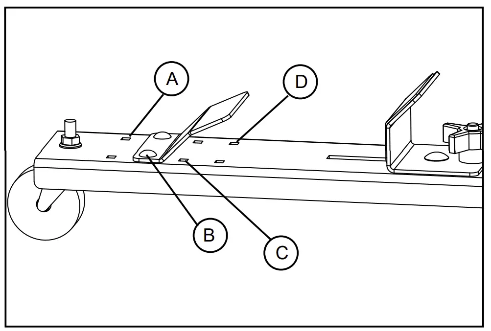
Adjusting Dollies

| Width Adjustment | |
| Position | Distance |
| A | 5 3/8” – 9 5/8” (137 – 244 mm) |
| B | 4 1/3” – 8 3/8” (105 – 212 mm) |
| C | 2 7/8” – 7 1/3” (73 – 181 mm) |
| D | 1 5/8” – 5 7/8” (41 – 149 mm) |
Installing Dollies
- Lift snow blower to highest position
- Loosen lock knob and slide rear brace rearward.
- Position a dolly on each side of snowblower near the sideplate with the front angle overlapping the scraper bar as far as possible.

Warning: Avoid injury! Do not allow operator or bystanders to operate Tractor controls while installing or removing dollies. Make sure hands and feet are clear of snowblower when lowering snowblower onto dollies. 
Caution: Avoid injury! Wear gloves while installing dollies. Scraper blades may be sharp. 
Note: When raised the snow blower dollies may hang down. - Lift dolly flush with bottom of snow blower, adjust rear brace inward then tighten lock knob.

- Slowly lower snow blower to the ground, then follow the snow blower removal instructions as normal.
- Ensure the snow blower is sitting level on the dollies and roll snowblower away from tractor.
Note: Snow Blower Storage Dollies are designed to be used on flat and level surfaces only. Take care when maneuvering over uneven surfaces.
Removal
Removing Dollies
- Attach snow blower following snowblower installation instructions.
- Raise snow blower to highest position.
- Remove snowblower dollies. It may be necessary to loosen the lock knob and adjust the rear brace to remove the dolly
![]() | Caution: Avoid injury! Wear gloves while removing dollies. Scraper blades may be sharp. |
Specifications
Snow Blower Storage Dollies
| Max Carrying Load | 380 lb.(172.365 kg) |
Getting Quality Service
John Deere Quality Continues with Quality Service
John Deere provides a process to handle your questions or problems, should they arise, to ensure that product quality continues with quality parts and service support.
Follow the steps below to get answers to any questions you may have about your product.
Refer to your attachment and machine operator manuals.
In North America or Canada, call Agri-Fab at 1-800-448-9282 and provide product serial number (if available) and model number.
Warranty
Limited Warranty for New John Deere Licensed Products
Agri-Fab’s attachments are guaranteed to be free from defects in material and workmanship from the date of purchase for 2 years residential use, 6 months commercial use, provided that the purchaser properly assembles, installs, uses and maintains the products in accordance with this manual.
Purchaser’s failure to adhere to such requirements will void the warranty. To the extent permitted by applicable law, all other warranties, representations, obligations and conditions, expressed or implied, including but not limited to implied warranties of merchantability, fitness for any particular purpose and non-infringement, are hereby disclaimed and excluded.
Any product which does not meet warranty shall, as purchaser’s sole and exclusive remedy, be repaired or replaced by Agri-Fab. This warranty is nontransferable.
- In addition, our warranty does not cover:
- Labor charges.
- Loss or consequential, incidental or special damages of any kind.
![]() | This product was manufactured by Agri-Fab, a John Deere Licensee, located at 809 S Hamilton St. Sullivan, IL 61951. If you have any questions or concerns with the assembly, installation, or operation of this attachment, see your local John Deere dealer or call Agri-Fab at 1-800-448-9282 for assistance. |

























