DORR WIRELESS GAME MOTION DETECTOR KIT / DETECTOR Instruction Manual
THANK YOU for choosing this DÖRR quality product.
Please read the instruction manual and safety hints carefully before first use.
Keep this instruction manual together with the device for future use. If other people use this device, make this instruction manual available. This instruction manual is part of the device and must be supplied with the device in case of sale.
DÖRR is not liable for damages caused by improper use or the failure to observe the instruction manual and safety hints.
WIRELESS GAME MOTION DETECTOR KIT HA-300
Item No 204802
WIRELESS MOTION DETECTOR (SENDER) HA-300S
Item No 204803 -A,-B,-C
SAFETY HINTS
- The receiver HA-300 is not waterproof! Protect the receiver from rain, moisture, direct sunlight and extreme temperatures.
- The motion detector (sender) HA-300S is fitted with a weatherproof housing according to protection class IP66 (dust tight and protected against powerful water jets) and suitable for outdoor use. Nevertheless, protect the motion detector from extreme weather conditions and direct sunlight.
- Make sure to use fresh batteries of the same type and brand only (type Micro AAA LR03, 1.5V). When inserting the batteries please respect the correct polarity (+/-).
Please remove batteries when device is not in use for a long period of time.
Do not use re-chargeable batteries. They may lead to malfunction. - Do not drop the device onto a hard surface. Do not use the device if it has been dropped. In this case a qualified electrician should inspect the device before you use it again.
- Do not attempt to repair the device by yourself. Risk of electric shock!
When service or repair is required, contact qualified service personnel. - People with physical or cognitive disabilities should use the device with supervision.
- People with cardiac pacemakers, defibrillators or any other electrical implants should maintain a minimum distance of 30 cm, as the device generates magnetic fields.
- Do not use the device nearby mobile phones and devices that generate strong electromagnetic fields.
- This device is not a toy. To prevent accidents and suffocation keep the device, the accessories and the packing materials away from children and pets.
- Protect the device against dirt. Never use aggressive cleansing agents or benzine to clean the device. We recommend a soft, slightly damp microfiber cloth to clean the outer parts of the device. Turn off the device and remove batteries before cleaning.
- Store the device in a dust-free, dry and cool place when not in use.
- If the device is defective or without any further use, dispose of the device according to the Waste Electrical and Electronic Equipment Directive WEEE. For further information, please contact your local authorities.
SAFETY HINTS FOR BATTERIES
Only use high-quality batteries of popular brands. When inserting the batteries, please respect the correct polarity (+/-). Do not insert batteries of different types and always replace all batteries at the same time. Do not combine used batteries with fresh batteries. Please remove batteries when device is not in use for a longer period. Do not throw the batteries into fire, do not short-circuit and do not disassemble them! Never charge non-rechargeable batteries – risk of explosion! Remove empty batteries immediately from the device to avoid the leaking of battery acid. Remove leaking batteries from the device immediately. Clean the contacts before inserting fresh batteries. Risk of battery acid burn! In case of contact with battery acid, rinse the affected area immediately with water and contact a doctor. Batteries can be dangerous to life if swallowed. Keep batteries away from small children and pets. Do not dispose of batteries in household waste (see also chapter “Disposal of Batteries/Accumulators”).
PRODUCT DESCRIPTION
The DÖRR HA-300 game motion detector kit is a wireless alarm system containing a radio receiver and two PIR sensor motion detectors.This early warning system is particularly useful for hunting or at feeding stations, but can also be used for monitoring the house and garden. When the PIR sensor detects e.g. the movement of a game within a distance of up to 12 m, the motion detector transmits a radio signal to the receiver within a range of approx. 300 m. The receiver will send out a sound and vibration alarm. The LED indicator of the receiver shows which motion detector has been triggered. Up to five motion detectors can be combined.
FEATURES
- Motion detectors with PIR sensor for an detection range of up to 12 meters
- Up to 5 motion detectors can be combined (additional DÖRR wireless motion detectors HA-300S optionally available)
- Radio frequency range up to 300 meters (depending on the environment and battery level)
- Three alarm modes: LED light, sound (volume adjustable), vibration
- Shockproof housings
- Dust and rainproof housings of motion detectors (IP66)
- Easy installation and handling
NOMENCLATURE
RECEIVER HA-300 (COMES WITH KIT ONLY, DÖRR ITEM NO. 204802)




- 1 Receiver antenna (extendable)
- 2 LED indicator green for detector signal (1, 2, 3, 4, 5)
- 3 Speaker
- 4 Socket for earphones
- 5 Volume controller
- 6 LED power indicator red
- 7 Eyelet for hand strap
- 8 On/Off switch
- 9 Belt clip
- 10 Battery compartment cover/battery compartment
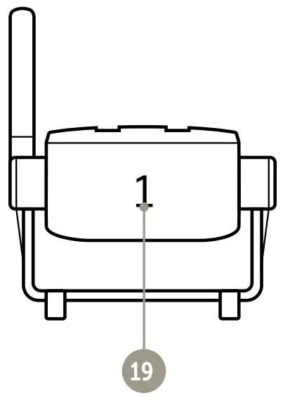
MOTION DETECTOR HA-300S



- 11 PIR Sensor
- 12 Motion detector antenna
- 13 Stand/mounting frame (180° adjustable)
- 14 Eyelets for mounting strap
- 15 On/Off button with green LED illumination
- 16 Mounting jack
- 17 Screw for battery compartment cover
- 18 Battery compartment cover/battery compartment
- 19 Number of motion detector
FIRST COMMISSIONING
INSERTING THE BATTERIES INTO THE RECEIVER
Slide down the battery compartment cover (10) to open it. Insert 3 pcs AAA LR03 batteries (optional) according to the polarity markings +/- in the battery compartment. Close the battery compartment lid.
INSERTING THE BATTERIES INTO THE MOTION DETECTORS (SENDERS)
Unscrew the screw (17) of the battery compartment cover and remove the battery compartment cover (18). Insert 3 pcs AAA LR03 batteries (optional) according to the polarity markings +/- in the battery compartment. Close the battery compartment and screw on the screw again.
OPERATION
TURNING ON/OFF
Receiver:
To turn on the receiver, switch the On/Off switch (8) to position ON. The LED power indicator (6) flashes red. To turn the receiver off, switch the On/Off switch (8) to position OFF.
Motion detectors (senders):
To turn the motion detectors on, press the On/Off button (15). The On/Off button flashes green for about 2 seconds. Then the green LED will shut down to save battery power — but the motion detector is still on and ready for operation. To turn the motion detectors off, press the On/Off button (15) for about 3 seconds.
CONNECTING THE RECEIVER WITH THE MOTION DETECTORS
- Set the On/Off switch of the receiver (8) to the ON position. The LED power indicator (6) flashes red and indicates readiness for signal reception.
- Press the On/Off button (15) of the motion detectors.
- The motion detectors now connect automatically with the receiver. While connecting the corresponding LED signal indicator (2) flashes green with sound and vibration. After successful connection the LED signal indicators (2) will light green constantly.
| LED indication kit with 2 motion detectors (Item No 204802) | |
| LED No. 1 lights green constantly | Motion detector 1 is active |
| LED No. 2 lights green constantly | Motion detector 2 is active |
LED indication with further motion detectors HA-300S
(Item No. 204802-A,-B,-C optional)
| LED No. 3 lights green constantly | Motion detector 3 is active |
| LED No. 4 lights green constantly | Motion detector 4 is active |
| LED No. 5 lights green constantly | Motion detector 5 is active |
NOTE
- The distance for connection is approx. 300 m in an open environment.
- If distance between receiver and the motions detectors is quite far, please pull out the receiver antenna (1) to enhance the signal.
ALARM SIGNA
When a motion detector registered a movement, the corresponding LED indicator flashes green. For example: motion detector 2 registers a movement = LED 2 at the signal indicator (2) flashes and the receiver will send out a 15-second sound and vibration alarm.
ADJUSTING THE VOLUME/EARPHONES
The volume of sound alarm can be regulated or turned off completely by turning the volume controller (5) on the top of receiver. Optionally you can use earphones.
In this case connect the earphones (optional) to the earphones socket (4).
CAUTION: A too loud volume can damage your hearing when using earphones!
VIBRATION ALARM
The vibration alarm is always active and cannot be regulated.
OPTIONAL MOTION DETECTORS (SENDERS)
| Item No | Model |
| 204803-A | DÖRR Motion detector (sender) No. 3 |
| 204803-B | DÖRR Motion detector (sender) No. 4 |
| 204803-C | DÖRR Motion detector (sender) No. 5 |
ORIENTATION/MOUNTING OF RECEIVER AND MOTION DETECTORS
MOTION DETECTORS
The maximum detecting range of PIR sensor is up to 12 m and 70° in an open environment. To avoid false alarm, kindly note that no fluttering leaves/branches etc. are near to the motion detectors. For an optimum detection of objects, we recommend to mount the motion detectors in a height of min. 0,3 m – max. 2,00 m above the ground (e.g. to a tree).
NOTE
The higher you mount the motion detectors, the lower the detection range. Best results can be achieved with a mounting height of about 0,8 m.
To mount the motion detectors, use the supplied mounting straps. Alternatively you can screw on the motion sensors through the mounting jack (16).
RECEIVER
With the belt clip (9) the receiver can be attached to the belt or clothing.
Alternatively the receiver should be placed protected from rain within a distance of approx. 300 m to the motion detectors.
CLEANING AND STORAGE
Never use aggressive cleansing agents or benzine to clean the device. We recommend a soft, slightly damp microfiber cloth to clean the outer parts of the device.
Turn off the device and remove batteries before cleaning. Store the device in a dustfree, dry and cool place. This device is not a toy – keep it out of reach of children.
Keep away from pets.
SPECIFICATIONS
| Max. number of motion detectors to be combined | up to 5 pcs |
| Detection range PIR sensor | approx. 12 m |
| Distance receiver/motion detectors (sender | approx. 300 m |
| Detection angle PIR sensor | approx. 70° |
| Radio Frequency | 433 MHz |
| Frequency Band | 424 – 434.79 MHz |
| Transmission power receiver | -124 dBm |
| Transmission power motion detector | +20 dBm max |
| Trigger time PIR Sensor | approx. 0.5 sec. |
| Alarm signals | LED, sound (adjustable), vibration |
| Power source | AAA LR03 batteries (optional) 3 pcs for receiver 3 pcs per motion detector |
| Operating time receiver (with fresh batteries) | up to 100 hours |
| Operating time motion detector (with fresh batteries) | up to 400 hours |
| Power consumption receiver | ≤ 8 mA, 4.5 V |
| Power consumption motion detector | ≤ 2 mA, 4.5 V |
| Power motion detector | ≤ 25 mW |
| Dimensions receiver | approx. 8,4 x 5,5 x 4,0 cm |
| Weight receiver (w/o batteries) | approx. 80 g |
| Dimensions motion detector | approx. 14,4 x 9,5 x 4,0 cm |
| Weight motion detector (w/o batteries) | approx. 130 g |
| Operation temperature | -20 – +60°C |
| Storage temperature | -30 – +70°C |
| Humidity | 5% – 90% |
| Housing motion detector | IP66 (motion detector only) |
CONTENT
| Item | Content |
| DÖRR Wireless game motion detector kit HA-300 Item-No. 204802 | 1x Receiver 2x Motion detectors (senders) No. 1 + No. 2 2x Mounting straps 1x Hand strap 1x Safety Hints |
| DÖRR Wireless motion detector (sender) HA-300S Item-No. 204803 -A | 1x Motion detector (sender) No. 3 1x Mounting strap 1x Safety Hints |
| DÖRR Wireless motion detector (sender) HA-300S Item-No. 204803 -B | 1x Motion detector (sender) No. 4 1x Mounting strap 1x Safety Hints |
| DÖRR Wireless motion detector (sender) HA-300S Item-No. 204803 -C | 1x Motion detector (sender) No. 5 1x Mounting strap 1x Safety Hints |
DISPOSAL, CE MARKING, SIMPLIFIED EU DECLARATION OF CONFORMITY
DISPOSAL OF BATTERIES/ACCUMULATORS
Batteries are marked with the symbol of a crossed out bin. This symbol indicates that empty batteries or accumulators which can no longer be charged should not be disposed of with household waste. Waste batteries may contain harmful substances that can cause damage to health and to the environment.
Please use the return and collection systems available in your country for the disposal of the waste batteries.
WEEE INFORMATION
The Waste Electrical and Electronic Equipment Directive (WEEE Directive) is the European community directive on waste electrical and electronic equipment, which became European law in February 2003. The main purpose of this directive is to prevent electronic waste. Recycling and other forms of waste recovery should be encouraged to reduce waste. The symbol (trash can) on the product and on the packing means that used electrical and electronic products should not be disposed of with general household waste. It is your responsibility to dispose of all your electronic or electrical waste at designated collection points. Disposing of this product correctly will help to save valuable resources and it is a significant contribution to protect our environment as well as human health. For more information about the correct disposal of electrical and electronic equipment, recycling and collection points please contact your local authorities, waste management companies, your retailer or the manufacturer of this device.
ROHS CONFORMITY
This product is compliant with the European RoHS directive for the restriction
of use of certain hazardous substances in electrical and electronic equipment
and its amendments.
CE MARKING
The CE marking complies with the European standards and indicates that the product meets the requirements of the applicable EU directives.
SIMPLIFIED EU DECLARATION OF CONFORMITY
Hereby, DÖRR GmbH declares that the radio equipment type [204802,
204803-A, -B, -C] is in compliance with Directive 2014/53/EU. The full text of
the EU declaration of conformity is available at the following internet address:
http://www.doerr-outdoor.de
FUNK-WILDBEWEGUNGSMELDER SET HA-300
Artikel Nr 204802
FUNK-SENDER HA-300S
Artikel Nr 204803 (-A,-B,-C)
DÖRR GmbH Messerschmittstr. 1
D-89231 Neu-Ulm
Fon +49 731.970 37 69
[email protected] · doerr-foto.de


















