iRange Electric Fire
Model:
i750e/i1000e/i1250e/i1500e/i1800e/i2200e

Please read the instructions carefully before installation or use and keep for future reference.
IMPORTANT SAFETY INFORMATION
1.1 Read all of the instructions carefully before using the appliance.
1.2 For indoor use only. This appliance is not suitable for use outside the house and only suitable for well insulated spaces or occasional use.
1.3 Do not use this appliance in the immediate surroundings of a bath, a shower or a swimming pool.
1.4 Do not use this fire as a free-standing appliance. It must always be fixed to the wall, fireplace mantel, floor etc.
1.5 This fire must not be located immediately below a socket-outlet.
1.6 This appliance must be earthed.
1.7 This appliance must not be supplied through an external switching device, such as a timer, or connected to the circuit that is regularly switched on and off by utility in order to avoid a hazard due to the inadvertent resetting of the thermal cut out.
1.8 If the power cord is damaged, it must be repaired by the manufacturer, its authorized service center or professional person in order to avoid a hazard.
1.9 Do Not Cover. Warning: in order to avoid overheating, do not allow the appliance to be covered or let the air inlet/outlet become obstructed. Please note the warning on the appliance.
1.10 To reduce the risk of fire, keep textiles, curtains, or any other flammable material a minimum distance of 1 meter from the air outlet.
1.11 Keep the power cords away from hot surfaces and hot conditions. Do not route the power lead in front of the appliance.
1.12 Do not use this fire in rooms that have explosive gas in them (for example petrol), or if you are using solvents, glue, aerosol spray or in flammable paints, as these may catch fire.
1.13 This appliance is not intended for use by persons (including children) with reduced physical, sensory or mental capabilities, or lack of experience and knowledge, unless they have been given supervision or instruction concerning use of the appliance by a person responsible for their safety.
1.14 Cleaning and user maintenance shall not be made by children without supervision.
1.15 Some parts of this product can become very hot and cause burns. Particular attention has to be given where children and vulnerable people are present.
1.16 Do not use this appliance in small rooms when they are occupied by persons not capable of leaving the room on their own, unless constant supervision is provided.
1.17 Children should be supervised to ensure that they do not play with the appliance.
1.18 Keep the power plug accessible after installation for the purpose of isolation.
1.19 Children of less than 3 years should be kept away unless continuously supervised or a fireguard is fitted .
1.20 Children aged from 3 years and less than 8 years shall only switch on/off the appliance provided that it has been placed or installed in its intended normal operating position and they have been given supervision or instruction concerning use of the appliance in a safe way and understand the hazards involved. Children aged from 3 years and less than 8 years shall not plug in, regulate and clean the appliance or perform user maintenance.
TECHNICAL SPECIFICATIONS
Model No. : i750e/i1000e/i1250e/i1500e/i1800e/i2200e
Supply Voltage: AC 230-240V 50Hz
Maximum power consumption: 2000W
Power for flame and fuel bed effect:
| Model | i750e | i1000e | i1250e | i1500e | i1800e | i2200e |
| Power | 19.8W | 24.3W | 34.4W | 43.5W | 44.9W | 53.1W |
Power for mood light: DC12V 9W 0.75A
Heat Output:
Nominal heat output (Pnom): 1800W
Minimum heat output (indicative) (Pmin): 1000W
Maximum continuous heat output (Pmax): 2000W
Auxiliary Electricity Consumption:
At nominal heat output (elmax): 12.5W
At minimum heat output (elmin): 12W
In standby mode (elSB): 0.49W
Type of Heat Output / Room Temperature Control
| Single stage heat output and no room temperature control | No |
| Two or more manual stages, no room temperature control | No |
| With mechanic thermostat room temperature control | No |
| With electronic room temperature control | Yes |
| Electronic room temperature control plus day timer | Yes |
| Electronic room temperature control plus week timer | Yes |
Other Control Options
| Room temperature control, with presence detection | No |
| Room temperature control, with open window detection | Yes |
| With distance control option | No |
| With adaptive start control | Yes |
| With working time limitation | No |
| With black bulb sensor | No |
| Control PCB | Remote Control Receiver | Remote Control Transmitter |
| Hardware: RC01-043B01 Software:V0 | Hardware: RF290B V1.2 | Frequency: ASK/OOK 433.92MHZ Maximum transmit power: 10mW Hardware:RF290A-TX-V1.3 Software:V2.4.1 |
PARTS AND HARDWARE
3.1 Unpack the fire carefully and make sure that the appliance is intact with no signs of damage caused by transport and no part has been exposed to water. If in doubt, do not use the appliance and contact your retailer.
3.2 Keep plastic wrapping away from children.
3.3 Save the original packaging as this may be required in the event of service complaint with product.
3.4 Check that all parts are removed from the packaging.
Firebox (1pc) | ST4*8 Screw (5pcs) | ST5*40 Screw (18pcs) |
ST4*40 Screw (4pcs) | Wall Plug (18pcs) | Power Cord Bracket (1pc) (Installer must fit before leaving appliance) |
Lower Brackets (2pcs) (To be used when the wall handing bracket(J) is used) | Edging Strips (2pcs) | Edging Strips (2pcs) |
Wall hanging bracket is attached on firebox (1pc) Remove from the appliance if you are not fixing to wall | Sucker c750e/1000e/1250e (1pc) 1500e/1800e/2200e (2pcs) | Power Cord (1pc) |
Power Cord EU (1pc) | Plaster Logs (1set) | Black Glass (1set) |
Vermiculite (1set) | Remote (1pc) | AAA Battery (2pcs) |
Instruction Manual (1pc) | Simple Instruction (1pc) |
APPLIANCE DIMENSIONS

| Model | A | B | C | D | E | F | G | H |
| i750e | 750 | 1030 | 402 | 560 | 214 | 300 | 15 | 79 |
| i1250e | 1000 | 1030 | 402 | 560 | 214 | 300 | 15 | 79 |
| i1250e | 1250 | 1280 | 402 | 560 | 214 | 300 | 15 | 79 |
| Model | A | B | C | D | E | F | G | H |
| i1500e | 1500 | 1530 | 402 | 560 | 214 | 300 | 15 | 79 |
| i1800e | 1800 | 1830 | 402 | 560 | 214 | 300 | 15 | 79 |
| i2200e | 2200 | 2230 | 402 | 560 | 214 | 300 | 15 | 79 |
INSTALLATION INSTRUCTIONS
5.1 PREPARATION BEFORE INSTALLATION
Tools Required
A screwdriver, a spirit level and drill will be needed.
Locate the Appliance
Your new electric fireplace may be installed virtually anywhere in your home. However, when choosing a location, ensure that the general instructions are followed:
For best result, install out of direct sunlight, water or very damp air. The appliance should be connected to an earthed electrical outlet and it must be easily accessible to allow disconnection.
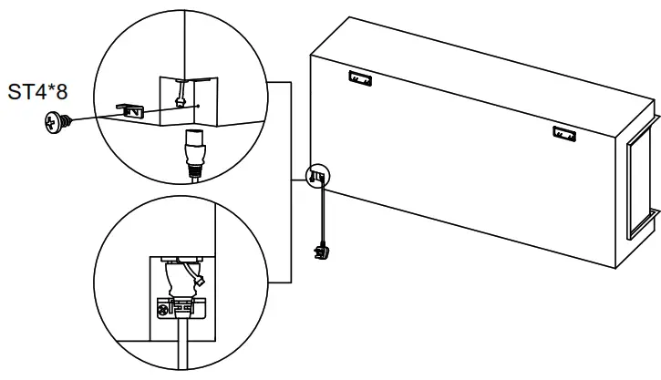
Connect the power cord
It is very important that the plug is tightly located into the socket in rear of appliance . It is essential that the retention clip provided is fixed in place using the ST4*8 screw,ensuring a secure connection to the appliance. It is recommended that you turn on and operate the appliance to check that all functions and that there are no issues with the appliance.

Connect the Mood Light Cable
The interface of the mood light cable is on the rear of the appliance, near the position of the power cord. Please also check the function after connecting the mood light.

Note: compatible mood lighting devices are available from
Charlton&Jen rick Ltd., Other brands may not be suitable and void the warranty.
Choose Aspect Type
The appliance can be installed in 3 different arrangements. They are as follows:
- Front view (only the front window is visible)
When you unpack the appliance, you will notice that the side panels have been fixed on the appliance, which makes the appliance visible on only one front side. - Corner Aspect (the front and one of the side windows are visible)
Remove the side panel and side edging strip from the end you want to feature a glass panel. Then take the top / bottom edging strips and the side edging strip and fix them to the appliance using the screws taken from the removal of the side panel(s)
- Panoramic Aspect (the front and both sides windows are visible)
Repeat the corner aspect procedure on the opposite side of the appliance.
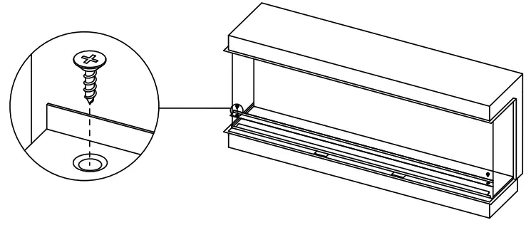
Remove the front glass panel
- Remove the 2c/s screws and remove the glass retaining strip as shown below.

- Use a suction cup(s) provided to support the middle of the glass panel and lift the panel upwards and pull it forwards at its lower edge. Carefully lift glass away as shown below.

5.2 Installation
The following is only given as a general guide because it can be installed in so many ways. Provided you ensure electric connections are safely made in accordance with the codes,various materials can be used for the framework and cladding. But consideration should be made to soften the internal surface of any cladding to minimise that ample of noise.
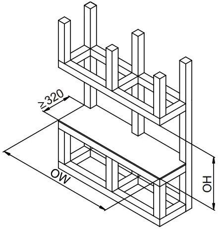
BUILD IN
- Prepare the framework as a general guide only see picture below:

Unit:mm
| Model | OW | OH |
| i750e | 710 | 867 |
| i1000e | 1010 | 575 |
| i1250e | 1260 | 575 |
| i1500e | 1510 | 575 |
| i1800e | 1810 | 575 |
| i2200e | 2210 | 575 |
NOTE: Ensure a firm flat surface for positioning of the appliance and secure fixing to avoid vibration and movement of the appliance after cladding.
- Push the appliance into the framework and bend out the four brackets on the upper and lower edges of the appliance so that they can be fixed with the screws provided to the framework.

- Cladding the framework. Note:Hard surfaces can amplify sound. Consider adding some underlay or similar to the inside surface of the cladding .

WALL MOUNTED
- Remove the wall bracket from the rear of the appliance, and place it horizontally against the wall where you would like to install the appliance. Mark the holes for screws, drill holes on the marks, insert wall plugs and fix the bracket to the wall by ST5x40 screws .

- fix two lower bracket at the bottom by four ST4x8 screws. Note: the screws are fixed on the appliance, remove first.

- Lift the appliance up and attach to the wall mounting bracket. Mark the hole position of the lower fixing bracket, take the appliance down, drill holes on the marks and insert wall plug into it.
- Attach the appliance again on the bracket, secure the appliance to the wall bracket with two ST4x8 screws and secure the lower brackets to the wall with 2 ST5x40 screws, one into each end.

OPERATING INSTRUCTIONS
WARNING!
Do not operate the appliance if it is damaged or malfunctions. If you suspect the appliance is damaged or malfunctions, call a qualified service engineer to inspect the appliance, and replace any part of the electrical system if necessary, before reusing.
WARNING!
To reduce the risk of fire, keep textiles, curtains, or any other flammable material a minimum distance of 1 meter from the air outlet.
MAKE SURE the plug fits tight in the outlet. Faulty wall outlet connections or loose plugs can cause the outlet to overheat.
Do not disconnect the power at the mains supply whilst the appliance is running. Use the functions on the remote to turn the fire off and ensure the mains switch is in the off position before disconnecting.
The appliance can be operated conveniently in 3 different ways: manually, via the remote control handset or via the dedicated iOS/Android app.
MANUAL CONTROL

MANUAL SWITCH
Press “I” to turn on the appliance ;Press “ O” to turn off it.
STAND-BY
Press to turn on/off flame、downright、and fuel bed effect .
FLAME
Press repeatedly to cycle through 6 fire preset modes and 3 user defined presets if programmed.
HEATER
Press repeatedly to cycle through low heat setting, high heat setting and no heat.
WiFi
Press to turn on/off WiFi. An illuminated LED indicate that wifi is turned on.
Hold button for 3 seconds to enter device pairing mode.
Each time a button is pressed on the appliance or on the remote control, an audible beep is emitted. To turn off this feature, keep pressing button FLAME for 3 seconds until you hear two beeps.
REMOTE CONTROLS

NOTE: The remote control handset must be left in the same room as the appliance because it houses the thermostat that regulates heat output.Also, when using the APP, the remote must also be in same room and have batteries fitted and working to ensure accurate temperature control.
Remote Control Set up
The communication frequency between the appliance and remote has already been set up. If you have did with the remote communicating with the appliance, please press and hold button Standby on the appliance until you hear two beeps , release the button. Press Standby button on the remote handset and you will hear one beep. The remote is connected with the appliance.
My Flame![]()
Press to enter My Flame adjustment screen.
press “
” and “
” to select 6 My Flame mode (+3 user defined presets if programmed)
There are 3 preset slots allocated for the user to save personalized. Simply choose the flame color and brightness level, the fuel bed colour and brightness level. Once you have selected your desired combination, press and hold the My flame button for 3 seconds until the LCD displays My Flame save to 7 Press ‘ -‘ or ‘ +’ buttons to select a slot number between 7-9. Press and hold the My flame button for 3 seconds to confirm the preset.
Flame Effect![]()
Press to enter the flame effect adjustment screen.
Press the“
” and “
”button to select 3 different flame colors and off setting.
Press the ‘ – ‘ and ‘+ ‘ button to select 5 levels of brightness
Fuel Bed![]()
Press to enter the fuel bed adjustment screen.
Press the “
” and “
” button to select 9 different fuel bed colors and OFF setting.(the ninth is the color cycle mode).
Press the ‘ – ‘ and ‘ + ‘ button to select the 5 levels of brightness
Mood Light![]()
Note: If mood lights are not connected, please ensure the brightness is set to zero.
Press to enter the mood light adjustment screen.
Press the “
” and “
” button to select 14 different mood light colors( the fourteenth is the color cycle mode) and OFF setting..
Press the ‘ – ‘ and ‘ + ‘ button to select 5 levels of brightness
Crackle Choice![]()
Press to open sound effect menu
Press“
” and “
”button to select 2 sound effect
Press’ – ‘and ‘+ ‘button to adjust 5 levels of volume and OFF.
Heater Mode![]()
Press to cycle through heat output options LOW-HIGH-OFF-AUTO.
Press the’ – ‘and ‘+ ‘ button to adjust the temperature you want the room to reach from 5 to 40 . ℃ ℃
To switch between ℃/℉,hold down the’ ‘ or ‘ ‘ buttons for 3 seconds.
NOTE: It is normal for the fan heater to stop running for periods of time.
This happens because the room temperature is at or above the temperature set on the remote control.
Timer Mode![]()
NOTE: This setting is only for operating in normal mode. It allows the appliance to go into standby after a set period of time.
Press to cycle through the settings from 0.5 hours to 10 hours, and then OFF.
Adaptive Start Control
Learning from the previous heating cycle enables the appliance to judge the appropriate advance time to turn on the heater to ensure that the set temperature is reached at the set time. For example, if your timer is set to start at 18:00 and temperature is set to 23°C, the fire may for example come on at 17:30 to ensure the room is 23°C at 18:00.
Window Open Detection
When the transmitter detects a rapid drop in room temperature, it will be judged as a window open, the warning icon will be displayed and the heater will be turned off automatically.
After the indoor temperature has risen or a manual override of the warning (by operating remote control) has been done, the fire will return to normal working state.
Important Safety Information for Remote Controls
To remove the batteries, open the back cover of the remote control to remove the batteries and replace with new one. Pay attention to the positive and negative poles.
Two AAA alkaline batteries are required for the remote control.
Exhausted batteries are to be removed from the appliance and safely disposed of.
This Non-rechargeable batteries are not to be recharged.
Different types of batteries or new and used batteries are not to be mixed.
Batteries are to be inserted with the correct polarity.
If the appliance is to be stored unused for a long period, the batteries should be removed.
The supply terminals are not to be short-circuited.
Resetting the Thermal Cut Out
The appliance is fitted with an Electronic Safety Control (E.S.). This is a safety device, which switches off the fire if, for any reason, the appliance overheats, e.g. when covered. If the heater stops operating while the flame effect continues working normally, this indicates that the E.S. Control is in operation. The E.S. Control can only be re-set after the appliance has cooled down, and the appliance has been reset. Re-setting of the E.S. Control proceeds is as follows:
- Switch off the appliance (Manual switch) and leave it of for approximately 10-15 minutes.
- Remove any obstruction to the fan heater outlet or fan blades etc. Make sure that the power supply is disconnected with the plug socket outlet while doing this.
- Switch on the appliance and the E.S. Control will be re-set.
- Ensure that the appliance is functioning correctly. If the E.S. Control operates a, the appliance should be checkered by a competent electrician.
APP Control
Visit your APP store for IOS or Android to download the C&Smartness APP.
Or use the QR code on the next page. Follow your devices onscreen instructions to create an account. Once installed, follow the procedure below to pair the device with your appliance.
- Start the APP and click “Add Device” on screen. Click “smart FIRE” ,then select WiFi network and enter the password. Note, your device must also be connected to the same home network what you wish to connect the appliance to.
- Ensure the appliance is powered on , then press and hold the Wi-Fi button on the appliance until you hear 3 beeps at EZ mode . At the same time, the WiFi indicator
and the fuel bed will blink. - Follow the instructions on APP to choose the EZ mode and confirm the indicator is flashing . Click Next and start to add the device.
If failed at EZ mode, try AP mode. Please press the Wi-Fi button, you will hear 3 beeps, then keep pressing until you hear another 5 beeps to enter AP mode. and then Follow the instructions on APP to choose the AP mode and confirm the indicator is flashing . Click “Go to Connect” and choose a Wi-Fi called “Smart Life-XXX” and start to add the device.
We have created a very detailed APP Operation Instruction and videos to guide you through the process how to load down the APP, Create an account , Pair your appliance to your smart phone and operate the appliance. Scan the QR code on the back of the remote to be taken to the Operation Instruction or the video.
![]() | ![]() |
| https://a.smart321.com/cnjsmartandroid | https://meta.box.lenovo.com/link/view/8829ced77f29452e96a83960e9530118?qrcode= |
MAINTENANCE
WARNING:
Before any maintenance or cleaning of the exterior of the appliance, the unit should be disconnected from the power supply remove supply plug from power socket or turn off and remove fuse from fused spur, wait until the appliance is cool.
Remote Controls Battery Replacement
7.1 When the batteries are at full power, the battery symbol will show
7.2 When the batteries are half full, the battery symbol will show
7.3 When the batteries are out of power and need replacing immediately, the battery symbol will show
Cleaning the Fireplace
Cleaning or polishing products are not recommended. Fingerprints or other marks on the front glass panel can be removed by a piece of soft, damp, lint free cloth with a good quality household glass cleaner. The front glass panel should always be completely dried with a clean, lint-free cloth or paper towel.
Caution: Abrasive cleaners should not be used on the glass panel. Liquids should not be sprayed directly onto any surface of the unit.
SERVICE PARTS LIST

| No. | ITEM | i750e Deep | i1000e Deep | i1250e Deep | ||||||
| Part No. | LED Model | QTY | Part No. | LED Model | QTY | Part No. | LED Model | QTY | ||
| 1 | Heater Unit | 8891 | 1 | 8891 | 1 | 8891 | 1 | |||
| 2 | LED Downright | 8955 | 1 | 8956 | 1 | 8608 | 1 | |||
| 3 | Motor | 8609 | 2 | 8609 | 2 | 8609 | 2 | |||
| 4 | Flame Screen | 8958 | 1 | 8959 | 1 | 8610 | 1 | |||
| 5 | Fuel Bed LED Board | 8064 | RC07-181A | 4 | 8611 | RC07-137A | 2 | 8611 | RC07-137A | 6 |
| 6 | Fuel Bed Effect Spindle | 8961 | 1 | 8889 | 1 | 8893 | 1 | |||
| 7 | Display Screen | 8962 | 1 | 8963 | 1 | 8613 | 1 | |||
| 8 | Front Glass | 8965 | 1 | 8966 | 1 | 8614 | 1 | |||
| 9 | Fuel Bed | 8968 | 1 | 8969 | 1 | 8615 | 1 | |||
| 10 | Fuel Bed Front LED Board | 8509 | RC07-225A | 4 | 8509 | RC07-225A | 4 | 8509 | RC07-225A | 4 |
| 11 | Remote Control | 8890 | 1 | 8890 | 1 | 8890 | 1 | |||
| 12 | Fuel Bed LED Board | / | 8666 | RC07-125A | 2 | / | ||||
| 13 | Fuel Bed LED Board | / | / | / | ||||||
| 14 | Power cord UK | 8825 | 1 | 8825 | 1 | 8825 | 1 | |||
| 15 | Flame Effect Spindle | 8971 | 1 | 8972 | 1 | 8625 | 1 | |||
| 16 | Flame Effect LED Board | 8974 | 8668 | RC07-167F | 1 | 8621 | RC07-224B | 1 | ||
| 17 | Flame Effect LED Board | / | / | 8620 | RC07-156B | 1 | ||||
| 18 | Flame Effect LED Board | / | 8616 | RC07-193C | 1 | 8616 | RC07-193C | 1 | ||
| 19 | Control Panel | 8886 | 1 | 8886 | 1 | 8886 | 1 | |||
| 20 | PCB Board | 8885 | 1 | 8885 | 1 | 8885 | 1 | |||
| 21 | Speaker | 8888 | 1 | 8888 | 1 | 8888 | 1 | |||
| 22 | Power Unit | 8892 | 1 | 8892 | 1 | 8892 | 1 | |||
| 23 | Side Glass Panel | 8975 | 2 | 8626 | 2 | 8626 | 2 | |||
| 24 | Side Metal Panel | 8976 | 2 | 8619 | 2 | 8619 | 2 | |||
| 25 | Edging Strips 1 | 8639 | 2 | 8639 | 2 | 8639 | 2 | |||
| 26 | Edging Strips 2 | 8977 | 2 | 8641 | 2 | 8641 | 2 | |||
| 27 | Edging Strips 3 | 8640 | 2 | 8640 | 2 | 8640 | 2 | |||
| 28 | Log Set | 8978 | 1 | 8979 | 1 | 8643 | 1 | |||
| 29 | Black Resin Embers | 8981 | 1 | 8982 | 1 | 8642 | 1 | |||
| No. | ITEM | i1500e Deep | i1800e Deep | i2200e Deep | ||||||
| Part No. | LED Model | QTY | Part No. | LED Model | QTY | Part No. | LED Model | QTY | ||
| 1 | Heater Unit | 8891 | 8891 | 8891 | ||||||
| 2 | LED Downright | 8644 | 8660 | 8957 | ||||||
| 3 | Motor | 8609 | 2 | 8609 | 2 | 8609 | 2 | |||
| 4 | Flame Screen | 8645 | 8661 | 8960 | ||||||
| 5 | Fuel Bed LED Board | 8611 | RC07-137A | 2 | 8611 | RC07-137A | 4 | 8611 | RC07-137A | 6 |
| 6 | Fuel Bed Effect Spindle | 8894 | 1 | 8895 | 1 | 8896 | 1 | |||
| 7 | Display Screen | 8647 | 1 | 8663 | 1 | 8964 | 1 | |||
| 8 | Front Glass | 8648 | 1 | 8664 | 1 | 8967 | 1 | |||
| 9 | Fuel Bed | 8649 | 1 | 8665 | 1 | 8970 | 1 | |||
| 10 | Fuel Bed Front LED Board | 8509 | RC07-225A | 4 | 8509 | RC07-225A | 4 | 8509 | RC07-225A | 4 |
| 11 | Remote Control | 8890 | 1 | 8890 | 1 | 8890 | 1 | |||
| 12 | Fuel Bed LED Board | / | 8666 | RC07-125A | 4 | 8666 | RC07-125A | 4 | ||
| 13 | Fuel Bed LED Board | 8650 | RC07-169A | 4 | / | / | ||||
| 14 | Power cord UK | 8825 | 1 | 8825 | 1 | 8825 | 1 | |||
| 15 | Flame Effect Spindle | 8651 | 1 | 8667 | 1 | 8973 | 1 | |||
| 16 | Flame Effect LED Board | 8621 | RC07-224B | 1 | 8668 | RC07-167F | 1 | 8668 | RC07-167F | 1 |
| 17 | Flame Effect LED Board | 8652 | RC07-167E | 1 | 8620 | RC07-156B | 2 | 8620 | RC07-156B | 3 |
| 18 | Flame Effect LED Board | 8653 | RC07-191C | 1 | 8616 | RC07-193C | 1 | 8616 | RC07-193C | 1 |
| 19 | Control Panel | 8886 | 1 | 8886 | 1 | 8886 | 1 | |||
| 20 | PCB Board | 8885 | 1 | 8885 | 1 | 8885 | 1 | |||
| 21 | Speaker | 8888 | 1 | 8888 | 1 | 8888 | 1 | |||
| 22 | Power Unit | 8887 | 1 | 8887 | 1 | 8887 | 1 | |||
| 23 | Side Glass Panel | 8626 | 2 | 8626 | 2 | 8626 | 2 | |||
| 24 | Side Metal Panel | 8619 | 2 | 8619 | 2 | 8619 | 2 | |||
| 25 | Edging Strips 1 | 8639 | 2 | 8639 | 2 | 8639 | 2 | |||
| 26 | Edging Strips 2 | 8641 | 2 | 8641 | 2 | 8641 | 2 | |||
| 27 | Edging Strips 3 | 8640 | 2 | 8640 | 2 | 8640 | 2 | |||
| 28 | Log Set | 8659 | 1 | 8671 | 1 | 8980 | 1 | |||
| 29 | Black Resin Embers | 8658 | 1 | 8658 | 1 | 8983 | 1 | |||
OTHERS
Environment
Meaning of crossed –out wheeled dustbin:
Electrical appliances should not be disposed as unsorted municipal waste. Separate collection facilities should be used in the disposal of electrical appliances. Contact your local government for the information about the available collection systems. If electrical appliances are disposed of in landfills or dumps, hazardous substances can leak into the groundwater and get into the food chain, damaging your health and well-being. When old appliances are replaced by the new ones, it is a legal oblige for the retailer to take back the old appliance for disposals at least free of charge.
This fire complies with the Safety Standards EN 60335-1 and EN 60335-2-30 which covers the essential requirements of the Low Voltage Directive 2014/35/EU and the EMC standards EN 550141; EN 55014-2; EN 61000-3-2 and EN 61000-3-3 which covers the essential requirements of the European Electra Magnetic Compatibility 2014/30/EU, and the RED standards EN300220-2, EN301489-1, EN301489-3 and EN6247 which covers the essential requirements of the European Radio Equipment Directive 2014/53/EU.
This fire complies with the Safety Standards BS 60335-1 and BS 60335-2-30 which covers the essential requirements of the Electrical Equipment (Safety) Regulations 2016 (S.I.2016/1101) and the EMC standards BS 55014-1; BS 55014-2; BS 61000-3-2 and BS 61000-3-3 which covers the essential requirements of the Electromagnetic Compatibility Regulations 2016(S.I.2016/1091). and the RED standards BS300220-2, BS301489-1,BS301489-3 and BS 6247 which covers the essential requirements of the European Radio Equipment Regulations 2017.
Charlton & Jen rick Ltd
Unit D, Stafford Park 2, Tel ford, Shropshire, TF3 3AR
Tel: +44 1952 200 444 Fax :+44 1952 200 480
www.charltonandjenrick.co.uk
Firebox (1pc)
ST4*8 Screw (5pcs)
ST5*40 Screw (18pcs)
ST4*40 Screw (4pcs)
Wall Plug (18pcs)
Power Cord Bracket (1pc) (Installer must fit before leaving appliance)
Lower Brackets (2pcs) (To be used when the wall handing bracket(J) is used)
Edging Strips (2pcs)
Edging Strips (2pcs)
Wall hanging bracket is attached on firebox (1pc) Remove from the appliance if you are not fixing to wall
Sucker c
Power Cord (1pc)
Power Cord EU (1pc)
Plaster Logs (1set)
Black Glass (1set)
Vermiculite (1set)
Remote (1pc)
AAA Battery (2pcs)
Instruction Manual (1pc)
Simple Instruction (1pc)






















![Charlton & Jenrick Led Electric Fireplace User Manual [polaris 840/1000/1600] Charlton & Jenrick Led Electric Fireplace User Manual [polaris 840/1000/1600]](https://static-data1.manualsee.com/1/img/161/68197/2021/02/Charlton-amp-Jenrick-LED-Electric-Fireplace-User-Manual-Polaris-84010001600.jpg)