vente-unique TOMASO Garden Chest Instruction Manual
WARNING: Need timely maintenance to make sure construction is strong.
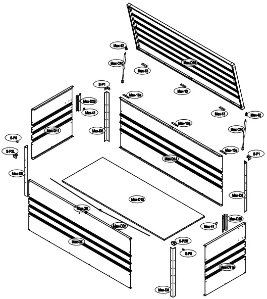
Dimension


| NO. | IMAGE | mm | QTY | |
| Max-D7 | ![]() | 1680 | x1 | |
| Max-014 | 1680 | x1 | ||
| Max-D11 | 667 | x1 | ||
| Max-D11a | 667 | x1 | ||
| Max-D16 | 1736 | x1 | ||
| Max-D8 | 694.5 | x4 | ||
| Max-D15 | ![]() | 1680 | x1 | |
| Max-D31 | x1 | |||
| Max-13 | x3 | |||
| Max-13a | x3 | |||
| Max-D29 | x2 | |||
| Max-30 | x1 | |||
| Max-C40 | x2 | |||
| Max-41 | x2 | |||
| Max-42 | x2 | |||
| S-P1 | c3 :73 | x2 | ||
| S-P2L | x1 | |||
| S-P2R | x1 | |||
| S-P5 | x2 | |||
| Max-D51 | st4x10 | x27 | ||
| Max-D52 | M5x8 | x61 | ||
| Max-D53 | M5x78 | x3 | ||
| Max-D55 | M44 | x6 | ||
| Max-D56 | M5x8 | x4 | ||
Installation



























