BRADFORD WHITE LT199NXX1 Outdoor Vent Kit

FOR YOUR SAFETY: This product must be installed and serviced by a professional service technician, qualified in hot water boiler and heater installation and maintenance. Improper installation and/or operation could create carbon monoxide gas in flue gases which could cause serious injury, property damage, or death. Improper installation and/or operation will void the warranty.
WARNING
If the information in this manual is not followed exactly, a fire or explosion may result causing property damage, personal injury, or loss of life. Do not store or use gasoline or other flammable vapors and liquids in the vicinity of this or any other appliance.
WHAT TO DO IF YOU SMELL GAS
- Do not try to light any appliance.
- Do not touch any electrical switch; do not use any phone in your building.
- Immediately call your gas supplier from a nearby phone. Follow the gas supplier’s instructions.
- If you cannot reach your gas supplier, call the fire department.
- Installation and service must be performed by a qualified installer, service agency, or gas supplier.
Included Items
Outdoor Kit Components
Outdoor Kit Dimension
Outdoor Installation Location
WARNING
Carefully consider installation when determining the water heater location. Please read the entire installation manual and these instructions before attempting installation. Failure to properly take factors such as piping, condensate removal, venting, and wiring into account before installation could result in wasted time, money, and possible property damage, personal injury, or death. The outdoor kit is meant for use in outdoor installations ONLY. DO NOT install the water heater with an outdoor kit indoors. Installing the water heater with an outdoor kit indoors will result in improper water heater operation and property damage, and WILL RESULT IN PERSONAL INJURY OR DEATH. Outdoor Installation Area Operating Conditions. Prevent the air from becoming contaminated by the products, places, and conditions listed in the water heater installation manual.
WARNING
Incorrect ambient conditions can lead to damage to the heating system and put the safe operation at risk. Ensure that the installation location adheres to the information included in this manual. Failure to do so could result in property damage, serious personal injury, or death. Failure of heater or components due to incorrect operating conditions IS NOT covered by product warranty. The water heater must be installed as described in these instructions: Upright, with the supplied outdoor enclosure in the vertical position. DO NOT attempt to install the water heater in any other orientation. Failure to follow these instructions will result in improper water heater operation and property damage, and could result in serious personal injury or death.
Check for nearby connections to
- System water piping
- Venting connections
- Gas supply piping
- Electrical power
- Condensate drain
Note
The manufacturer reserves the right to make changes to the installation and instruction manual without notice.
CAUTION
Install the water heater where any leakage from the relief valve, related piping, or connections will not result in damage to surrounding areas, lower floors of the building, or pool on the ground and freeze. The water heater should be located near a drain or piped to a drain. Leakage damages ARE NOT covered by warranty.
Check the surroundings of a water heater. Remove any combustible materials, gasoline, and other flammable liquids.
WARNING
Failure to keep the water heater area clear and free of combustible materials, liquids, and vapors can result in substantial property damage, severe personal injury, or death. If the water heater is to replace an existing heater, check for and correct any existing system problems, such as:
- System leaks
- The location that could cause the system and heater to freeze and leak
- Incorrectly sized expansion tank
- Clean and flush the system when installing a new water heater.
CAUTION
Do not connect the water heater to any heating systems or components that have been previously used for nonpotable applications. Do not introduce toxic chemicals, such as antifreeze or water heater treatments, into the water heater or any piping meant for potable purposes. Ensure that all piping and components connected to the water heater are suitable for potable water applications.
CAUTION
The water heater must be installed level in order for the condensate to properly flow out of the collection system.
Installation Clearances
Outdoor Installation Clearances [ Table 1 ]
| Outdoor Installation | |
| TOP | 36″ (914 mm) |
| BACK | 1″ (25.4 mm) |
| FRONT | 24″ (610 mm) |
| SIDE | 4″ (102 mm) |
| BOTTOM | 12″ (305 mm) |
Note
The outdoor enclosure for this appliance is approved for zero clearance to combustible construction.
If the water heater is installed in a narrow space or corner ensure that there is sufficient space for service.
multiple water heater installations, ensure a minimum clearance of 32″ from the top of one water heater to the bottom of the next water heater, and a minimum clearance of 4″ from the side of the water heater to the next water heater.
WARNING
Do not locate the water heater where exposed to prevailing winds. Moisture will be produced by the exhaust vent. Take precautions when determining the water heater location. Moisture may fall from the vent termination to the ground and turn to ice in freezing conditions. Moisture or ice can produce hazardous conditions. Exhaust condensate is acidic and could deteriorate the surface below the exhaust vent termination. Ensure this surface is in good repair (sealed, painted, etc.) to prevent deterioration. Failure to follow these instructions could result in substantial property damage, serious personal injury, or death.
Prevent Combustion Air Contamination
Do not install the outdoor water heater in locations that can allow contamination of fresh intake air.
Note
See Table 2 to prevent combustion air contamination.
WARNING
Ensure that the intake air will not contain any of the contaminants in Table 2. Contaminated air will damage the heater, resulting in possible substantial property damage, severe personal injury, or death. For example, do not pipe intake air near a swimming pool or laundry facility. These areas always contain contaminants [ Table 2 ]
| Products to Avoid | Areas Likely to Have Contaminants | ||
| Spray cans containing fluorocarbons | Refrigerant leaks | Dry cleaning / laundry areas and establishments | Auto body shops |
| Permanent wave solutions | Paint or varnish removers | Swimming pools | Plastic manufacturing plants |
| Chlorinated waxes / cleaners | Hydrochloric or Muriatic acid | Metal fabrication plants | Furniture refinishing areas and establishments |
| Chlorine-based swimming pool chemicals | Cements and glues | Beauty shops | New building construction |
| Calcium chloride used for thawing Refrigeration | Antistatic fabric softeners used in clothes dryers | Refrigeration repair shops | Remodeling areas |
| Sodium chloride used for water softening | Chlorine-type bleaches, laundry detergents, and cleaning solvents | Photo processing plants | Garages and workshops |
| Adhesives used to fasten | |||
DAMAGE TO THE HEATER CAUSED BY EXPOSURE TO CORROSIVE VAPORS IS NOT COVERED BY WARRANTY.(Refer to the limited warranty for complete terms and conditions.)
Freeze Protection
CAUTION
This water heater is designed to automatically prevent freezing. This freeze protection is not effective if the power fails. In order for freeze protection
to operate, the water heater must have electrical power, gas, and water and the main switch must be on.
Note
Damages resulting from incorrect installation or from the use of products not approved by the manufacturer ARE NOT covered by warranty.
Clearance Requirements from Vent Terminations to Building Openings
Non-Direct Venting (Single Pipe) Clearances
| Description | US Non-Direct | Canadian Non-Direct | |
| A = | Clearance above grade, veranda, porch, deck, or balcony | 12 in (30 cm) | 12 in (30 cm) |
| B = | Clearance to window or door that may be opened | 48 in (120 cm) below or to side of opening; 12 in (30 cm) above opening | 36 in (91 cm) |
| C = | Clearance to permanently closed window | * | * |
| D = | Vertical clearance to ventilated soffit located above the terminal within a horizontal distance of 2 feet from the center line of the termina | * | * |
| E = | Clearance to unventilated soffit | * | * |
| F = | Clearance to outside corner | * | * |
| G = | Clearance to inside corner | * | * |
| H = | Clearance to each side of center line extended above meter / regulator assembly | * | 36 in (91 cm) within a height 15 ft (4.57 m) above the meter/ regulator assembly |
| I = | Clearance to service regulator vent outlet | * | 36 in (91 cm) |
| J = | Clearance to non-mechanical air supply inlet to building or the combustion air inlet to any other appliance | 48 in (120 cm) below or to side of opening; 12 in (30 cm) above opening | 36 in (91 cm) |
| K = | Clearance to a mechanical air supply inlet | 36 in (91 cm) above if within 10 ft (3 m) horizontally | 6 ft (1.83 m) |
| L = | Clearance above paved sidewalk or paved driveway located on public property | * | 7 ft (2.13 m) |
| M = | Clearance under veranda, porch, deck or balcony | * | 12 in (30 cm) |
Additional Clearance
| Descriptions | Minimum Distances |
| Clearance to ventilated or unventilated soffit or eve vent | 36″ (914 mm) |
| Clearance between vertical vents | 60″(1,520mm) |
| Clearance to inside corner | 12″ (305 mm) |
| Clearance between horizontal water heaters | 4″ (100 mm) |
| Clearance under veranda, porch deck, or balcony. | 12″ (305 mm) |
| Clearance above ground | 12″ (305 mm) |
Installing the Outdoor Enclosure
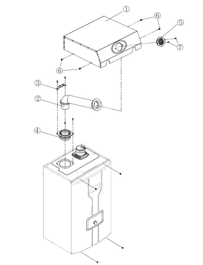
- Remove the Existing Exhaust Adapter by removing the 4 screws and pulling up on the adapter.
- Insert the Exhaust Pipe into the VCK Exhaust Adapter.

- Insert the VCK Exhaust Adapter and secure the front 2 screws (re-use the 2 screws that were removed in Step 1)
- Install the Exhaust Pipe Retainer using 2 screws (re-use the 2 screws that were removed in Step 1), securing the Exhaust Pipe in place.

- Use a Phillips screwdriver to loosen the front 2 hex head screws and remove back 2 hex head screws on side of the unit. Place the Outdoor Vent Cap on the unit. Make sure the gasket is applied inside of the Outdoor Vent Cap.
- Insert the Bird Screen into the Exhaust Pipe and secure with 2 screws [⑦ Philips Head Tap ping Screw (M4 x16)] to the Outdoor Vent Cap.

- Use a Phillips screwdriver to tighten the 4 screws Hexagon Head with Flange Tapping Screw (M4 x12)] to secure the Outdoor Vent Cap.

Do not over-tighten. Use hand screwdrivers only.
Part List 
| No. | Description | Part Number | No. | Description | Part Number |
| ① | Outdoor Vent Cap (w/ Plate and Packing) | ⑤ | Bird Screen with Finishing | ||
| ② | Exhaust Pipe | ⑥ | Hexagon Head with Flange Tapping Screw (M4 x12) | ||
| ③ | Exhaust Pipe Retainer | ⑦ | Philips Head Tapping Screw (M4 x16) | ||
| ④ | VCK Exhaust Adapter (w/ P75 O-ring and Packing) |
Dimensions and specifications subject to change without notice in accordance with our policy of continuous product improvement.
BRADFORD WHITE LT199NXX1 Outdoor Vent Kit





















