
TYPE B GAS VENT CATALOG
MODEL R
Type B Gas Vent
Large Diameter

FUEL TYPE:
Gas
US AND CANADA
System Design and Installation Guides
Before laying out a gas vent system for any gas appliance, the installer should first consult the local code and the appliance manufacturer’s installation requirements. Only then should you pick components and design the vent system. Selkirk offers pipe sizes and adjustable components to provide maximum design flexibility.
TYPE B
Selkirk Type B Gas Vent (Sizes 10″ through 30″ round) may be installed with the following minimum clearance to combustibles:
- US clearance to combustible all diameters = 1″
- Canada clearance to combustibles: 10″- 24″= 1″ 26″- 30″= 2″
To graphically illustrate the use of Model R components in typical installations, we offer the diagrams on the next page.
To guide you in these and other installations, the following general rules should be followed.
- Provide adequate air supply. Remember, you must meet local code minimum requirements for both combustion air and draft hood dilution air.
- Attach vent to appliance’s draft hood or attachment collar with sheet metal screws and terminate the vent at least 5 feet above the draft hood. See Gas Vent Termination Table on page 9 for required height above roof.
- One gas vent may serve more than one gas appliance. Prudent advance planning (see diagrams on next page) can save you time.
- Keep offsets and lengths of laterals to a minimum to reduce vent resistance.
- Strap the vent securely in position, always maintaining appropriate clearance to combustibles. Firestops should be used where vents pass through floors, walls, or ceilings.
- The vent termination must be securely guyed or braced if it extends more than 5 feet above the roof.
- For long lasting durability and better appearance, all vents exposed to the weather (except caps) should be painted.
- Vents installed outside of the structure reduce venting action. Such installations are not recommended.
Typical Selkirk Type B Gas Vent Installations


INTRODUCTION
Selkirk Model R Large Diameter Type B Gas Vent was designed with the installer in mind and to endure the elements. Lightweight construction with a small footprint, Selkirk Model R will deliver when space is tight but performance is essential. Easy to connect and assemble, you can count on a secure fit when installing Selkirk Model R.
Selkirk’s Model R Type B Gas Vent is listed and approved by UL for residential, commercial, and industrial applications. Selkirk Model R provides a continuous passageway from a Category 1 gas appliance, such as water heaters, boilers, and furnaces, to the termination of the vent above the roof of a structure.
Some of the safety features within Model R includes:
- Double wall construction with ½” air space
- Clearance to combustible standards of:
- 1″ in the United States for all diameters
- 1″ in Canada for diameters 10″ to 24″
- 2″ in Canada for diameters 26″ to 30″
- Galvanized steel outer wall construction for exceptional corrosion resistance *exterior applications must be painted in Canada*
- Aluminum inner wall construction to keep flue gases hot
![]() | ![]() |
Model R is to be installed in single and multi-story buildings in accordance with the following Natural Gas & Propane Codes:
USA: NFPA 54
CANADA: CAN/CSA B149.1 & .2
Selkirk Model R is accepted by: AGA, NFPA, HUD, NBC, UBC
Why Selkirk Model R?
Lightweight
We keep the connections clean to reduce the weight of the pipe making installation a SNAP (twist-snap that is).
Smaller footprint
Clean connections coupled with a ½” air space tighten the diameter of the pipe to create a solid connection suitable for tight spaces.
Easy to connect
Model R’s snap lock coupling system creates a secure, confident connection. Simply align the seams, twist, and SNAP ready to go!
Backed by an exceptional warranty
We are so confident in Selkirk Model R’s ability to satisfy, we’ve backed it by the industry’s finest warranty, the Smart Choice Warranty.
Lengths
ROUND PIPE

| Size | Code | Part # | O.D. (A) | I.D. (B) | C | D |
| 10″ | 2003617 | 10R3-S | 11″ | 10″ | 35″ | 36″ |
| 2003616 | 10R24-S | 11″ | 10″ | 23″ | 24″ | |
| 2003615 | 10R18-S | 11″ | 10″ | 17″ | 18″ | |
| 2003614 | 10R12-S | 11″ | 10″ | 11″ | 12″ | |
| 12″ | 2003636 | 12R3-S | 13″ | 12″ | 35″ | 36″ |
| 2003635 | 12R24-S | 136 | 12″ | 23″ | 24″ | |
| 2003634 | 12R18-S | 13″ | 12″ | 17″ | 18″ | |
| 2003633 | 1 2R12-S | 136 | 12″ | 1 I “ | 12″ | |
| 14″ | 2003674 | 14R3-S | 15″ | 14″ | 35″ | 36″ |
| 2003673 | 14R24-S | 15″ | 14″ | 23″ | 24″ | |
| 2003672 | 14R18-S | 15″ | 14″ | 17″ | 18″ | |
| 2003671 | 14R I 2-S | 15″ | 14″ | 11″ | 12″ | |
| 16″ | 2003692 | 16R3-S | 17″ | 16″ | 35″ | 36″ |
| 2003691 | 16R24-S | 17″ | 16″ | 23″ | 24″ | |
| 2003690 | 16R18-S | 17″ | 16″ | 17″ | 18″ | |
| 2003689 | 16R12-S | 17″ | 16″ | 1 I “ | 12″ | |
| 18″ | 2003710 | 18R3-S | 19″ | 18″ | 35″ | 36″ |
| 2003709 | 18R24-S | 19″ | 18″ | 23″ | 24″ | |
| 2003708 | 18R18-S | 19″ | 18″ | 17″ | 18″ | |
| 2003707 | 18R12-S | 19″ | 18″ | 11″ | 12″ | |
| 20″ | 2003728 | 20R3-S | 21″ | 20″ | 35″ | 36″ |
| 2003727 | 20R24-S | 21° | 20″ | 23″ | 24″ | |
| 2003726 | 20R18-S | 21″ | 20″ | 17″ | 18″ | |
| 2003725 | 20R12-S | 21° | 20″ | 11″ | 12″ | |
| 22″ | 2003746 | 22R3-S | 23″ | 22″ | 35″ | 36″ |
| 2003745 | 22R24-S | 23″ | 22″ | 23″ | 24″ | |
| 2003744 | 22R18-S | 23″ | 22″ | 17″ | 18″ | |
| 2003743 | 22R12-S | 23″ | 22″ | 11″ | 12″ | |
| 24″ | 2003764 | 24R3-S | 25″ | 24″ | 35″ | 36″ |
| 2003763 | 24R24-S | 25″ | 24″ | 23″ | 24″ | |
| 2003762 | 24R18-S | 25″ | 24″ | 17″ | 18″ | |
| 2003761 | 24R12-S | 25″ | 24″ | 11″ | 12″ | |
| 26″ | 2003781 | 26R3-S | 27″ | 26″ | 35″ | 36″ |
| 2003780 | 26R24-S | 27″ | 26″ | 23″ | 24″ | |
| 2003779 | 26R18-S | 27″ | 26″ | 17″ | 18″ | |
| 2003778 | 26R12-S | 27″ | 26″ | 11″ | 12″ | |
| 28″ | 2003797 | 28R3-S | 29″ | 28″ | 35″ | 36″ |
| 2003796 | 28R24-S | 29″ | 28″ | 23″ | 24″ | |
| 2003795 | 28R18-S | 29″ | 28″ | 17″ | 18″ | |
| 2003794 | 28R12-S | 29″ | 28″ | 11″ | 12″ | |
| 30″ | 2003812 | 30R3-S | 31″ | 30″ | 35″ | 36″ |
| 2003811 | 30R24-S | 31″ | 30″ | 23″ | 24″ | |
| 2003810 | 30R18-S | 31″ | 30″ | 17″ | 18″ | |
| 2003809 | 30R12-S | 31″ | 30″ | 11″ | 12″ |
Adjustable Length
Used in combination with a straight length of pipe to assure an exact length can be achieved.
| Code | Part # | Size | Min. Length A | Max. Length B |
| 2003618 | 10R18AS | 10″ | 3″ | 16″ |
| 2003637 | 12R18A-S | 12″ | 3″ | 16″ |
| 2003675 | 14R18A-S | 14″ | 5″ | 16″ |
| 2003693 | 16R18A-S | 16″ | 5″ | 16″ |
| 2003711 | 18R18A-S | 18″ | 5″ | 16″ |
| 2003729 | 20R18A-S | 20″ | 5″ | 16″ |
| 2003747 | 22R18A-S | 22″ | 5″ | 16″ |
| 2003765 | 24R18A-S | 24″ | 5″ | 16″ |
| 2003782 | 26R18A-S | 26″ | 5″ | 16″ |
| 2003798 | 28R18AS | 28″ | 5″ | 16″ |
| 2003951 | 30R18AS | 30″ | 5″ | 16″ |

Elbow and Tees
45˚ ELBOW

- Elbows are used to offset installation to avoid obstructions such as rafters and joists
- Size 10″ through 14″ adjust easily from 0° to 45°
- Sizes 16″ through 30″ are non-adjustable
- See the Gas Vent Offset Table on page 14
| Code | Part # | Size | A | B | Adjustable |
| 2003623 | 10R45-S | 10″ | 5-7/8″ | 5-3/8″ | 0° – 45° |
| 2003641 | 12R45-S | 12″ | 6″ | 5-3/8″ | 0° – 45° |
| 2003680 | 14R45-S | 14″ | 6-5/8″ | 6-1/2″ | 0° – 45° |
| 2003698 | 16R45-S | 16″ | 7″ | 7″ | NON |
| 2003716 | 18R45-S | 18″ | 7-1/2″ | 7-1/2″ | NON |
| 2003734 | 20R45-S | 20″ | 8″ | 7-5/8″ | NON |
| 2003752 | 22R45-S | 22″ | 8-1/2″ | 8-5/8″ | NON |
| 2003769 | 24R45-S | 24″ | 8-5/8″ | 8-15/16″ | NON |
| 2003785 | 26R45-S | 26″ | 9″ | 9″ | NON |
| 2003800 | 28R45-S | 28″ | 9-1/2″ | 9″ | NON |
| 2004004 | 30R45-S | 30″ | 10″ | 10″ | NON |
TEE

- A tee transitions a system from horizontal to vertical orientation.
- Provides easy access for inspection and maintenance.
- Tee Cap sold separately.
- Branch and trunk diameters of the standard tee are the same size.
| Code | Part # | Size | A | B |
| 2003629 | 1ORT-S | 10″ | 16″ | 8-1/16″ |
| 2003647 | 12RT-S | 12″ | 17-9/16″ | 9-3/4″ |
| 2003686 | 14RT-S | 14″ | 24″ | 11-3/4″ |
| 2003704 | 16RT-S | 16″ | 26″ | 13″ |
| 2003722 | 18RT-S | 18″ | 28-1/2″ | 14-1/4″ |
| 2003740 | 2ORT-S | 20″ | 30″ | 15-1/2″ |
| 2003758 | 22RT-S | 22″ | 33″ | 16-3/4″ |
| 2003775 | 24RT-S | 24″ | 36″ | 18″ |
| 2003791 | 26RT-S | 26″ | 38″ | 19″ |
| 2003806 | 28RT-S | 28″ | 40″ | 20″ |
| 2003818 | 3ORT-S | 30″ | 42″ | 21″ |
- The Tee Cap is used to close the bottom or branch of the Tee.
- Removable for easy system maintenance.
| Code | Part it | Size |
| 2003630 | lORTC-S | 10″ |
| 2003648 | 12RTC-S | 12″ |
| 2003687 | 14RTC-S | 14″ |
| 2003705 | 16RTC-S | 16″ |
| 2003723 | 18RTC-S | 18″ |
| 2003741 | 2ORTC-S | 20″ |
| 2003759 | 22RTC-S | 22″ |
| 2003776 | 24RTC-S | 24″ |
| 2003792 | 26RTC-S | 26″ |
| 2003807 | 28RTC-S | 28″ |
| 2003819 | 3ORTC-S | 30″ |
TEE CAP

Rain Cap
- Used as a ventilation cap as well as a Type B gas vent termination.
- Protects against wind conditions that can cause gases to spill back into the structure.
- Reference the Gas Vent Termination Table on page 14, for minimum height requirement above the roof line.
| Code | Part # | Size | A | B |
| 2003822 | 10CS | 10″ | 15-3/4″ | 7.1/2″ |
| 2003823 | 12C-S | 12″ | 19″ | 9″ |
| 2003682 | 14C-S | 14″ | 22″ | 11″ |
| 2003700 | 16C-S | 16″ | 25″ | 12″ |
| 2003718 | 18C-S | 18″ | 28-1/4″ | 13-1/2″ |
| 2003736 | 20C-S | 20″ | 314/2″ | 15″ |
| 2003754 | 22C-S | 22″ | 34-1/2″ | 16-1/2″ |
| 2003771 | 24C-S | 24″ | 37-3/4″ | 18″ |
| 2003787 | 26C-S | 26″ | 42″ | 19-1/2″ |
| 2003802 | 28C-S | 28″ | 44″ | 21″ |
| 2003814 | 30C-5 | 3O” | 48″ | 224/2″ |
MODEL C UNIVERSAL CAP

Connector and Increaser
DRAFT HOOD CONNECTOR

- Connects Type B gas vent directly to an appliance draft hood.
- Connects single wall connector pipe to B vent.
| Code | Part # | Size |
| 2003625 | 10RDC-S | 10″ |
| 2003643 | 12RDC-S | 12″ |
INCREASER

- The increaser is used to increase the vent size
- The maximum increase is 4 sizes
| Size | Code | Part # | O.D. (A) | B |
| 6″ | 6″ to 10″ | 106370 | 6RV-IRIO | |
| 7″ | 7″ to 10″ | 107370 | 7RV-IR I 0 | |
| 7″ to 12″ | 107371 | 7RVIR12 | ||
| 8″ | 8″ to 10″ | 108370 | 8RV-IR I 0 | |
| 8 to 12″ | 108371 | 8RV-IR12 | ||
| 8 to 14″ | 108372 | 8RV-IR14 | ||
| 10″ | 10″ to 16″ | 2003621 | 1 ORIX16-S | 7″ |
| 10″ to 18″ | 2003622 | I ORIX18-S | 7″ | |
| 12″ | 12″ to 14″ | 2003638 | 12RIX14-S | 7″ |
| 12″ to 16″ | 2003639 | 12RIX16-S | 7″ | |
| 12″ to 18″ | 2003640 | 12RIX18S | 7″ | |
| 12″ to 20″ | 2003821 | 12RIX20-S | 7″ | |
| 14″ | 14″ to 16″ | 2003676 | 14RIX16-S | 7″ |
| 14″ to 18″ | 2003677 | 14RIX18-S | 7″ | |
| 14″ to 20″ | 2003678 | 14R1X20-S | 7″ | |
| 14″ to 22″ | 2003679 | I 4RIX22-S | 7″ | |
| 16″ | 16″ to 22″ | 2003696 | 16R1X22-S | 7″ |
| 16″ to 18′ | 2003694 | 16R1X18-S | 7″ | |
| 16″ to 20″ | 2003695 | 16R1X20-S | 7″ | |
| 18″ | 18″ to 20′ | 2003712 | 18R1X20-S | 7″ |
| 18″ to 22″ | 2003713 | 18R1X22-S | 7″ | |
| 18″ to 24′ | 2003714 | 18R1X24-S | 7″ | |
| 18″ to 26″ | 2003715 | 18R1X26-S | 7″ | |
| 20″ | 20″ to 22″ | 2003730 | 20R1X22-S | 7″ |
| 20″ to 24″ | 2003731 | 20R1X24-S | 7″ | |
| 20″ to 26′ | 2003732 | 20R1X26-S | 7″ | |
| 20″ to 28″ | 2003733 | 20R1X28-S | 7″ | |
| 22″ | 22″ to 24′ | 2003748 | 22R1X24-S | 7° |
| 22″ to 26″ | 2003749 | 22R1X26-S | 7″ | |
| 22″ to 28′ | 2003750 | 22R1X28-S | 7″ | |
| 22″ to 30″ | 2003751 | 22R1X30-S | 7″ | |
| 24″ | 24″ to 26′ | 2003766 | 24R1X26-S | 7″ |
| 24″ to 28″ | 2003767 | 24R1X28-S | 7″ | |
| 24″ to 30′ | 2003768 | 24R1X30-S | 7″ | |
| 26″ | 26″ to 28″ | 2003783 | 26R1X28-S | 7″ |
| 26″ to 30′ | 2003784 | 26R1X30-S | 7″ | |
| 28″ | 28″ to 30″ | 2003799 | 28R1X30-S | 7″ |
Supports
SUPPORT BRACKET ASSEMBLY

Hangers provide support and resupport for offsets and horizontal.
| Code | Part # | Pipe Size | A |
| 2003632 | 8HS-SBA-S | 10″ | 11″ |
| 2003650 | 10FB-SBA-S | 12″ | 13″ |
For diameters larger than 12″ use Plumber’s Strap.
VENT COLLAR

The vent collar provides a cover for rough wall openings.
| Code | Part # | Size | A |
| 2003824 | 10RVC-S | 10″ | 20-7/8″ |
| 2003825 | 12RVC-S | 12″ | 22-7/8″ |
WALL THIMBLE

- Used to install pipe through an interior wall
- Maintains proper clearance from combustibles
- The wall thimble adjusts for various wall thicknesses from 4″ to 7″
| Code | Part # | Size | A |
| 2003978 | 10RWT-S | 10″ | 11-1/16″ |
| 2003827 | 12RWT-S | 12″ | 13-1/16″ |
SUPPORT PLATE

- The support plate is designed to provide strength and durability for supporting large size pipe sections
- Serves as a firestop
- Supports up to 30′ of pipe
| Code | Part # | Size | A | B |
| 2003627 | 1 ORSP-S | 10″ | 18″ | 10-5/8″ |
| 2003645 | 12RSP-S | 12″ | 20″ | 12-5/8″ |
| 2003684 | 14SP-S | 14″ | 22″ | 14.5/8″ |
| 2003702 | 16SP-S | 16″ | 24″ | 16-5/8″ |
| 2003720 | 18SP-S | 18″ | 26″ | 18-5/8″ |
| 2003738 | 20SP-S | 20″ | 28″ | 20-5/8″ |
| 2003756 | 22SP-S | 22″ | 30″ | 22-5/8″ |
| 2003773 | 24SP-S | 24″ | 32″ | 24-5/8″ |
| 2003789 | 26SP-S | 26″ | 34″ | 26-5/8″ |
| 2003804 | 28SP-S | 28″ | 36″ | 28-5/8″ |
| 2003816 | 30SP-S | 30″ | 38″ | 30.5/8″ |
Flashings and Storm Collars
STANDARD FLASHING

- Fits flat to 6/12 pitch roof
- Built with double-seamed construction for protection from leakage
| Code | Part # | Size | A | B |
| 2003624 | 1ORF-S | 10″ | 24-1/8″ | 24-1/8″ |
| 2003642 | 12RF-S | 12″ | 25-1/16″ | 25-1/16″ |
| 2003681 | 14F-S | 14″ | 28″ | 28″ |
| 2003699 | 16F-S | 16″ | 30-5/32″ | 30-1/8″ |
| 2003717 | 18F-S | 18″ | 31-1/2″ | 31-1/2″ |
| 2003735 | 20E-S | 20″ | 34″ | 34″ |
| 2003753 | 22F-S | 22″ | 34-1/2″ | 34-1/2″ |
| 2003770 | 24F-S | 24″ | 37″ | 37″ |
| 2003786 | 26F-S | 26″ | 43″ | 43″ |
| 2003801 | 28F-S | 28″ | 45″ | 45″ |
| 2003813 | 30E-S | 30″ | 46″ | 46″ |
TALL CONE FLASHING

- Used on flat roofs in snow-packed areas to reduce chances of snow covering the vent
- The flashing with a tall cone fits flat to 1/12 roof pitches
| Code | Part # | Size | A I.D. | B I.D. | C |
| 2003631 | IORFT-S | 10″ | 11-1/8″ | 16″ | 24.1/8″ |
| 2003649 | 12RFT-S | 12″ | 13-1/8″ | 16″ | 24-1/8″ |
| 2003688 | 14F1-S | 14″ | 15-9/16″ | 19-5/16″ | 27″ |
| 2003706 | 16FT-S | 16″ | 17-9/16″ | 19-5/16″ | 30″ |
| 2003724 | 18FIS | 18″ | 19-9/16″ | 23-9/16″ | 32-5/16″ |
| 2003742 | 20FIS | 20″ | 21-9/16″ | 23-9/16″ | 36″ |
| 2003760 | 22FT5 | 22″ | 23.9/16″ | 27-9/16″ | 39″ |
| 2003777 | 24FT-S | 24″ | 25-9/16″ | 27-9/16″ | 40″ |
| 2003793 | 26F1-S | 26″ | 27-9/16″ | 31-9/16″ | 43″ |
| 2003808 | 28FT-S | 28″ | 29-9/16″ | 31-9/16″ | 45″ |
| 2003820 | 30FT-S | 30″ | 31-9/16″ | 37.1/16″ | 46″ |
ADJUSTABLE STORM COLLAR

- Used to provide weather strip seal to pipe above flashing
- Seal the inner edge with sealant against pipe
| Code | Part # | Size | I.D. (A) | O.D. (B) | C |
| 2003628 | 1 ORSC-S | 10″ | 11″ | 14-1/2″ | 1-3/4″ |
| 2003646 | 12RSC-S | 12″ | 13° | 16-1/2″ | 1-3/4″ |
| 2003685 | I 43C-S | 14″ | 15″ | 18-1/2″ | 1-15/16″ |
| 2003703 | 16SC-S | 16″ | 17″ | 21-1/4″ | 2-1/8″ |
| 2003721 | I 8SC-S | 18″ | 19″ | 23-3/4″ | 2-5/16″ |
| 2003739 | 203C-S | 20″ | 21″ | 25-15/16″ | 2-1/2″ |
| 2003757 | 22SC-S | 22″ | 23″ | 28-5/16″ | 2-11/16″ |
| 2003774 | 24SC-S | 24″ | 25° | 30-11/16° | 1-7/8″ |
| 2003790 | 26SC-S | 26″ | 27″ | 33-1/16″ | 3-1/16″ |
| 2003805 | 28SC-S | 28″ | 29° | 35-1/16″ | 3-1/4″ |
| 2003817 | 30SC-S | 30″ | 31″ | 37-1/16″ | 3-7/16″ |
Tables
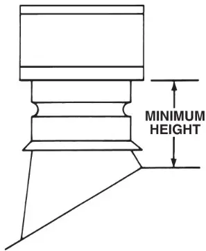
GAS VENT TERMINATION TABLE

Caps in 10″ through 12″ sizes may be installed in accordance with the Gas Vent Termination Table if the vent is at least 8′ from any vertical wall.
For installation of caps 14″ and larger, or for caps that are less than 8′ from a vertical wall, the cap is to be located no less than 2′ above the highest point where the vent passes through the roof and at least 2′ higher than any portion of a building within 10′.
10″ and 12″ Diameter Caps
| Roof Pitch | Minimum Height |
| flat to 7/12 | 1.0 feet |
| over 7/12 to 8/12 | 1.5 feet |
| over 8/12 to 9/12 | 2.0 feet |
| over 9/12 to 10/12 | 2.5 feet |
| over 10/12 to 11/12 | 3.25 feet |
| over 11/12 to 12/12 | 4.0 feet |
| over 12/12 to 14/12 | 5.0 feet |
| over 14/12 to 16/12 | 6.0 feet |
| over 16/12 to 18/12 | 7.0 feet |
| over 18/12 to 20/12 | 7.5 feet |
| over 20/12 to 21/12 | 8.0 feet |
GAS VENT OFFSETS TABLE

Note: The vertical rise can also be closely estimated by adding one “A” and one “B” dimension to Maximum Offset figures. (See page 8 for “A” and “B” dimensions of Round Adjustable 45° Elbows.)
This table is used to determine the offset produced by two Selkirk 45° elbows set at the maximum angle of 45°. Also shown are the offsets produced by introducing various lengths between the two elbows.
Maximum Offset in Inches
| Vent Size | With Two 45° Elbows Only | One 12″ Length | One 18″ Length | One 24″ Length | One 3′ Length |
| 10″ | 7-1/4″ | 15″ | 19-1/4″ | 23-1/2″ | 32″ |
| 12″ | 7-1/4″ | 15″ | 19-1/4″ | 23-1/2″ | 32″ |
| 14″ | 8-1/2″ | 16.1/4″ | 20.1/2″ | 24-3/4″ | 33-1/4″ |
| 16″ | 9.1/4″ | 17″ | 21-1/4″ | 25-1/2″ | 34″ |
| 18″ | 10″ | 17.3/4″ | 22 | 26.1/4″ | 34-3/4″ |
| 20″ | 10-1/4″ | 18″ | 22-1/4″ | 26-1/2″ | 35″ |
| 22″ | 10-1/4″ | 18″ | 22-1/4″ | 26-1/2″ | 35″ |
| 24″ | 11-1/4″ | 19″ | 23-1/4″ | 27-1/2″ | 36″ |
| 26″ | 12″ | 19-3/4″ | 24 | 28-1/4″ | 36-3/4″ |
| 28″ | 12-3/4″ | 20-1/2″ | 24-3/4″ | 29″ | 37-1/2″ |
| 30″ | 13-1/2″ | 21-1/4″ | 25-1/2″ | 29-3/4″ | 38-1/4″ |
Warranty
“SMART CHOICE” LIMITED LIFETIME WARRANTY
Selkirk Corporation, (“Selkirk”, “we”, “us”, “our”) warrants our residential Chimney & Venting products (* defined below) to be free from defects in material and workmanship. For products installed after January 1, 2009, for a period of Ten (10) years from original installation, we will provide replacement product with a similar or like quality of available Selkirk product, free of charge, excluding any installation costs. From the Eleventh (11) through Fifteenth (15) years, we will provide replacement product at a cost of 75% off the published Retail Price in effect on the date the claim is received, excluding any installation costs. At expiration of the Fifteen (15) year term, we will provide replacement product at a cost of 50% off the published Retail Price in effect on the date the claim is received excluding any installation costs. This warranty coverage is non-transferable and applies exclusively to the original consumer.
PROFESSIONAL INSTALLATION:
If installation is performed by Professional Installers certified in Canada by WETT or APC or in the USA by NFI or CSIA, we will provide replacement product with a similar or like quality of available product, free of charge (excluding any installation costs) for the full Fifteen (15) years from the date of original installation.
To be eligible for this additional warranty the consumer must provide a proof of installation by a Professional Installer when submitting a claim.
LIMITATIONS:
BUYER’S REMEDIES ARE LIMITED TO REPAIR OR REPLACEMENT OF THE PRODUCT AND DO NOT INCLUDE INSTALLATION COSTS. EXCEPT AS SET FORTH HEREIN, ALL OTHER WARRANTIES (EXPRESS OR IMPLIED, INCLUDING THE WARRANTIES OF MERCHANTABILITY AND FITNESS FOR A PARTICULAR PURPOSE) ARE HEREBY DISCLAIMED. IT IS AGREED THAT THIS SHALL BE THE SOLE AND EXCLUSIVE REMEDY OF THE BUYER. IN NO EVENT SHALL WE BE LIABLE FOR ANY CONSEQUENTIAL, SPECIAL OR PUNITIVE DAMAGES ARISING DIRECTLY OR INDIRECTLY FROM THE USE OF THE PRODUCTS WHETHER BASED ON WARRANTY, CONTRACT NEGLIGENCE, OR STRICT LIABILITY.
ALL LENGTHS, TEES, ELBOWS, AND COMPONENTS SUPPLIED BY US ARE SUBJECT TO WARRANTY COVERAGE. PRODUCT SUPPLIED BY US AS REPLACEMENT FOR ORIGINAL MATERIAL WILL BE SUBJECT TO A ONE-YEAR WARRANTY COVERAGE WITH THE EXCEPTION OF SAF-T PIPE WHICH IS SUBJECTED TO A 5 YEAR LIMITED WARRANTY COVERAGE FROM DEFECTS IN MATERIAL OR WORKMANSHIP WHEN PROPERLY INSTALLED PURSUANT TO THE MANUFACTURER’S INSTALLATION INSTRUCTIONS AND APPROPRIATE CODES.
WARNING: FAILURE TO INSTALL OR OPERATE PRODUCTS ACCORDING TO THE MANUFACTURER’S INSTRUCTIONS, OR FAILURE TO USE PRODUCTS WITH RESIDENTIAL APPLIANCES THAT HAVE BEEN CERTIFIED AT AN ACCREDITED LABORATORY WILL VOID ALL APPLICABLE WARRANTIES.
THIS WARRANTY DOES NOT COVER:
(a) any non-stainless base tee unit mounted or connected to an Insulated Chimney system;
(b) costs (labor or otherwise **) associated with either removing a previously installed product, installing a replacement product, transportation or return of a product, or transportation of replacement product;
(c) damage to the finish of products caused by the use of improper solvents/chemicals or improper (or lack of) cleaning methods;
(d) damage resulting from normal wear and tear or failure to reasonably clean, care for, or maintain products in accordance with our installation instructions/ recommendations;
(e) damage (to products, appliances or structure) based on or resulting from improper installation or repair, misuse or abuse (including, but not limited to, excessive or improper operating condition), or alteration or adjustment other than in conformity with our installation instructions and specifications, whether performed by a contractor, service company, technician, or yourself;
(f) any products that have been moved from their original installation site;
(g) damage caused by burning driftwood, garbage, or any other prohibitive material that has been burned in the appliance served by the chimney;
(h) damage that results from accidents such as fire, flood, high winds, “acts of God”, or any other contingency beyond our control.
** Due to the wide variance in installation practices and other conditions beyond our control, except as stated above, we do not guaranty or in any way warrant the installation of Chimney and Venting products.
CLAIM PROCEDURE: If you believe that a product is defective, notify us in writing at:
| SELKIRK CANADA CORPORATION 950 South Service Road Second Floor Stoney Creek ON L8E 6A2 ATTN: WARRANTY CLAIMS 1.888.735.5475 www.selkirkcorp.ca | SELKIRK CORPORATION 5030 Corporate Exchange Blvd. SE Grand Rapids, MI 49512 ATTN: WARRANTY CLAIMS 1.800.433.6341 www.selkirkcorp.com |
Notification should include a description of the product, model, and serial number (if applicable) and a description of the product defect. Upon receipt of a written claim under this limited warranty and evidence of the date of purchase or installation, at our option and in our sole discretion, we will provide replacement product with similar or like quality of available product excluding any installation costs. We reserve the right to inspect or investigate any warranty claims prior to determining whether to provide replacement product. If, as determined by us, that repair or replacement of the product is not commercially practicable or cannot be completed in a timely manner, we may refund the prorated purchase price paid for the product upon verification by providing a copy of your invoice or receipt of bill of sale.
*Selkirk products covered under this warranty: AFCL, ALT, BV (SD, MD, LD), DFS, DSP, DT, DWC/SWC, E, EFC, FC (JSC), GT, GTL, OV, PL, QC, R, RF, RV, SAF-T PIPE, SC (JM), SFCL, SPR, SPV, ST, U1, UPP, UT, UTL, VP, WV.


MODEL R
For training, detailed product information, downloadable catalogs and installation instructions visit our website:
selkirkcorp.com![]() | selkirkcorp.ca![]() |
Selkirk Corporation 4460 44th Street S.E., Suite F Grand Rapids, MI 49512 phone: 1.800.992.VENT (8368) email: [email protected] | Selkirk Canada Inc. P.O. Box 526, Depot 1 Hamilton, ON L8L 7X6 phone: 1.888.SELKIRK (735.5475) email: [email protected] |
Complete Linecard
![]()
*Some exceptions apply
© 2022 Duravent Group. All rights reserved.
SMRTBGVLD-E
OCT-2022


















