
Operating Instructions
(Household) Nail Care
Model No: ES‑WC20
Before operating this unit, please read these instructions completely and save them for future use.

Thank you for choosing Panasonic Nail Care.
Please read all instructions before use.
Safety Precautions
WARNING
- Keep the appliance dry.

The symbol on the left means “Do not
wash the product with water”. - Terminate the usage when there is abnormality or failure.
– Continued use of the Nail Care may cause fire, electric shock, or other injuries. - Keep out of the reach of toddlers and infants.
– Failure to do so may result in accidents or accidental ingestion of the accessories or removable of small parts.
CAUTION
- Do not use except on nails.
- Do not use this appliance if you have weak nails.
Do not use this appliance if you have a disease of the nails or finger tips, damaged cuticles, or any other problem in the region of your nails.
– Use of the appliance may result in injury. - Do not over-file or over-polish your nails.
- Do not press too hard on the cuticles.
– Failure to observe this advice may result in injury. - Do not disassemble the battery or throw it into a fire. The supply terminals are not to be short-circuited.
– Doing so may result in burns or injury. - Do not drop the Nail Care or subject it to impact.
– Doing so could result in injury or malfunction. - Never alter the appliance. Also, do not disassemble or repair it.
– Doing so may cause unexpected accidents or trouble. Contact the store where you purchased the appliance or authorized service center for repair. - Always follow the cautions printed on the battery.
- Check the polarity of the battery (+ and -) and install it correctly.
- Remove the battery immediately when it is discharged.
- Remove the battery when not using the appliance for an extended period of time.
- Use the battery by the recommended use-by date.
- The non-rechargeable battery is not to be recharged.
– Failure to do so may cause overheating or explosion of the battery, injury, or contamination of surroundings due to leakage. - Do not use the appliance when the top surface of the attachment is dirty or when water or hand cream adheres.
– This may result in nails losing their shine or a reduction in the attachment lifetime. - Do not apply any force strong enough to prevent the attachment from moving.
– Doing so may result in malfunction. - Do not immerse the Nail Care in water or get it wet.
– Doing so may result in malfunction. - Never use thinners, benzine, or alcohol to clean the Nail Care since it may cause malfunction or cracking/discoloration of the parts. Clean using a mild detergent.
- This appliance is not intended for use by persons (including children) with reduced physical, sensory or mental capabilities, or lack of experience and knowledge unless they have been given supervision or instruction concerning the use of the appliance by a person responsible for their safety. Children should be supervised to ensure that they
do not play with the appliance.
Parts identification(Fig.1)
A. Protective cap
B. Main body
1 Battery cover
2 Power switch [0/1]
3 Attachment insertion part
C. Filing attachment
D. Cuticle care attachment
E. Polishing attachment (Coarse) (pink)
F. Polishing attachment (Finishing) (white)
G. Replacement polishing seal (finishing) (1 piece)
Installing or replacing the battery
• Make sure the power switch is in the “0” position.
- Rotate the battery cover in the direction of the arrow, and align the marks. (Fig. 2)
- Remove the battery cover. (Fig. 3)
- Insert the battery. (Fig. 4)
• Be careful to insert the battery with + and ‑ correctly oriented. - Rotate the battery cover in the direction of the arrow, and align the marks. (Fig. 5)
Notes
- You can use the appliance for approximately 1 month with the Panasonic AA (LR6) alkaline battery. (When using once a week, 25 minutes at a time)
(The power and number of possible uses will vary according to the batteries.) - Use only an AA (LR6) alkaline battery.
- Please dispose of the used battery appropriately.
Use
Using the Nail Care
Steps to achieve a good finish
Step1: Filing ![]()
You can create 45-degree nail tips that are less likely to separate.
Frequency of use: once a week
- Attach the filing attachment.

- Slide the power switch to the “1” position to turn the appliance on.
- Touch the attachment against the nail from the inner side at a 45‑degree angle to the surface.

- Shape the nail.
• When you are shortening a long nail, first cut the nail using nail nippers, nail clippers, etc.

Step 2: Cuticle care ![]()
You can keep your nails healthy, make them look longer, and create beautiful lines.
Frequency of use: once every 10 days to 2 weeks
- Attach the cuticle care attachment.
- With the power switch in the
“0” position, press the attachment against the cuticle.
• Before caring for your cuticles, we recommend softening them by taking a bath or soaking your fingers in lukewarm water.
• If used with the power switch in the “1” position, the attachment may press too hard on the cuticle and cause bleeding.
• Pressing too hard on the cuticle may result in roughness on the new nail.
Step 3: Polishing (coarse) ![]()
Smooth surface roughness.
Frequency of use: twice a month
- Attach the polishing attachment (Coarse).

- Polish the entire surface of the nail with the file.
• You can achieve a better finish by placing your fingers on a table.
• If you have thick and rough nails, take care to smooth the surface sufficiently.
• If you have thin nails, take care not to overuse the appliance or press too hard.
Step3: Polishing (finishing) ![]()
Smooth the surfaces.
Frequency of use: once a week
- Attach the polishing attachment (Finishing).

- Polish the nail, pressing firmly with the file.
• Move the appliance horizontally and laterally with respect to the nail, polishing the entire surface.

After use
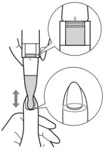
- Slide the power switch to the “0” position to turn the appliance off. (Fig. 6)
- Attach the protective cap.
• Attach so that
the mark on the protective cap aligns with the specified line (a) on the back surface of the appliance.
Seal lifespan
The frequency of replacement of the seals will differ depending on factors such as nail condition and the type of usage, but guidance is provided in the table below.
| Filing seal (2 per set) | Approximately 3 months when used once a week | |
| Polishing | Coarse (1 piece) | Approximately 3 months when used twice a month |
| Finish (1 piece) | Approximately 6 weeks when used once a week | |
Replacing seals(Fig.7)
- Peel off the seals you can no longer use.
- Remove the backing paper from the replacement seal.
- Apply the seal to the attachment.
• Wipe off any oiliness resulting from dirt, hand cream, etc. on the attachment, and apply the new seal.
Optional accessories
Replacement seal sets
(Model No. WES2C01)
| Set contents | Filing seals | 2 pieces | |
| Polishing seals | Coarse | 1 piece | |
| Finish | 2 pieces | ||
Specifications
| Model No. | ES‑WC20 |
| Power source | AA (LR6) alkaline battery x 1 (sold separately) |
Panasonic corporation
http://www.panasonic.com
Printed in china
ES9700WC203451 X0512-20820



• You can achieve a better finish by placing your fingers on a table.

















