Quality, Design and Innovation
Installation Guide
C5740IM Quality Design and Innovation Freezer
home.liebherr.com/fridge-manuals
Congratulations on the purchase of your new appli‐ance. With this purchase, you have chosen all the advantages of the latest refrigeration technology, guar‐anteeing you a high-quality appliance with a long life span and high operating safety.
The equipment of your appliance gives you the highest level of day-to-day ease of operation.
Together we are making an active contribution to the conservation of our environment by purchasing this appliance which is manufactured in an environmentally friendly process with the use of recyclable materials.
We hope you enjoy your new appliance.
The manufacturer is constantly working to improve all types and models. Therefore, please be aware that we reserve the right to make changes to the shape, equipment and technology.
| Symbol | Explanation |
| Read instructions Please read the information in these instructions carefully to understand all of the benefits of your new appliance. | |
| Check appliance Check all parts for transport damage. If you have any complaints, please contact your agent or customer service. | |
| Differences These instructions apply to a range of models, so there may be differences. Sections that apply to certain models only are indicated by an asterisk (*). | |
| Instructions and results Instructions are marked with a Results are marked with a | |
![]() | Videos Videos about the appliances are available on the YouTube channel of Liebherr-Hausgeräte. |
General safety instructions
– Please keep this assembly manual in a safe place so you can refer back to it at any time.
– If you pass the appliance on, please hand this assembly manual to the new owner.
– Read this assembly manual before installa‐tion and use in order to use the appliance safely and correctly. Follow the instructions, safety instructions and warning messages included at all times. They are important for ensuring you can operate and install the appliance safely and without any problems.
– First read the general safety instructions in the “General safety instructions” section of the operating instructions, which accom‐pany these installation instructions, and follow them. If you cannot find the oper‐ ating instructions, you can download the operating instructions from the internet by entering the service number at home.liebherr.com/fridge-manuals. The service number can be found on the serial tag:

– Observe the warning messages and other detailed information in the other sections when installing the appliance:
| DANGER | indicates a hazardous situation, which if not avoided, will result in death or serious injury. | |
| WARNING | indicates a hazardous situation, which if not avoided, could result in death or serious injury. | |
| CAUTION | indicates a hazardous situation, which if not avoided, will result in minor or moderate injury. | |
| NOTICE | indicates a hazardous situation, which if not avoided, could result in damage to property. | |
| Note | indicates useful advice and tips. |
Setup conditions
WARNING
Risk of fire due to moisture!
If live parts or the power cord get wet, this can cause a short circuit.
- The appliance is designed for use in enclosed spaces. Do not operate the appliance in open space or in damp areas or where there is spray.
Normal use
– Only set up and use the appliance in enclosed spaces.
2.1 Space
WARNING
Leaking refrigerant and oil!
Fire. The refrigerant contained within the appliance is environmentally friendly, but flammable. The oil contained within the appliance is flammable. Escaping refrigerant and oil can ignite if they are of high enough concentration and are exposed to an external heat source.
- Do not damage the pipelines of the coolant circuit and the compressor.
– If the appliance is installed in a very damp environ‐ment condensate water may form on the outside of the appliance.
Always make sure the installation area is well venti‐lated. .
– The more refrigerant there is in the appliance, the larger the space it is installed in must be. If the space is too small, any leak may create a flammable mixture of gas and air. For every 8 g (0.02 lb) size of the installation space must be at least 1 m3 (35.5 ft3 ). Specifications on the refrigerant in the appliance can be found on the serial tag plate inside the appliance.
2.1.1 Installation surface
– The floor of the installation site must be horizontal and level.
– The height of the appliance base must be the same as the surrounding floor.
2.1.2 Installation position
– Do not install the appliance in direct sunlight or next to an oven, heater, or similar heat source.
– Always stand the appliance backed directly to the wall using the enclosed wall spacers (see below).
2.2 Fitting the appliance into the kitchen unit
The appliance can be built into kitchen cabinets.
| (1) Top cupboard* (2) Appliance* (3) Kitchen cabinet* (4) Wall* | (B) Door depth* (C) Ventilation crosssection* (D) Distance to the rear of the appliance* (E) Distance to the side of the appliance* |
(A) Appliance depth*
Set up the appliance directly next to the kitchen cabinet Fig. 1 (3).*
There must be a ventilation shaft at the depth Fig. 1 (D) of the back of the top cupboard over the entire width of the top cupboard.*
The cross section of the ventilation gap Fig. 1 (C) must be maintained below the ceiling.*
If the appliance is installed with the hinges next to a wall Fig. 1 (4), the distance between the appliance and the wall must be at least 13 mm (0.51 in).*
In order to be able to fully open the door, the appliance must protrude by the depth Fig. 1 (B) of the door from the front of the kitchen cabinet. Regardless of the depth of the kitchen cabinets Fig. 1 (3) and use of wall spaces, the appliance can protrude further.*
| A* | B* | 0* | D* | E* |
| 675 mm 26.57 inx | 75 mm 2.95 in | Min. 300 cm2 (46.5 in2) | Min. 50 mm (1.97 in) | Min. 13 mm (0.51 in) |
Appliances without handle / with recessed grip

| (1) Top cabinet* (2) Appliance* (3) Kitchen cabinet* (4) Wall* | (B) Door depth* (C) Ventilation crosssection* (D) Distance to the rear of the appliance* (E) Distance to the side of the appliance* |
(A) Appliance depth*
Set up the appliance directly next to the kitchen cabinet Fig. 2 (3).*
There must be a ventilation shaft at the depth Fig. 2 (D) of the back of the top cupboard over the entire width of the top cupboard.*
The cross section of the ventilation gap Fig. 2 (C) must be maintained below the ceiling.*
If the appliance is installed with the hinges next to a wall Fig. 2 (4), the distance between the appliance and the wall must be at least 57 mm (2.24 in). This is how far the handle protrudes when the door is open.*
In order to be able to fully open the door, the appliance must protrude by the depth Fig. 2 (B) of the door from the front of the kitchen cabinet. Regardless of the depth of the kitchen cabinets Fig. 2 (3) and use of wall spaces, the appliance can protrude further.*
| A* | B* | 0* | D* | E* |
| 675 mm 26.57 inx | 75 mm 2.95 in | Min. 300 cm2 (46.5 in2) | Min. 50 mm (1.97 in) | Min. 57 mm (2.24 in) |
Appliances with lever handle
Ensure that the following conditions are met:
– Recess dimensions are adhered to.
– Ventilation requirements are complied with (see 4 Ventilation requirements).
2.3 Setting up multiple appliances
NOTICE
Risk of damage caused by water condensate!
- Do not install this device directly beside another fridge/freezer compartment.
These appliances are designed for different types of installation. Only combine appliances if the appliances are designed for this. The following table shows the installation options by model:
| Setup type | Model |
| Single | All models |
| Side-by-Side (SBS) | Model that start with S…. |
| Side-by-side with a distance of 70 mm (2.76 in) between appliances Otherwise condensa- tion will build up between the units. | All models without side wall heating![]() |
2.4 Electrical connection
WARNING
Danger of fire due to incorrect positioning!
If the power supply cable or plug touches the back of the appliance, the vibration can damage the power supply cable or the plug resulting in a short circuit.
- Make sure the power supply cable is not trapped under the appliance when you position the appliance.
- Install the appliance so that it does not touch any plugs or power cables.
- Do not connect any appliances to sockets in the area of the back of the appliance.
- Do not place and operate power strips/power distributors and other electronic devices (such as halogen transformers) at the back of the appliances.
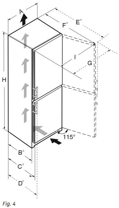
Installation dimensions

| H | A | B | C | D | I | G | F | E | |
| C57401M | 2015 mm 79.33 in | 597 mm 23.5 in | 611 mm 24.06 inx | 675 mm 26.57 inx | — | 846 mm 33.31 in | — | 1178 mm 46.38 inx | — |
| SC7520 | 1655 mm 65.16 in | 747 mm 29.41 in | 611 mm 24.06 inx | 675 mm 26.57 inx | 719 mm 28.31 inx | 1059 mm 41.69 in | 1096 mm 43.15 in | 1314 mm 51.73 inx | 1322 mm 52.05 inx |
| C7540IM | 1655 mm 65.16 in | 747 mm 29.41 in | 611 mm 24.06 inx | 675 mm 26.57 inx | 719 mm 28.31 inx | 1059 mm 41.69 in | 1096 mm 43.15 in | 1314 mm 51.73 inx | 1322 mm 52.05 inx |
| SC7541IM | 1655 mm 65.16 in | 747 mm 29.41 in | 611 mm 24.06 inx | 675 mm 26.57 inx | 719 mm 28.31 inx | 1059 mm 41.69 in | 1096 mm 43.15 in | 1314 mm 51.73 inx | 1322 mm 52.05 inx |
| C7620 | 1855 mm 73.03 in | 747 mm 29.41 in | 611 mm 24.06 inx | 675 mm 26.57 inx | — | 1059 mm 41.69 in | — | 1314 mm 51.73 inx | — |
x For appliances with supplied wall spacers, the dimensions must be increased by 15 mm (0.59 in) (see 7 Mounting wall spacers).
Ventilation requirements
NOTICE
Risk of damage due to overheating in the case of insufficient ventilation!
In the case of insufficient ventilation, the compressor can be damaged.
- Make sure there is sufficient ventilation.
- Observe the ventilation requirements.
If the appliance is integrated in a fitted kitchen, the following ventilation requirements must be met:
– The spacing fins on the back of the appliance are used to ensure sufficient ventilation. These must not lie in cavities or recesses in their final installation position.
– Basically, the larger the ventilation gap, the more energy the appliance saves during operation.
Transporting the appliance
- On initial setup: Transport the appliance in its packaging.
- When transporting after initial setup (e.g. relocation): Transport the appliance unloaded.
- Transport the appliance upright.
- Use two people when transporting the appliance.
Unpacking the appliance
If the appliance is damaged check with the supplier immediately before connecting it.
- Check the appliance and packaging for damage during transport. If you suspect any damage, please contact your supplier immediately.
- Remove all materials that could prevent it from being installed properly or prevent proper ventilation from the back or the side panels of the appliance.
- Remove all protective films from the appliance. Do not use sharp or pointed objects for this.
Mounting wall spacers
The spacers must be used in order to reach the declared energy consumption levels as well as to avoid the formation of condensate water at high levels of ambient humidity. These will extend the depth of the appliance by approx. 15 mm (0.59 in). The appliance is fully functional if the spacers are not used, but it will consume slightly more energy.
- If wall spacers are supplied with an appliance, these wall spaces must be mounted on the left and right of the back of the appliance.

Setting up the device
CAUTION
Risk of personal injury!
- Have two people move this appliance into place.
WARNING
Unstable appliance!
Risk of injury and damage. The appliance can tip over.
- Secure the appliance according to the operating instructions.
WARNING
Danger of fire and damage!
- Do not place devices that give off heat, e.g. microwaves, toasters, etc. on the appliance.
Make sure that the following requirements are fulfilled:
- Only move the appliance when it is not loaded.
- Only set up the appliance when someone is present to help you.
Setting up the appliance level
CAUTION
Risk of injury or damage from the appliance tipping or the door falling open!
If the additional adjustable foot on the base support is not correctly positioned on the floor, there is a risk of the door falling open or the appliance tipping. This can lead to injury or property damage.
- Unscrew the additional adjustable foot on the support until it reaches the floor.
- Then turn it another 90°.
- Align the appliance so that it stands firmly and by applying the accompanying spanner to the adjustable height feet (A) and using a spirit level.
- Then prop up the door:
Lower the adjustable foot on the bearing bracket (B) until it contacts the floor, then turn it an additional 90°. - Then prop up the door: Screw out the adjustable foot on the bearing bracket (B) using the open-ended wrench SW10 until it comes into contact with the floor, then turn an additional 90°.

After setup
- Pull off the protective film from the outside of the housing.
- Remove all transport packaging.
- Clean the appliance .
- Make a note of type (model, number), appliance designation, appliance/serial no., date of purchase, and dealer address in the designated fields.
Disposal of packaging
WARNING
Danger of suffocation from packaging materials and films!
- Do not allow children to play with packaging materials.
The packaging is made from recyclable materials:
– Corrugated card/cardboard
– Parts made of foamed polystyrene
– Films and bags from polyethylene
– Packing bands from polypropylene
– Wood frame nailed together with a polyethylene window*
- Take the packaging material to an official collection point.
Explanatory symbols used
![]() | There is the risk of injury when doing this! Obey the safety instructions! |
| These instructions apply to several models. Only perform this step if it applies to your appliance. | |
| To install, please follow the detailed description in the Guide. | |
| This section applies either to a single-door appliance or a doubledoor appliance. | |
| Choose one of the options: Appliance with right-hinged door or appliance with left-hinged door. | |
| Installation step necessary with IceMaker and/or InfinitySpring. | |
| Loosen or tighten screws slightly. | |
| Tighten the screws fully. | |
| Check to see if the next step applies for your model. | |
| Check the components are in correctly. | |
| Measure the specified measurement and adjust if necessary. | |
| Installation tool: Meter stick | |
| Tool for assembly: Cordless screwdriver and attachments | |
| Tool for assembly: Spirit level | |
| Tool for assembly: Size 7 and size 10 spanner | |
| Two people are required for this step. | |
| This step takes place at the selected location of the appliance. | |
| Aid for assembly: String | |
| Aid for assembly: Square | |
| Aid for assembly: Screwdriver | |
| Aid for assembly: Scissors | |
| Aid for assembly: Non-permanent marker pen | |
| Accessory kit: Remove components | |
| Dispose of components that are no longer needed. |
Reversing the door
Tools
![]()
WARNING
Danger of injury due to door falling out!
If the bearing parts are not screwed on tightly enough, the door may fall out. This can result in serious injuries.
In addition, the door may not close causing the appliance to cool improperly.
- Screw the bearing brackets/bearing pins on tightly using 4 Nm (3 lb-ft) .
- Check all screws and retighten them if necessary.
NOTICE
Risk of damage to side-by-side appliances caused by condensate!*
Certain appliances can be set up as side-by-side combinations (two appliances beside one another).
If your appliance is a side-by-side appliance:
- Install the SBS combination in accordance with the accompanying sheet.
If the configuration of appliances is specified: - Do not change the door stop.

Observe the reading direction.
13.1 Removing the top door
Note
- To prevent food items from falling out, take all food out of the door racks before removing the door.

- Open the door.
NOTICE
Risk of damage!
If the door seal is damaged the door may not close properly and the level of cooling is insufficient.
- Do not damage the door seal with the screwdriver!
- Remove the outer cover. Fig. 7 (1)
- Disengage and release the bearing bracket cover.
Remove the bearing bracket cover. Fig. 7 (2) - Unlatch the panel with a slotted screwdriver and swivel it to one side. Fig. 7 (3)

CAUTION
Risk of injury if the door tips out!
- Keep a steady grip on the door.
- Set the door down carefully.
- Carefully remove the protective cover.
Fig. 8 (1) - Loosen the bolts slightly with a T15 screwdriver.
Fig. 8 (2) - Hold the door and remove the bolts with your fingers. Fig. 8 (3)
- Pull the bearing bush out of the guide. Insert from the other side and latch into place. Fig. 8 (4)
- Lift the door and place it to one side.
- Carefully lift the plugs out of the door bearing bush with a slotted screwdriver and remove them. Fig. 8 (5)
13.2 Removing the bottom door

- Pull out the bolts upward. Fig. 9 (1)
- Swing the door out, pull it upward and set it aside.
Fig. 9 (2)
CAUTION
Risk of injury if the door tips out!
- Keep a steady grip on the door.
- Set the door down carefully.
13.3 Moving the upper bearing parts to the other side

- Remove both screws with a T20 screwdriver.
- Lift and remove the bearing bracket.

- Take off the cover to the front from above. Fig. 11 (1)
- Rotate the cover 180° and clip onto the other side from the right. Fig. 11 (2)
- Latch the cover into place. Fig. 11 (3)
- Position the upper bearing bracket. Fig. 11 (4)
- Insert the screw with a T20 screwdriver and tighten it. Fig. 11 (5)
- Insert the screw with a T20 screwdriver and tighten it. Fig. 11 (6)
13.4 Moving the central bearing parts to the other side

- Remove the washer. Fig. 12 (1)
- Remove the screws with the T20 screwdriver.
Fig. 12 (2) - Remove the cover carefully. Fig. 12 (3)
- Screw the bearing bracket and the film rotated 180° firmly onto the other side. Fig. 12 (4)
- Attach the cover rotated 180° onto the other side.
Fig. 12 (5) - Push the washer in from the front. Fig. 12 (6)
13.5 Moving the lower bearing parts to the other side

- Lift the bearing pin completely upward and remove it. Fig. 13 (1)
- Remove the screws with the T20 screwdriver and take off the bearing bracket. Fig. 13 (2)

- Loosen the screw using a T25 screwdriver. Fig. 14 (1)
- Lift the door closing aid and turn it 90° to the right in the hole. Fig. 14 (2)
- Tighten the screw using the T25 screwdriver.
Fig. 14 (3)

- Take off the cover. Fig. 15 (1)

- Place the bearing bracket on the other side and screw it in using the T20 screwdriver. Start with screw 2 at the bottom in the middle. Fig. 16 (2)
- Screw in screws 3 and 4. Fig. 16 (3,4)
- Insert the bearing pin completely. Make sure that the latching lug is pointing to the rear. Fig. 16 (5)

- Put back the cover on the other side. Fig. 17 (1)
13.6 Moving the door bearing parts to the other side
Bottom door

- Underside of door faces upwards: Turn the door.
- Push the lug downward with a slotted screwdriver.
Fig. 18 (1) - Pull the door latch out of the guide. Fig. 18 (2)
- Push the door latch into the guide on the other side.
Fig. 18 (3) - Upper side of door faces upwards: Turn the door.
Top door

- Underside of door faces upwards: Turn the door.
- Push the lug downward with a slotted screwdriver.
Fig. 19 (1) - Pull the door latch out of the guide. Fig. 19 (2)
- Pull out the guide bush: Press the lug with a slotted screwdriver and, at the same time, insert the slotted screwdriver under the guide bush. Fig. 19 (3, 4)
- Slide the guide bush included in the scope of supply to the other side of the housing. Fig. 19 (5)
- Push the door latch into the guide. Fig. 19 (6)
- Upper side of door faces upwards: Turn the door.
13.7 Moving the handles to the other side*

- Pull off the cover. Fig. 20 (1)
- Remove the screws with the T15 screwdriver.
Fig. 20 (2) - Remove the handle. Fig. 20 (3)
Reversing the door
- Carefully lift up the side plugs with a slotted screwdriver and pull them out. Fig. 20 (4)
- Insert the plugs again on the other side. Fig. 20 (5)

- Position the handle on the opposite side. Fig. 21 (1)
- The screw holes must be exactly above each other.
- Tighten the screws using the T15 screwdriver.
Fig. 21 (2) - Position the covers on the side and push them on.
Fig. 21 (3) - Ensure that they latch into place correctly.
13.8 Fitting the bottom door

- Carefully lift up the plugs with a slotted screwdriver and pull them out. Fig. 22 (1)
- Insert the plugs again on the other side of the door.
Fig. 22 (2) - Position the door from above onto the lower bearing pins. Fig. 22 (3)
- Insert the center bearing pin through the center bearing bracket into the bottom door. Make sure that the latching lug is pointing to the rear. Fig. 22 (4)
13.9 Fitting the top door

- Place the door on the center bearing pins.
- Align the top of the door with opening in the bearing bracket.
Fig. 23 (1) - Insert the bolt and tighten with a T15 screwdriver.
Fig. 23 (2) - Fit the protective cover to protect the door: Insert the protective cover and check that it lies flush on the door. If not, insert the bolt fully. Fig. 23 (3)
- Insert the plugs. Fig. 23 (4)
13.10 Aligning the doors
WARNING
Danger of injury due to door falling out!
If the bearing parts are not screwed on tightly enough, the door may fall out. This can result in serious injuries.
In addition, the door may not close causing the appliance to cool improperly.
- Screw the bearing brackets on tightly using 4 Nm (3 lb-ft) .
- Check all screws and retighten them if necessary.
- Align the doors flush with the appliance housing using the two slots in the lower bearing bracket and center bearing bracket if needed. To do this undo the middle screw in the bottom bearing bracket with the T20 tool supplied. Undo the remaining screws a little with the T20 tool or with a T20 screwdriver and align via the slots. Undo the screws in the middle bearing bracket with the T20 tool and align the middle bearing bracket via the slots.
- Prop up the door: Screw out the adjustable foot on the bearing bracket using the open-ended wrench SW10 until it comes into contact with the floor, then turn an additional 90°.
13.11 Fitting the covers
For appliances without soft stop mechanism:

The door is open 90°.
- Position the bearing bracket cover and engage it. If necessary push it apart carefully.
Fig. 24 (1) - Position the panel on the side and latch into place.
Fig. 24 (2)
- Slide on the outer cover. Fig. 25 (1)
- Close the upper door. Fig. 25 (2)
Water connection*
WARNING
Electricity and water!
Electric shock
- Before connecting to the water hose: Disconnect the appliance from the mains.
- Before connecting to water lines: Shut off the water supply.
- The drinking water connection may only be carried out by a qualified gas and water installer.
WARNING
Contaminated water!
Poisoning.
- Connect to potable water supply only.
The appliance’s water connection and inlet solenoid valve are suitable for a water pressure of up to 1 MPa (10 bar).
Specifications for proper operation (flow rate, ice cube size, noise level):
Water pressure:
| bar | psi | MPa |
| 1.5 to 6.2 | 21.76 to 87.02 | 0.15 to 0.62 |
If the pressure exceeds 0.62 MPa (6.2 bar): Connect a pressure reducer.
Make sure that the following conditions are met:
- The water pressure is correct.
- Water is supplied to the appliance via a cold water pipe that can withstand the operating pressure and is connected to the drinking water supply.
- A 1/4″ OD copper pipe is used to connect the water supply to the solenoid valve. This is not supplied with the appliance.*
- A connector between the R3/4 connection thread and the 1/4″ OD copper pipe is supplied with the appliance.*
- There is a filter with a seal in the copper pipe connector. The filter with a seal is included in the scope of delivery.*
- There is a water valve between the copper pipe and the domestic water connection in order to be able to cut off the water supply if necessary.*
- The water valve is located away from the back of the appliance and is easily accessible so that the appliance can be pushed far back as possible and the water valve can be quickly closed if required. The correct clearances are maintained.
- All equipment and devices used for the water supply comply with the applicable regulations in the country of use.
- The back of the appliance is accessible so that you can connect the appliance to the drinking water supply.
- Do not damage or kink the hose when setting up the appliance.
Connecting the water supply*

Connect the coupler to the appliance
- Remove cap Fig. 26 (1) from solenoid valve Fig. 26 (2).
- Insert coupler Fig. 26 (3) into union nut Fig. 26 (4).
NOTICE
Improper installation of water filter Fig. 26 (5)!
Damage to the water filter.
- Insert the filter with the recess pointing towards the coupler.
- Insert water filter Fig. 26 (5) with the recess pointing down towards coupler Fig. 26 (3).
NOTICE
Overtightened union nut!
Damage to the thread.
- Screw the union nut manually on to the thread until it is tight and secure.
- Attach union nut Fig. 26 (4) to solenoid valve Fig. 26 (2) and tighten.
Water connection at 90°: Connect the water pipe to the angle piece
- Screw on angle piece Fig. 26 (6).
- Connect water pipe Fig. 26 (7) (e.g. copper) to angle piece Fig. 26 (6) using clamp ring Fig. 26 (8) and nut Fig. 26 (9).
- Attach water pipe Fig. 26 (7) to the housing if possible, using the clip bracket.
Straight water connection: Connect the water pipe to the coupler
- Put angle piece Fig. 26 (6) to one side.
- Connect water pipe Fig. 26 (7) (e.g. copper) to coupler
Fig. 26 (3) using clamp ring Fig. 26 (8) and nut Fig. 26 (9). - Attach water pipe Fig. 26 (7) to the housing if possible, using the clip bracket.
- Connect the water pipe to the water valve.
Check the water system
- Slowly open the water valve of the water supply.
- Check the entire water system for leaks.
Connecting the appliance
WARNING
Incorrect connection!
Risk of fire.
- Do not use an extension cord.
- Do not use a multipoint connector strip.
NOTICE
Incorrect connection!
Damage to the electronics.
- Do not connect the appliance to a stand-alone inverter, e.g. solar power systems and petrol generators.
Note
Only use the mains cable supplied.
- A longer mains cable can be ordered from Customer Service.

For appliances with a width of 600 mm (23.62 in):*
| a* | b* | c* | d* | G* |
| ~ 1800 mm (70.87 in) | ~ 1400 mm (55.12 in) | ~ 2100 mm (82.68 in) | ~ 200 mm (7.87 in) | Appli-ance plug |
For appliances with a width of 750 mm (29.53 in):*
| a* | b* | c* | d* | G* |
| ~ 1725 mm (67.91 in) | ~ 1325 mm (52.17 in) | ~ 2100 mm (82.68 in) | ~ 200 mm (7.87 in) | Appli-ance plug |
Make sure that the following requirements are fulfilled:
– The type of current and voltage at the installation site complies with the information on the serial tag .
– The socket is grounded and fused in accordance with regulations.
– The tripping current for the fuse is between 10 and 16 A.
– The socket is easily accessible.
– The socket is not located behind the appliance but in areas a or b Fig. 27 (a, b, c).
- Check the electrical connection.
- Insert the appliance plug Fig. 27 (G) on the rear side of the appliance. Ensure that they latch into place correctly.
- Connect the mains plug to the power supply.
- The Liebherr logo appears on the screen.
- The display switches to the standby symbol.
* Depending on model and options
home.liebherr.com/fridge-manuals
Combined fridge-freezer
Issue date: 20230131
For Service in the U.S.: Liebherr Service CentToll Free: 1-866-LIEBHER or 1-866-543-2437
[email protected]
PlusOne Solutions, Inc.
3501 Quadrangle Blvd, Suite 120
Orlando, FL 32817
Part number index: 7082928-00
For Service in Canada: Liebherr Service Center
Toll Free: 1-888-LIEBHER or 1-888-543-2437
www.euro-parts.ca
EURO-PARTS CANADA
39822 Belgrave Road, Belgrave, Ontario, N0G 1E0
Phone: (519) 357-3320 | Fax: (519) 357-1326






















