LIEBHERR ICNh 5173 Integrated Fridge Freezer 
The manufacturer works constantly on the further development of all the types and models. Therefore please understand that we have to reserve the right to make design, equipment and technical modifications.
To get to know all the benefits of your new appliance, please read the information contained in these instructions carefully.
The instructions apply to several models. Differences may occur. Text relating only to specific appliances is marked with an asterisk (*).
Instructions are marked with a , and results are marked with a .
General safety instructions
- Only install, connect and dispose of the appli-ance according to the instructions.
- The socket must be easily accessible so that the appliance can be quickly disconnected from the supply in an emergency. It must be outside the area of the rear of the appliance.


Installation conditions
WARNING
Fire hazard due to dampness!
If live parts or the mains lead become damp this may cause short circuits.
- The appliance is designed for use in enclosed areas. Do not operate the appliance outdoors or in areas where it is exposed to splash water or damp conditions.
Intended use
- Install and use the appliance in indoor spaces only.
- Use the appliance only once installed.
Location
WARNING
Fire hazard due to refrigerant!
The coolant used is eco-friendly but also flammable. Any leaking coolant may ignite.
- If the appliance is installed in a very humid environment, condensation can build up on the outside of the unit. Always make sure the installation location is well ventilated .
- The more coolant there is in the appliance, the larger the room in which the appliance is installed must be. If the room is too small, any leak may create a flammable mixture of gas and air. For each 8 g of coolant the installation space must be at least 1 m3. Information on the coolant is on the model plate inside the appliance.
Supporting floor
- The floor of the installation site must be horizontal and even.
- If the floor is not entirely even, the kitchen cabinet housing the appliance must be levelled with support blocks.
Positioning
- Do not install the appliance in direct sunlight, next to an oven, radiator or similar.
- Only fit the appliance into solid kitchen units.
Installing multiple appliances
NOTICE
Risk of damage due to condensate!
- Do not install the appliance directly alongside a further refrigerator/freezer.
NOTICE
Risk of damage due to condensation!
- Do not install the appliance directly above another refriger-ator or freezer.
These appliances are designed for a variety of installation options. Combine appliances only if the appliance is suitable. The following table shows the installation options by model:
Mains connection
WARNING
Risk of fire due to short circuit!
If the mains cable/connector of the appliance or of another appliance touch the rear of the appliance, the mains cable/connector may be damaged by the appliance vibrations, leading to a short circuit.
- Stand the appliance so that it is not touched by connectors or main cables.
- Do not plug the appliance or any others into sockets located near the rear of the appliance.
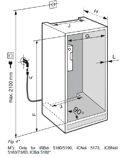
Appliance dimensions 
Recess dimensions
4 Recess dimensions
Internal dimensions 

The specified energy consumption applies to a unit depth of 560 mm. The appliance will work properly at a unit depth of 550 mm, but at a slightly higher energy consumption.
- Check the wall thickness of adjacent cabinets: It must be min. 16 mm.
- Only fit the appliance into stable, solid kitchen units. Secure the unit against tipping.
- Align the cabinets with a spirit level and a try square. If necessary level them by putting something underneath them.
- Ensure that the floor and the side panels of the cabinet are at right angles to each other.
Ventilation requirements
WARNING
Blocked ventilation openings pose a risk of fire and damage!
Always keep the ventilation openings clear. Always ensure that the appliance is properly ventilated!
Always follow the required ventilation gaps:
- The depth of the ventilation shaft at the back of the cabinet must be at least 38 mm.
- At least 200 cm2 is required for the ventilation gap cross sections in the plinth and the housing cabinet.
- As a rule, the bigger the ventilation space the more effi-ciently the appliance can run.
Sufficient ventilation is required for the operation of the appli-ance. The provided ventilation grids ensure an effective ventila-tion gap on the appliance of 200 cm2. If you replace the ventila-tion grids with a panel this must have the same size or larger ventilation gap than the grid provided by the manufacturer.
Transporting the appliance
- Transport the appliance only in suitable packaging.
- Transport the appliance upright.
- Do not transport the appliance on your own.
Unpacking the appliance
Before you connect the appliance, report any damage immedi-ately to the delivery company.
- Check the appliance and the packaging for damage during transport. Contact the supplier immediately if you suspect any level of damage.
- Remove all materials from the back or the side walls of the appliance that may prevent proper installation or ventilation.
- Remove all protective films from the appliance. Do not use sharp or pointed objects for this.
- Take the power cable from the rear of the appliance. Remove the cable brackets when you do this, otherwise there will be noise caused by vibrations!
Setting up the appliance
CAUTION Risk of injury!
- The appliance must be transported to its place of installation by two people.
WARNING Risk of tipping
- The appliance must be fixed in accordance with the instruc-tions in order to prevent a hazard caused by the instability of the appliance.
WARNING
Fire hazard and danger of damage!
Do not place appliances emitting heat e.g. microwaves, toasters etc. on the appliance!
If possible, have the appliance installed in the kitchen unit by a professional.
Do not install the appliance on your own.
After installation
- Remove all transport safety components.

- Remove the red transport safety device.

- Clean the appliance (see User Guide, Cleaning the appli-ance).
Disposing of packaging
WARNING
Danger of suffocation due to packing material and plastic film!
- Do not allow children to play with packing material.
The packaging is made of recyclable materials:
- corrugated board/cardboard
- expanded polystyrene parts
- polythene bags and sheets
- polypropylene straps
- nailed wooden frame with polyethylene panel*
Take the packaging material to an official collecting point.
What the symbols mean
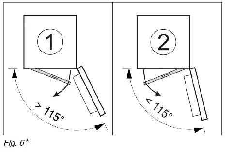
freezer compartment door 
freezer compartment door
The **** freezer compartment door can be easily moved when-ever changing the door hinge. If the door of the refrigerator can be opened more than 115° (1), the freezer compartment can also be opened without changing the hinge. If the opening angle (2) of the appliance door is less than this, the door hinge must be repositioned.

Moving the door hinge
The slider for moving the door hinge is located on the back of the **** freezer compartment door at the bottom.
- Close the **** freezer compartment door (1).
- Grab the **** freezer compartment door from below.
- Slide the slider (2) either to the right or to the left.
Reversing the door Tool
NOTICE
Live parts
Damage to electrical parts
- Before changing the door hinge, disconnect the plug at the mains.

- Removing the soft stop damper: Remove the soft stop damper from the ball stud (1). Unscrew the retainer (2). Remove the ball stud with a screwdriver (3).

- Remove covers.

- Loosen the screws on all hinges but do not remove them.

- Removing the door: Push the door forward and then out, unhang it and put it to one side.

- Unscrew all hinges and set aside together with the screws.

- Loosen and shift the bracket at the top and bottom of the door. The bracket must be shifted so you can screw on the hinges.
Connecting the water supply 
- Shift the screws to fasten the hinge. Do not screw tightly after shifting – you need to hang the hinges later.

- Move the fixing bracket to the opposite side.

- Turn all hinges 180° to the opposite side and screw firmly.

- Refitting the door: Hang the door with its hinges and tighten the screws.

- Refitting the closing dampers: Screw in the ball studs (1), tighten the bracket (2) and hang the closing dampers in the ball studs.
- Check all screws and retighten if necessary.

- Reassemble the bottom and centre cover. Only replace the remaining covers after installing the appliance back into the cabinet.
Connecting the water supply
Connecting the hose to the appliance
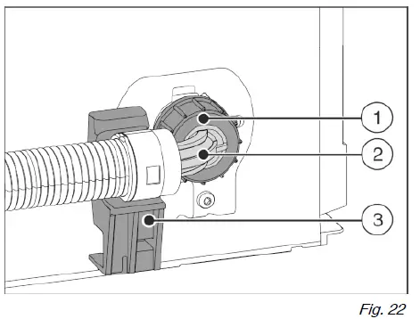
The solenoid valve is at the bottom on the back of the appli-ance. It has a R3/4 connecting thread. 

- Hold the angled hose end Fig. 22 (2) horizontally at bracket Fig. 22 (3) and secure it.
- Screw the nut Fig. 22 (1) on by hand until it is firmly in place. Connecting the hose to the stopcock
- Connect the straight end of the hose Fig. 21 (4) to the stop-cock Fig. 21 (5) .
- Check the water system
- Slowly open the stopcock.
- Before putting into its final position:
- Check the entire water system for tightness.
- After installing in the recess:
- Clean the IceMaker (see User Guide, Maintenance). Air the water system
Airing is required in the following cases:
- Initial operation
- Replacement of the InfinitySpring water tank
- Ensure that the following conditions are met:
- Appliance is properly installed and connected.
- Water tank is inserted (see Operating instructions, Mainte-nance).
- Water filter is inserted (see Operating instructions, Mainte-nance).
- Appliance is switched on.
- Open the appliance door.
- Press your drinking glass or cup against the lower part of the InfinitySpring dispenser.
- Continue until the water flows evenly into the glass.
- There is no more air in the system.
- InfinitySpring Cleaning (see the User Guide, Maintenance).
Installing the appliance in the recess
Tool 


- Remove the power cable from the package and plug it into the back of the appliance. Use a cable lug to lay the power plug cord to the accessible socket.

- If necessary, install the water connection at this point, following the instructions in the User Guide.

- Insert the adapter panel on the top of the appliance. The panel can be moved to both sides.

- Insert the appliance 2/3 of the way into the recess.

- Assemble the mounting bracket. Attach the mounting brackets to align with the cabinet door handles. If the door is large use four mounting brackets in total. After assembly, fold the covers onto the bracket.

- Check that the unit side wall is 16 mm or 19 mm thick.

- If unit walls are 16 mm thick: Clip a spacer on all hinges. No spacer is required if unit walls are 19 mm thick.

- Use a screwdriver to loosen the cover at the top left and remove it.
Installing the appliance in the recess 
- Loosely tighten the mounting bracket screw. The bracket should still be easy to move.

- Insert the appliance all the way into the unit recess. The adjustable feet must rest in the recesses in the brackets on both sides.

- Remove the stopper on the mounting bracket base. Loosen the stopper by moving it and, if necessary, pull it off with the help of pliers.

- Check that the appliance is flush against the cabinet recess. The mounting bracket must be attached to the side wall of the cabinet recess.

- With 16 mm unit side walls, the spacers fit against the unit recess on the hinge side.

- With 19 mm unit side walls, the front sides of the hinges are positioned flush against the front of the unit side wall.

- If necessary, use the adjustable feet to correct the tilt of the appliance.

- Screw on the appliance on the hinge side.

- Move the bracket so it sits flush on the side wall of the cabinet recess. Tighten all screws securely.

- Remove the stop from the bracket on the handle side and dispose of it.

- Put covers into position.

- Slide the panel so that it sits flush on the side of the cabinet wall.

- The trim is magnetic. Place the trim below the top cover and press. If necessary, shorten the trim to the required length with a sharp pair of scissors.

- The height adjustment is only supplied as standard for recess heights of 140 cm and above. It is used for sound optimisation. Both parts of the height adjustment are included in the accessory kit.
- To stabilise the appliance at the back underneath: Fit the handle onto the rail of the height adjustment and push the rail into the appliance base. Remove the handle and do the same with the second rail.

- Close the door and check the preset 8 mm from the upper edge of the appliance door to the crosspiece support

- Push the assembly aids to the unit door height. Lower stop edge of the assembly aid = upper edge of the door to be assembled.

- Loosen the counter nut and remove the crosspiece.

- Hang the crosspiece on the inside of the unit door and make sure it is central.

- Fix the crosspiece using at least 6 screws for chipboard doors and at least 4 screws for panel doors.

- Remove the fitting aids, turn round and insert into the adja-cent opening.

- Clip the cover on the crosspiece on the handle side.

- Attach the unit door and loosely screw the lock nuts onto the adjusting bolts.

- Align the unit door in the X and Y direction using the adjusting bolts.

- Screw on the counter nuts and check the height.

- Check the gap between the door and the surrounding custom panels. For unit fronts thicker than 19 mm, take account of the dimensions and advice in the chapter Unit fronts.

- Open the cover to fit the mounting bracket on the custom panel. Align the front edge of the mounting bracket parallel with the custom panel edge and screw the bracket down tightly. Fold up the cover.

- Align the custom panel in the Z direction: Loosen the adjusting screw on the crosspiece and the screw on the mounting bracket, then move the door.

- Check the distance between the unit door and the unit body. Check all screws and retighten if necessary.

- Clip the top cover on.
Cabinet fronts
- Adjust the tread, cut it to length and place it between the cabinet door and the appliance door.
- Check the following points to make sure the appliance is installed correctly. Otherwise, icing up, the formation of condensate and malfunctions may occur:
- The door must close properly.
- The unit door must not touch the body of the unit.
- The seal on the upper corner on the handle side must be fitted securely.
Dimensions
Depending on your model, you will need one or two cabinet doors. The size of the cabinet door(s) depends on the overall recess size and cabinet unit thickness.
Note
Observe the appliance and recess dimensions and follow the installation diagrams (see 3 Appliance dimensions)(see 4 Recess dimensions) . See the relevant catalogue for the installation diagrams.
General requirements:
- Please refer to our catalogues for appliance-specific recom-mendations on size and weight for fixed door installations.
- The cabinet unit thickness should be at least 16 mm and no bigger than 19 mm.
- When mounting a 2-door cabinet door, observe the recom-mended clearances.

Another cabinet door above, below or next to it:
- Vertical gap between cabinet doors must be 4 mm.
- Horizontal gap between cabinet doors must be 4 mm. Check the collision factors here (see 15.3 Setting the clearance to avoid collision) .
Weight and hinges:
- Heavy cabinet fronts increase the stress on the hinge. The hinge may be damaged. As such, refer to the catalogue for the maximum weight specification for your appliance.
- If the cabinet front exceeds the maximum permitted weight, an appliance with door-tracking device can help by loading the weight over several concealed hinges on the cabinet.
- If you have long cabinet fronts that protrude a long way above the appliance, we recommend an additional door hinge (e.g. Kamat), which by design has the same pivot point as the fixed door hinge used by Liebherr appliances. Using an additional hinge (Kamat) loads the weight over multiple points. We recommend using a milled adapter fitting for high cabinet fronts to counteract any dragging (convex/concave).
- The cabinet front must be installed symmetrically to the refriger-ator door.
- The adjoining cabinet front is exactly level.
- The adjoining cabinet front has the same edge radius as the front of the appliance.
- Cabinet front is flat and tension-free.
- Cabinet front is adjusted to a minimum depth of approx.2 mm to the unit body.
- Fit the appliance into the recess (see 14 Installing the appli-ance in the recess) .
- Attach the cabinet front to the appliance door (see 14 Instal-ling the appliance in the recess) .
- Check the cabinet front does not collide with anything (see 15.3 Setting the clearance to avoid collision) .
Setting the clearance to avoid
collision
After installing the cabinet front(s), check that the cabinet fronts do not collide.
- Front thickness (FD)
- Edge radius (R)
- Clearance (S)

Note
When making adjustments, always make sure that the cabinet front suits the general appearance.
Check the collision factors and adjust them accordingly:
- Determine the front thickness and edge radius.
- Refer to the table for the min./max. clearance dimensions.
- Check the clearance size against the table.
- Do one of the following depending on the measured clear-ance size.

Water tank
Depending on your model, the InfinitySpring water tank is behind the lowest drawer in the fridge or BioFresh compart-ment
Inserting the water tank 
- Remove the drawer compartment.
- Insert the water tank and rotate approx. 90° clockwise until it clicks in.
- Check that the tank is sealed and no water leaks out.
- Insert the drawer compartment.
- Vent the water system (see the Installation Instructions, Water Connection)
- Instead of the water filter you can insert an additional water tank.
- Note
You can purchase this water tank as an optional extra.
Connecting the appliance
WARNING Failure to connect properly Fire hazard.
- Do not use an extension cable.
- Do not use distributor blocks.
NOTICE
Failure to connect properly Damage to the electronics.
- Do not use a standalone inverter.
- Do not use an energy saving plug.
Connecting the appliance
Note
Only use the power connection lead supplied.
- A longer power connection lead can be ordered from Customer Service.
Ensure that the following conditions are met:
- The type of current and voltage at the installation site complies with the information on the type plate .
- The socket is earthed according to the regulations and fused.
- The fuse tripping current is between 10 and 16 A.
- The socket is easily accessible.
- The socket is outside the back of the appliance area in the specified area (a, b, c) .
- Check the electrical connection.
- Insert the appliance plug (G) into the back of the appliance. Ensure that it clicks into place.
- Connect the power plug to the power supply.
- The Liebherr logo appears on the screen.
- The display switches to the standby symbol.
home.liebherr.com/fridge-manuals
built-in fridges and freezers, fixed door












































































