CREATIVE SBS E2500 2.1 High Performance Bluetooth Speaker

Overview

/ SOURCE Button
/
Next Track / Next FM Station Button
/ FM SCAN Button
/
Previous Track / Previous FM Station Button- LED Display

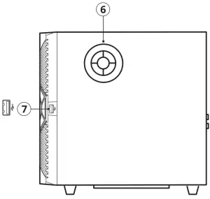
- Subwoofer Port Tube
- USB Port

- FM Antenna Port
- AUX-in Port
- Left Satellite
- Right Satellite
- AC Power Port
- FM Antenna
Operating Creative SBS E2500
To Power On / Off Speaker
- Speaker is in “Standby” mode when power supply is switched on and when the LED Display shows “_ _ _ _”. Exit “Standby” mode by pressing the “
” button on the subwoofer or dedicated “ ” button on the remote control. Press and hold “
” button on the subwoofer or dedicated “
” button on the remote control again to re-enter “Standby” mode.
To Switch between Sources
- Press the “
” button on the subwoofer or dedicated buttons on the remote control once to cycle through sources – “AUX / USB / FM / BT”. (“AU” stands for AUX input; “Ub” stands for USB; “F and 8B7.5” stand for FM radio mode and FM channel; “bt” stands for Bluetooth connectivity).
| Button | |||||
| Action | Press once | Press and hold | Press once | Press and hold | |
| Inputs | AUX-in | Vol – / Vol + | Mute | ||
| USB | Track Selection Previous / Next | Vol – / Vol + | Play / Pause | ||
| FM Tuner | Channel Selection Previous / Next | Vol – / Vol + | Mute | Automatically Search for FM Radio Stations | |
| Bluetooth | Track Selection Previous / Next | Vol – / Vol + | Play / Pause | Initiate Bluetooth Pairing | |
Infrared Remote Control

- Power On / Standby Mode
- Mute: Press once to turn volume off. Press once again to turn volume on.
- 0–9 Numeric Keypad: Use the keypad to select desired track or stored FM radio stations. Press the button to play selected track / FM station
- AUX-in: Switch system’s source to AUX input
- USB: Switch system’s source to USB Playback
- FM: Switch system’s source to FM Radio
- Bluetooth: Switch system’s source to Bluetooth
- Volume +: Increase Volume
- Previous Track / FM Station
- Volume -: Decrease Volume
- Next Track / FM Station
- Play / Pause / FM Auto Scan: Press once to automatically search for FM radio stations (Available in FM mode only)
- EQ / Tune -: Select between Normal, Classic, Pop, Jazz, Rock, Country equalizer modes (Available in Bluetooth and USB
Mode only) and to manually tune FM radio channels (in FM mode only) - Repeat / Tune +: Press once to toggle between the following modes: Repeat All, Repeat Once, Repeat Off. (in USB mode only) Press to manually tune FM radio channels (in FM mode)
- In USB mode, press “
” button to skip to next track, “
” to skip to previous track and “
” button to play or pause playback. To select a song, press on the 0–9 numeric keypad, and then the “
” button to confirm playback. - In FM mode, press and hold “
” to automatically search for FM radio stations. Press “
” or “
” to toggle between saved FM radio stations. - Press “TUNING + / -” to manually search for FM radio stations step-by step. Press and hold “TUNING + / -” to search for next available channel. Once found, the FM radio station will automatically play.
- In Bluetooth mode, voice and front-LED Display cues will prompt to initiate Bluetooth Pairing mode. By default, the system will search for last paired device (if available) while still remaining discoverable as long as the speaker system is not connected to any Bluetooth device.
- Power-saving feature: Press and hold the “0” button for 10s to turn OFF or ON European’s Energy-related Product (ErP) feature. (“E-ON” stands for ErP turned on; “EOFF” stands for ErP turned off).
Technical Specifications
Bluetooth® Version: Bluetooth 5.0
Operating Frequency: 2402–2480 MHz
Operating Range: Up to 10m / 33 ft
Supported Bluetooth Profiles: A2DP (Wireless Stereo Bluetooth), AVRCP (Bluetooth Remote Control)
Supported Codec: SBC
Supported Audio Formats (USB Mass Storage Device*): MP3
Input: 110–230V 50 / 60 Hz 340 mA
Speaker Power:
– 7.5W RMS per channel (2 channels)
– 15W RMS subwoofer
– Total: 30W
– Peak: 60W
Frequency Response: 50–20,000 kHz
SNR: ≥ 75 dB
FM Radio Scanning Frequency: 87.5–108 MHz
RF Output Power: < 4 dBm
USB Output: 5V ⎓ 130 mA
Operating Temperature: 0–40°C
* Up to 32 GB (max) FAT16 and FAT32
Equalizer settings are available during Bluetooth and USB Mass Storage Device playback only
Safety instructions
Please read the following before using the product:
- Use only approved mains plug supported in your country or region
- Detach mains plug from socket to ensure complete disconnection from the power supply
- If device will not be in use for over a week, please detach the mains plug from socket
Important Notice
The serial number for your Creative SBS E2500 is located on the subwoofer.
Please write this number down and keep it in a secure place.
Please visit creative.com/compliance/sbse2500 for the user guide, safety and regulatory information.
Please visit creative.com/support/sbse2500 for all other support related to your product.

References
Creative Labs (United States) | Sound Blaster Sound Cards, Super X-Fi, Speakers and Soundbars, Webcams, Headphones and Gaming Headsets
Creative Worldwide SupportSBS E2500
Creative Technology - Declaration of Conformity
Creative Worldwide Support - SBS E2500
Creative Labs (United States) | Sound Blaster Sound Cards, Super X-Fi, Speakers and Soundbars, Webcams, Headphones and Gaming Headsets
Creative Technology - Declaration of Conformity



















