CREATIVE SBS E2900 Bluetooth Speaker

Overview

Button- SOURCE Button
Button
Previous Track / Previous FM Station Button
Next Track / Next FM Station Button- LED Display
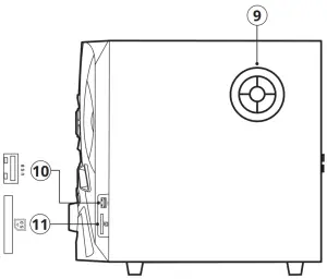
- Volume Control Knob
- LED Lights

- Subwoofer Port Tube
- USB Port
- SD Card Slot

- FM Antenna Port
- AUX-in Port
- Left Satellite
- Right Satellite
- AC Power Port
- FM Antenna
Hereby, Creative Labs Pte. Ltd. declares the Bluetooth Speaker
system, model no. MF0490 is in compliance with Directive 2014/53/
EU. The full text of the EU declaration of conformity is available at
http://www.creative.com/EUDoC
Operating Creative SBS E2900
To Power On / Off Speaker
- • Speaker is in “Standby” mode when power supply is switched on and the LED Display shows “_ _ _ _”. Exit “Standby” mode by pressing the “
” button. Press and hold “
” button to enter “Standby” mode again.
To Switch between Sources
• Press the “SOURCE” button once to cycle through sources – “BT / AUX / USB / SD Card / FM”.
(“bt” stands for Bluetooth connectivity; “AU” stands for AUX input; “Ub” stands for USB; “Sd” stands for SD Card input; “F and 87.5” stand for FM radio mode and FM channel).
| Button | ||||
| Action | Press | Press | Press and hold | |
| Inputs | Bluetooth | Track Selection Previous / Next | Play / Pause | Initiate Bluetooth Pairing |
| AUX-in | − | Mute | − | |
| USB / SD-in | Track Selection Previous / Next | Play / Pause | − | |
| FM Tuner | Channel Selection Previous / Next | Mute | Automatically Search for FM Radio Stations | |
Infrared Remote Control

- Power On / Standby Mode
- Mute: Press once to turn volume off. Press once again to turn volume on.
- Source: Press to cycle through sources – BT / AUX / USB / SD Card / FM
- LED: Press to toggle between Red / Blue / Purple color presets
- Tone: Press to adjust Bass & Treble settings by using VOL + / – buttons. Bass & Treble levels: – 6 (min) – +6 (max)
- Memory: Save favorite FM radio stations selected through manual FM tuning
- Tuning -: Manually decrease FM radio’s frequency
- Tuning +: Manually increase FM radio’s frequency, and to toggle between “Repeat Once, Repeat All, OFF” in USB Flash and SD Card Playback modes
- Volume+: Increase Volume
- Previous Track / FM station
- Play / Pause / FM Auto Scan
- Next Track / FM Station
- Volume- : Decrease Volume
- 0–9 Numeric Keypad : Use the keypad to select desired track or stored FM radio stations. Press the
button to play selected track / FM station
- In FM mode, press and hold “
” to automatically search for FM radio stations. - Press “TUNING + / -” to manually search for FM radio stations step-by step.
Press and hold “TUNING + / -” to search for next available channel. Once found, the FM radio station will automatically play. To save the FM channel, press the Memory button once. Press “
” or “
” to toggle between saved FM radio stations. - In USB and SD Card modes, press “TUNING +” to cycle through repeat mode – Repeat All / Repeat Once / Repeat Off.
- In Bluetooth mode, voice and front-LED Display cues will prompt to initiate Bluetooth Pairing mode.
By default, the system will search for the last paired device (if available) while still remaining discoverable as long as the speaker system is not connected to any Bluetooth device. - Power-saving feature: Press and hold the “0” button for 10s to turn OFF or ON European’s Energy-related Product (ErP) feature. (“E-ON” stands for ErP turned on; “EOFF” stands for ErP turned off).
Technical Specifications
Bluetooth® Version: Bluetooth 5.0
Operating Frequency: 2402–2480 MHz
Operating Range: Up to 10m / 33 ft
Supported Bluetooth Profiles: A2DP (Wireless Stereo Bluetooth), AVRCP
(Bluetooth Remote Control)
Supported Codec: SBC
Supported Audio Formats (USB Mass Storage Devices / SD Cards*): MP3
Input: 110–230V 50 / 60 Hz 700 mA
Speaker Power:
– 15W RMS per channel (2 channels)
– 30W RMS subwoofer
– Total: 60W
– Peak: 120W
Frequency Response: 50–20,000 kHz
SNR: ≥ 75 dB
FM Radio Scanning Frequency: 87.5–108 MHz
RF Output Power: < 4 dBm
USB Output: 5V ⎓ 200 mA
Operating Temperature: 0–40°C
*Supports up to 32 GB (max) FAT16 and FAT32
*Does not support SDXC memory cards
Safety instructions
Please read the following before using the product:
- Use only approved mains plug supported in your country or region
- Detach mains plug from socket to ensure complete disconnection from the power supply
- If device will not be in use for over a week, please detach the mains plug from socket
Important Notice
The serial number for your Creative SBS E2900 is located on the subwoofer.
Please write this number down and keep it in a secure place.
Please visit creative.com/compliance/sbse2900 for the user guide, safety and regulatory information.
Please visit creative.com/support/sbse2900 for all other support related to your product.

References
Creative Labs (United States) | Sound Blaster Sound Cards, Super X-Fi, Speakers and Soundbars, Webcams, Headphones and Gaming Headsets
Creative Worldwide SupportSBS E2900
Creative Technology - Declaration of Conformity
Creative Worldwide Support - SBS E2900
Creative Labs (United States) | Sound Blaster Sound Cards, Super X-Fi, Speakers and Soundbars, Webcams, Headphones and Gaming Headsets
Creative Technology - Declaration of Conformity




















