Rubyoung M430 Portable Bluetooth Speaker

WHAT IN BOX
Portable Bluetooth Speaker
- M430

BLUETOOTH PAIRING

AUX CONNECTING

POWER
NOTE
Speaker will go into sleep mode automatically after x hours without action. Switch off the speaker and then turn it back on to reactivate for use.
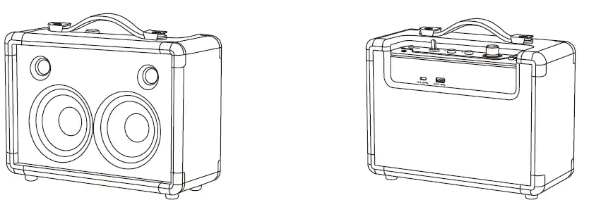
Key description

Troubleshooting
Technical Parameters
- Speaker Type: Portable Bluetooth Speaker with Built-in Battery
- Track: Stereo
- Power Rating: 60W
- Frequency Range: 55Hz~20KHz
- Speaker Unit: 4-Inch Ferrite Large Dynamic Woofers x2 + 0.75-Inch Silk Dome Tweeters x2
- Audio Input Interface: Bluetooth V5.1 / AUX 3.5mm Analog Input
- Bluetooth Encoding Format: AAC /SBC
- Power Input: DC 20V/3A (USB-PD)
- Charging Time: 150min
- Power Output: DC 5V/1A
- Playtime: maximum 70 hours (at standard volume)
- Volume: 280 X 120 X 210mm
- Weight: 3.3 Kg
Products purchased from authorized Rubyoung retailers enjoy limited-term warranty
FCC
Note:
This equipment has been tested and found to comply with the limits for a Class B digital device, pursuant to part 15 of the FCC Rules. These limits are designed to provide reasonable protection against harmful interference in a residential installation. This equipment generates, uses and can radiate radio frequency energy and, if not installed and used in accordance with the instructions, may cause harmful interference to radio communications. However, there is no guarantee that interference will not occur in a particular installation. If this equipment does cause harmful interference to radio or television reception, which can be determined by turning the equipment off and on, the user is encouraged to try to correct the interference by one or more of the following measures:
- Reorient or relocate the receiving antenna.
- Increase the separation between the equipment and receiver.
- Connect the equipment into an outlet on a circuit different from that to which the receiver is connected.
- Consult the dealer or an experienced radio/TV technician for help.
Any changes or modifications not expressly approved by the party responsible for compliance could void the user’s authority to operate the equipment.
This device complies with Part 15 of the FCC Rules. Operation is subject to the following two conditions:
- this device may not cause harmful interference
- this device must accept any interference received, including interference that may cause undesired operation






























