HUMANTECHNIK A33100 Vibrating Contraption

Thank you for purchasing the vibrating contraption! You have chosen an effective and reliable product.
Please read this user manual with care, so that you are able to correctly install and use the device.
Package contents
Please make sure that the following parts are included:
- vibrating contraption with power supply
- 8 x steel struts
- 8 x carriage bolts M6 x 30 mm
- 4 x washers for M6
- 4 x serrated washers for M6
- 4 x plastic washers for M6
- 4 x plastic sleeves
- 4 x self-locking nuts M6
- 4 x wingnuts M6
- user manual
- warranty card
Should any parts be missing, please immediately contact your dealer or the ma-nufacturer directly.
Safety advice
- Please read this manual thoroughly before using and putting the device into operation.
- Keep this user manual safe so that it is also accessible for other users at any time.
- Choose the laying of the cables so that there are no sharp bends and no danger of tripping or strangulation.
Function
The vibrating contraption is fixed to the mattress support or the frame of the bed. The vibrating contraption is activated the following way, according to the model:
- A-3310-0: by the signal of a Humantechnik alarm clock
- A-3311-0: by power supply activated by a programmable time switch or other power-switching devices.
Within the contraption, there is an electric motor with unbalanced mass. When ac-tivated, strong vibrations are generated by it which wake the sleeper up.
Assembly and installation instructions
The cvibrating contraption kann be fixed to the bed in several ways. The vast amount of different bed constructions makes it necessary to distinguish the best applicable method of fixation.
Fixation to a slatted frame:
Note: A 10 mm size wrench is needed for the assembly.
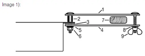
Remove the mattress from the bed and prop up the slatted frame, so that you are able to comfortably work on the underside of the frame. Image 1):
- Take one of the carriage bolts and put it through the end of one of the struts
- followed by a plastic sleeve
- Stick the bolt, together with the strut and sleeve, from the underneath into one of the fixation holes of the contraption housing. Put a plastic washer
- over the end of the bolt, add a second strut
- followed by a washer
- and a self-locking nut
- Do not tighten the the nut yet. Repeat until all four corners of the contraption are equipped with such fixation arms.

- Insert the struts into the slatted frame in such a way that two of the fixation arms hold one of the slats The vibrating contraption can by fixed length- or width-wise to the bed.
Thread a carriage bolt through the ends of both the struts of a fixation arm. Secure the bolt with a serrated washer - and a wing nut Repeat for all fixation arms. Align the contraption as desired and tighten all nuts.
Fixation to a spring frame:
Note: A 10 mm size wrench is needed for the assembly.
Remove the mattress from the bed and prop up the spring frame, so that you are able to comfortably work on the underside of the frame. Image 3):
- Take one of the carriage bolts and put it through the end of one of the struts
- followed by a plastic washer
- Stick the bolt, together with the strut and plastic washer from the underneath into one of the fixation holes of the contraption housing. Put a plastic sleeve
- over the end of the bolt, add a second strut
- followed by a washer
- and a self-locking nut
Do not tighten the the nut yet. Repeat until all four corners of the contraption are equipped with such fixation arms.
- Insert the struts into the spring frame in such a way that the ends of the fixation arms hold one of the springs
- The vibrating contraption can by fixed length- or width-wise to the bed.
Thread a carriage bolt through the ends of both the struts of a fixation arm. Secure the bolt with a serrated washer - and a wing nut Repeat for all fixation arms. Align the contraption as desired and tighten all nuts.
For use with box spring beds:
Position the vibrating contraption (without fixation arms) at a suitable location between the underlay and the topper mattress. nThe housing of the vibrating contraption is sufficiently strong to withstand the weight of the mattress.16
Direct fixation to the bed frame:
Note: For this fixation method, four wood screws (not included), a suitable screwdri-ver and means for marking the position are needed. Determine a position on the bed frame where the vibrating contraption can be screwed on securely and which also transmits the generated vibrations well to the mattress. Also consider the length of the vibrating contraption’s cable(s). Get convenient access to the selected location where you want to install the vibra-ting contraption. The steel struts and their fixing material are not needed for this type of installation. Image 5):
Select the length of the wood screws so that they do not puncture the other side of the bed frame when screwed in. Hold the housing in place and mark the position of the mounting holes on the bed frame. If necessary, prick or drill the marked points on the wood of the bed frame so that fixing the screws is easier during assembly. Screw the vibrating contraption to the bed frame.
Connecting the vibrating contraption:
The Humantechnik vibrating contraption is available in 2 variations:
Model A-3310-0 for direct connection to Humantechnik alarm clocks:
- This variant has two cables: One alarm clock connection lead with a 3.5 mm jack plug and one mains cable with a mains adapter.
- Connect the alarm clock connection lead to the AUX output of the alarm clock. Plug the adapter into a standard wall outlet. The vibrating contraption is now ready for use.
Note: Other Humantechnik devices, such as some receivers of the »lisa« and
- signolux« alerting systems, as well as telephones and other detectors such as
- iBell2« and »Mona«, also have AUX outputs to which the vibrating contraption can be connected.
Model A-3311-0 for connection to timed switches:
This variant has only one cable: a lead with a plug-in power supply unit. Plug the mains adapter into the socket of the timer. Set the timer according to the instructions of the respective manufacturer. App-controlled switching plugs can also be used. The vibration system is now ready for use.
Note: Make sure that the time for which it is switched on is not too long! It is imperative that you observe the following section »Overload protection«.
Overload protection
The vibrating contraption is equipped with an electronic safety measure that pro-tects the device from overload. This precaution expresses itself as follows:
After half an hour of continuous operation, the vibrating contraption enters a pha-se in which it alternately vibrates for a ½ second and pauses for 2 seconds. This phase ends after 1 hour, after which the vibration system switches itself off and a reset is required.
Attention:
- For the alarm clock version A-3310-0 merely a new signal of the alarm clock is sufficient for the reset and thus the further operation of the system.
- For the timer version A-3311-0, the mains plug must be disconnected from the power for at least 10 seconds before the system can be put back into operation.
Maintenance and care
The vibrating contraption is maintenance-free. If the unit is dirty, you can occasio-nally clean it with a soft, damp cloth. Never use alcohol, thinners or other organic solvents.
Attention:
The unit is not protected against ingress of water and other liquids. Do not place objects filled with liquids, e.g. vases, on, above or directly next to the unit. Also do not place any open fires and other heat sources, such as burning cand-les, on or directly next to the device.
Specifications:
- Power supply: plug-in power supply 100 – 240 V AC / 12 V DC, 1 A
- Working range: -10° C to 45° C
- Housing dimensions:
- Height: 52 mm
- Width: 74 mm
- Length: 165 mm
- Weight: 1380 g (incl. fixation arms)
- Length of mains cable: 160 cm
- Length of alarm clock cable: 190 cm (model A-3310-0 only)
This device complies with the requirements of the following EC directives:
- 2011 / 65 / EC RoHS-directive
- 2012 / 19 / EC WEEE-directive
- 2014 / 30 / EC EMC-directive
- 2014 / 35 / EC LVD-directive
Compliance with the directives listed above is confirmed by the CE seal on the device. CE compliance declarations are available on the Internet at www.humantechnik.com/service.
Warranty
The vibrating contraption is a very reliable product. Should a malfunction occur despite the unit having been set up and operated correctly, please contact your dealer or the manufacturer directly. This warranty covers the repair of the product and returning it to you free of charge. It is recommended that you send in the product in its original packaging, so keep the packaging for the duration of the warranty period. The warranty does not apply to damage caused by incorrect handling or attempts to repair the unit by people not authorised to do so (destruction of the seal on the unit) Repairs will only be carried out under warranty if the completed warranty card is returned accompanied by a copy of the dealer’s invoice/till receipt. Always specify the product number in any event.
Disposal: of used electrical and electronic units (applicable in the countries of the European Union and other European countries with a separate collection system). The symbol on the product or the packaging indicates that this product is not to be handled as ordinary household waste but has to be returned to a collecting point for the recycling of electrical and electronic units. You protect the environment and health of your fellow man by the correct disposal of this product. Environment and health are endangered by incorrect disposal. Material recycling helps to reduce the consumption of raw material. You will receive further information on the recycling of products from your local community, your communal disposal company or your local dealer.



















